G04/G04Q 工作头使用说明书.pdf - 第39页
QD157-06 5. 预防保养 G04/G04Q 工作头使用说明书 29 3. 使用尖头钳子,将过滤器从轴上取 出。 4. 使用气枪除去过滤器的灰尘等异物 。或者将过滤器浸泡在中性洗涤剂 中洗净。 备注 )将过滤器放入洗净用的网笼 (K1325C) 内。浸泡在放有中性洗涤剂的超声波洗净器内, 清洗 5 分钟。 5. 十分脏时,更换成新的过滤器。 6. 将过滤器插入轴内。安装时,过滤 器不要突出轴身。 7. 向下滑动过滤器盖罩,将其安装…

5. 预防保养 QD157-06
28 G04/G04Q 工作头使用说明书
5.4 每月 (700 小时)的作业
5.4.1 吸嘴头轴部的真空过滤器的清扫
关于洗净用网笼
在洗净吸嘴真空过滤器时,使用另外购买的网笼 (K1325C) 能够方便地操作。
方法
1. 拆下贴装工作头,将其放置在工作头维修保养平台 (AA0AM**) 上。(详细内容请参照各
机器的机械手册。
2. 在下降了吸嘴头轴 (Z 轴)的状态下,使用治具向上滑动盖罩。

QD157-06 5. 预防保养
G04/G04Q 工作头使用说明书 29
3. 使用尖头钳子,将过滤器从轴上取出。
4. 使用气枪除去过滤器的灰尘等异物。或者将过滤器浸泡在中性洗涤剂中洗净。
备注 )将过滤器放入洗净用的网笼 (K1325C) 内。浸泡在放有中性洗涤剂的超声波洗净器内,
清洗 5 分钟。
5. 十分脏时,更换成新的过滤器。
6. 将过滤器插入轴内。安装时,过滤器不要突出轴身。
7. 向下滑动过滤器盖罩,将其安装到原来的位置。
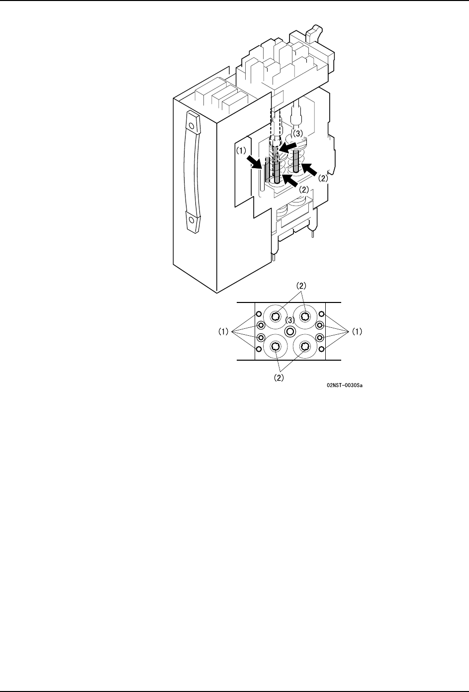
5.4.2 给贴装工作头加油
1. 拆下贴装工作头,将其放置在工作头维修保养平台 (AA0AM**) 上。(详细内容请参照各
机器的机械手册。
2. 使用棉棒在吸嘴头 (A,B,C,D) 的导轨 (1) 处薄薄地涂敷指定的润滑油。
3. 使用细毛刷在吸嘴头 (A,B,C,D) 的轴 (2) 和吸嘴切换轴 (3) 处薄薄地涂敷指定的润
滑油。
润滑油 加油处
Biral T&D (Sugai Chemical Industry) (1) 吸嘴头导轨 (A, B, C, D)
Daphne Exponex No.2 (出光) (2) 吸嘴头轴 (A, B, C, D)
(3) 吸嘴头切换轴

5. 预防保养 QD157-06
30 G04/G04Q 工作头使用说明书