JX-350说明书.pdf - 第415页
第 1 部 基本篇 第 4 章 制作生产程序 4-72 5 )吸嘴显示 显示吸嘴图像、吸嘴外形尺寸、适用元件尺寸。 6 )夹式吸嘴数据 ①抓取位置 “ Y ” 项,输入元件中心至夹式吸嘴固定侧手臂抓取面(紧贴面)中心的偏 移值(a) ,要输入负数。 “X” 项只可输入 0 ,不可输入其他数据。 ②水平间隙 夹式吸嘴固定侧卡头的固定臂面与元件之间的间隙( b ) ,要输入负数。 通常设置为自动输入的默认值。 ③吸取时吸嘴方向 指的是,吸取…

第 1 部 基本篇 第 4 章 制作生产程序
4-71
元件形状 动作 用途
灵活 2 从测量结果检测出元件的左右对称的轴,获取从
该轴至元件中心坐标偏移量,以及角度偏移量,
进行贴片补偿处理。元件尺寸就是,根据经上述
计算测量的角度偏移量,以实际元件角度 0°测
量结果为基础,判定的最大幅度 X・Y。
若是具有多个对称轴的元件
时,为了能够正确获取元件的
中心坐标,该形状为非常有效
(例:左图中「○」元件)。
此外,只有 1 根对称轴时,因
不能正确取得元件 Y 方向的
中心坐标,所以有可能发生贴
片偏移 (例:左图「△」元件)。
但是,因此种偏移量具有可再
现性,可以输入贴片偏移进行
使用。
元件没有对称性时,该形状无
效 (例:左图中「×」元件)。
灵活 3 使用元件最小幅宽附近的数据计算 XY 宽、偏移
量。取得元件 X 方向 1 边的倾斜角度。
异形元件
可识别很多的异形元件,但元
件的上下边带有弧形时,角度
偏移值会不稳定 (因为在获取
角度时,只能使用 1 边)。
不设置 根据吸取姿势按贴片角度转动并贴片。 用于激光定心不稳定的元件
(超出规格的极薄的元件)。此时
不进行定心而直接进行贴片。
因此贴片位置受吸取位置影
响。
注意
元件形状的初始值根据元件种类而定。一般情况下,如果改变算法
会导致错误发生率增大。因此除特殊情况外,请绝对不要变更。

第 1 部 基本篇 第 4 章 制作生产程序
4-72
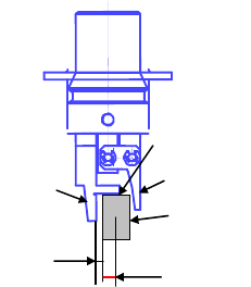
5)吸嘴显示
显示吸嘴图像、吸嘴外形尺寸、适用元件尺寸。
6)夹式吸嘴数据
①抓取位置 “Y”项,输入元件中心至夹式吸嘴固定侧手臂抓取面(紧贴面)中心的偏
移值(a),要输入负数。
“X”项只可输入 0,不可输入其他数据。
②水平间隙 夹式吸嘴固定侧卡头的固定臂面与元件之间的间隙(b),要输入负数。
通常设置为自动输入的默认值。
③吸取时吸嘴方向 指的是,吸取以 0 度状态供应的元件时的吸嘴方向。
请指定 0 度、90 度、180 度、270 度中的一项。
④吸取高度微调值 吸取时吸取高度的校正值(c 与元件上表面之间的间隙)。
通常,为了将元件保持水平,设为-0.5mm。
a
b
元件
c
固定臂
抓取位置(a)
摇 臂
水平间隙(b)

第 1 部 基本篇 第 4 章 制作生产程序
4-73
<使用夹式吸嘴时的设置项目>
除上述“吸嘴数据”外,夹式吸嘴的下述设置与通常的元件不同。
①使用新夹式吸嘴时,先通过「机器设置」中的“文件”/“读出吸嘴数据”,读入夹式吸嘴的信息。
②将吸嘴安装到 ATC 上。
将夹式吸嘴安装到 ATC 单元上,从正面看,夹式吸嘴的固定臂应在后面,摇臂应在近前。
安装大型夹式吸嘴至 ATC 单元,臂左右运动时,应安装成固定臂向右侧,摇臂向左侧的方式。
③设置元件数据。
a.设置吸嘴编号
吸嘴编号为 800 多号。
b.设置激光高度
指定从固定臂前端到激光面的距离。
设置基准:-(元件高度-3.5mm
※
)/2,根据引脚位置进行微调。
※ 从“c”至固定臂的距离=3.5mm
(例)元件高度为 5mm 时
-(5-3.5)/2 = -0.75mm
④设置吸取数据。
以夹紧部中心示教XY。由 于 Z是利用机器设置中已注册的吸嘴信息与元件高度自动计算的,因
此无需示教。
a
b
元件
c
固定臂
摇臂
水平间隙(b)
抓取位置(a)