M1serviceManual_j.pdf - 第13页
1.据付 1 - 5 ④ 水平出しの後、再度マウンタの搬送高さ(900±20mm または 950±20mm)が確保されて いるか確認します。確認後、アジャストフットのナットをロックします。 ⑤ ヘッドをX-Yシャフトに固定している固定具を取り外します。 ⑥ 電源コード、アースを接続します 。マウ ンタに ノイズの 影響を及 ぼす 恐れのあ る機器 とは、 必ず別系統で接続してください。 ⑦ マウンタ本体内部にあるフィルタレギュレータのエ…

1.据付 1-4
据付
電源が入っているときに、電気部品の端子等にさわらないでください。感電、装置の故
障などの危険があります。
警告
必ず本体のアースをとってください。感電、けがの恐れがあります。
警告
【手順】
① マウンタを、所定の場所に移動します。
② 基板の搬送高さが基準設備のコンベア高さ(900±20mm)になるように、アジャストフット
を回転させて調整します。SMEMA 規格対応の場合は、950±20mm にします。
900±20mm
または、
950±20mm(SMEMA 規格)
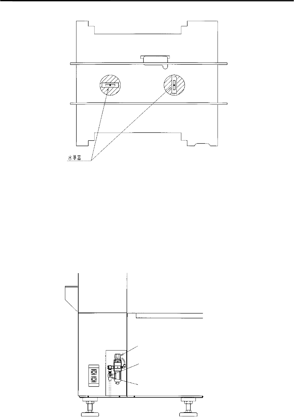
③ 水準器をベース部に置き、測定しながら前後・左右の水平が出るまで、微調整を行いま
す。

1.据付 1-5
④ 水平出しの後、再度マウンタの搬送高さ(900±20mm または 950±20mm)が確保されて
いるか確認します。確認後、アジャストフットのナットをロックします。
⑤ ヘッドをX-Yシャフトに固定している固定具を取り外します。
⑥ 電源コード、アースを接続します。マウンタにノイズの影響を及ぼす恐れのある機器とは、
必ず別系統で接続してください。
⑦ マウンタ本体内部にあるフィルタレギュレータのエアーカプラに、供給側エアカプラ 65SN
または、85SN(日東工器)相当品を下図の要領で接続します。配管後、フィルタレギュレ
ータの指示圧力が 0.49MPa(5 ㎏f/c ㎡) を示していることを確認してください。
フィルタレギュレータ
エアーカプラ
供給側エアーカプラ 65SN/85SN(日東工器)
相当品

1.据付 1-6
マウンタとローダの連結
マウンタの上流側にローダを設置する場合、基板の受け渡しを円滑にするためにローダ
とマウンタのコンベア部を近づけますが、これによりマウンタのコンベア部に取り付けられ
ている入口センサとローダが干渉してしまいます。そのため、入口センサの位置を変更す
ることが必要となります。
下図に示すように標準取付位置よりもマウンタの内側に移動します。移動後には、基板
がローダからマウンタへ円滑に送られるようにライン出しを行って下さい。
入口センサの標準取付位置とローダ連結時の位置を下図に示します。
入口センサ
ローダ連結時取付位置
入口センサ
標準取付位置
ローダフレーム
入口センサ
ローダラック