KE-2070_2080_InstructionManual_C_Rev01.pdf - 第795页
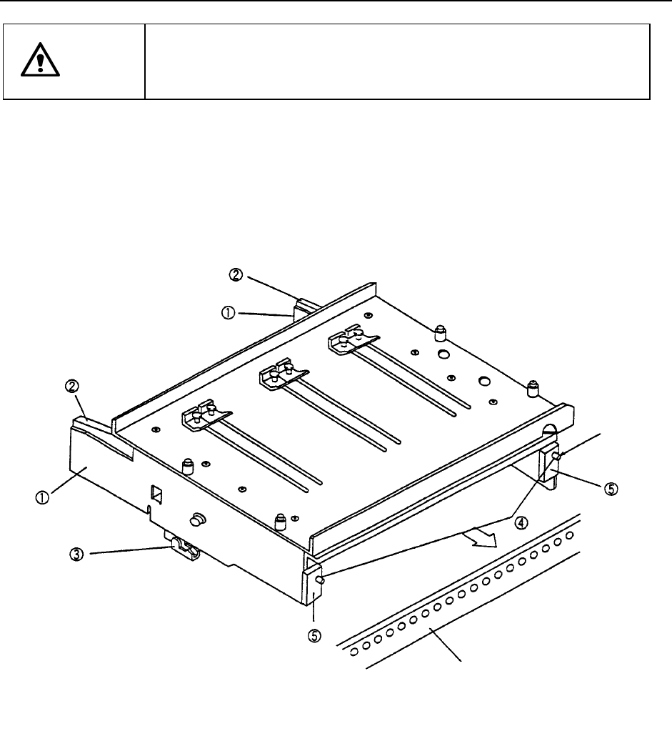
第2部 功能详细篇 第1 2章 选项元件 12-6 12-3 矩阵·托盘更换器(MTC)的设置方法 注意 为了防止意外启动引起事故,请切断电源后再进行操作。 12-3-1 安装方法 图 12-3-1 1) 从主机正面看 , 为了使 “MT C 滑梭部③” 进入右侧里 (后) 部的 “MTC 导盖①”中,从 后方移动“MTC 主机④” 。 2) 贴片机和 MTC 的位置关系如 图 12-3-3 所示。 把传送带轨道高度、基 准轨 道对准后…

第2部 功能详细篇 第12章 选项元件
12-5
12-2 矩阵·托盘支架的更换
注意
如在 XY 轴或贴片头正在动作时进行更换,托盘支架可能会接触到动作元件,
危及人身或损坏装置。
XY 轴和贴片头正在动作时,请绝对不要更换托盘支架。
请务必打开安全护罩后再进行更换。
1) 握住边板①和托盘锁紧杆②,打开锁紧支架③。
2) 在后侧送料器台的固定板上插入前面的销④。
3) 在销④插入且前板⑤顶住固定板的位置上,放开边板①和锁紧杆②,用锁紧支架③固定。
4) 拆卸时请按照相反的步骤进行。
图 12-2-1
基准销
①边板
②托盘锁紧杆
③锁紧支架
④销
⑤前板
固定板

第2部 功能详细篇 第12章 选项元件
12-6
12-3 矩阵·托盘更换器(MTC)的设置方法
注意 为了防止意外启动引起事故,请切断电源后再进行操作。
12-3-1 安装方法
图 12-3-1
1) 从主机正面看,为了使“MTC
滑梭部③”进入右侧里(后)
部的 “MTC 导盖①”中,从
后方移动“MTC 主机④”。
2) 贴片机和 MTC 的位置关系如
图 12-3-3 所示。
把传送带轨道高度、基准轨
道对准后请检查贴片机的贴
片头是否可移动到滑梭的吸
取位置上。
①
②
③
④
①MTC 导盖
②RUR 罩
③MTC 滑梭部
④MTC 主体
关于MTC的操作方法,请参照另册的使
用说明书。
注意:

第2部 功能详细篇 第12章 选项元件
12-7
3)主机右侧界面板上有“MTC 电源插头①”、“信号插头②”、“MTC 用气管接头”,请接上电线·气
管。
电缆和气管,请使用 MTC 附件。
图 12-3-2
① MTC用电源插头
② MTC用界面插头
③ MTC用φ6管取出口
①
②
③
注意: