NXT 安装手册.pdf - 第94页
3. 机器的安装 QD023-14 84 NXT 安装手册 4M 基座与真空泵 BOX 间 的导线 (R H2141*、 R H2142*、 RH21 43*) 请不要 穿入基座内部, 在外 部进行配线。 㧹 㧝㧠㧝 㧭 㧹 㧝㧠㧝 㧹㧿 㧟 㧯 㧺㧟 㧹㧿 㧟 㧯 㧺㧝 㧾㧴 㧞㧝㧠㧟 㧖 㧾㧴 㧞㧝㧠㧝 㧖 㧾㧴 㧞㧝㧠㧞 㧖 㧹㧿 㧝 㧯 㧺㧟 㧹㧿 㧝 㧯 㧺㧝 㧮㧯㧮㧯 㧺㧝㧤 㧯 㧺㧢 1;76(76E 㞾ゟ0 ᑻ…

QD023-14 3. 机器的安装
NXT 安装手册 83
㧯㧺㧞㧣㧮
㧯㧺㧞㧤#
㧯㧺㧞㧣$
䖲ࠄ㧵㧛㧲
㧯㧺㧞㧣
㧴㨁㧮
㧯㧴㧢
㧮㧾㧯㧺㧝
㧮㧸㧯㧺㧞
㧮㧾㧯㧺㧞
㧮㧾㧯㧺㧞
㧮㧸㧯㧺㧞
㧾㧴㧜㧡㧡㧥㧖
㧾㧴㧜㧡㧡㧤㧖
㧮㧸㧯㧺㧟
㧮㧾㧯
㧺㧟
㧮㧸㧯㧺㧟
㧾㧴㧜㧡㧢㧜㧖
㧮㧾㧯㧺㧟
㧮㧸㧯㧺㧠
㧮㧾㧯㧺㧟
㧾㧴㧝㧝㧢㧟㧖
㧾㧴㧜㧡㧤㧟㧖
㧾㧴㧜㧜㧢㧣㧖
㧾㧴㧝㧝㧤㧢㧖
㧾㧴㧝㧝㧤㧢㧖
㧯㧺㧙㧝
㧾㧴㧜㧡㧢㧞㧖
㧯㧺㧙㧞
㧯㧺㧙㧹㧝
㧯㧺㧙㧹㧝
㧯㧺㧙㧹㧞
㧾㧴㧞㧜㧝㧞㧖
NXTSET201Sc
#
$
%
&
'
(
)
*
+
㧾㧴㧜㧜㧣㧜㧖
㧾㧴㧜㧡㧤㧠㧖
㧾㧴㧜㧡㧤㧟㧖
㧾㧴㧜㧡㧞㧤㧖
䆒0ᑻ
㒘েջ䴶
ջⲪ
ߎॖᯊ䖲ᅠ↩
ߎॖᯊ䖲ᅠ↩
ᅮջ
⬉㓚ջ
ࠡᎹᑣ
⬉䏃ᵓᨀ䖤ֵো%.7
ৢᎹᑣ
⬉䏃ᵓᨀ䖤ֵো%.7
ߎॖᯊ䖲ᅠ↩
ߎॖᯊ䖲ᅠ↩
䗮䘧)
䗮䘧)
䗮䘧5
䗮䘧5
⬉䏃ֱᡸ఼%.7
ࠡᎹᑣջ
ৢᎹᑣջ
0ᑻ0ᑻ0ᑻ
㒓

3. 机器的安装 QD023-14
84 NXT 安装手册
4M 基座与真空泵 BOX 间的导线 (RH2141*、RH2142*、RH2143*)请不要穿入基座内部,在外
部进行配线。
㧹㧝㧠㧝㧭
㧹㧝㧠㧝
㧹㧿㧟㧯㧺㧟
㧹㧿㧟㧯㧺㧝
㧾㧴㧞㧝㧠㧟㧖
㧾㧴㧞㧝㧠㧝㧖
㧾㧴㧞㧝㧠㧞㧖
㧹㧿㧝㧯㧺㧟
㧹㧿㧝㧯㧺㧝
㧮㧯㧮㧯㧺㧝㧤
㧯㧺㧢
1;76(76E
㞾ゟ0ᑻ
ⳳぎ⋉%2;
⏽ᑺ❨ϱ
䆒বᤶ఼%.7
䆒বᤶ఼%.7
⏽ᑺ❨ϱ
বᤶ఼%.7
,)⬉䏃ᵓ
বᤶ఼%.7
ࠊ%2;
0ᑻ0ᑻ0ᑻ㒓

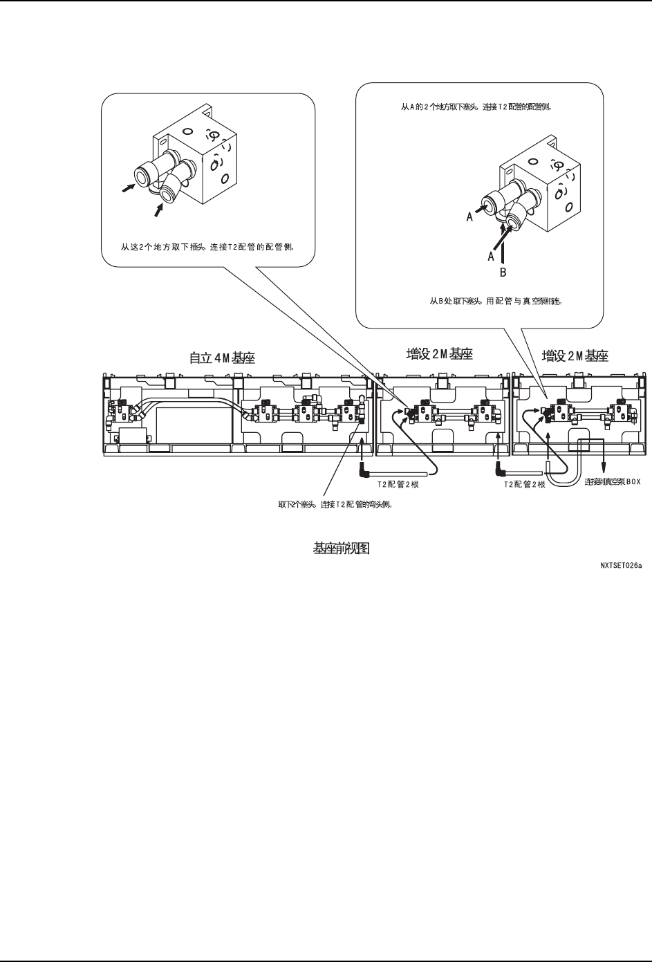
QD023-14 3. 机器的安装
NXT 安装手册 85
气源配管的连接
< 在序列号 294 为止的自立 4M 基座旁增设时 >