NXT-III 安装手册.pdf - 第45页
3. 机器的安装 SET-NXT3-006S1 34 NXT III 安装手册 注意 )请先配置有 * 的水平调整垫脚,在以后将不能配置在机器下面。 4. 移动已经设置好的机器时,从机器 上取下供料器、气源配管、电源线 等外部连接。 5. 移动已经设置好的机器时,使用固 定支架 (红色)对主要部位进行固定。 请参照 " 3.2. 1 拆除固定支架 " 的插图。 注意 )没有固定支架时,请用绳子等固定,并小心避免使机器…

SET-NXT3-006S1 3. 机器的安装
NXT III 安装手册 33
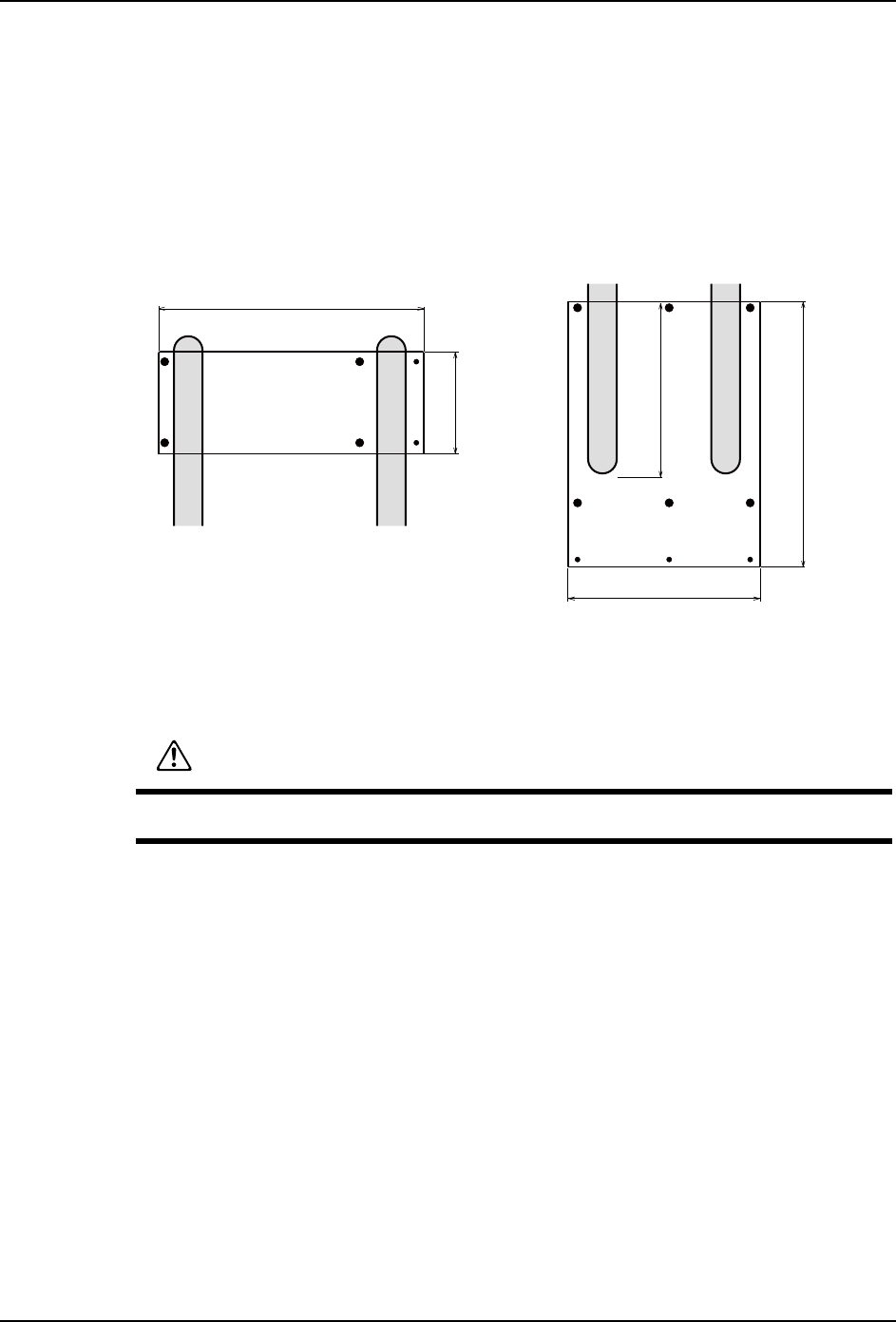
备注 )图中 * 印的尺寸为参考值。
3. 请在机器的新摆放位置上,预先将水平调整垫脚放置在所定位置。
䱨ᥥ
㸦3*㸧
W
W
+
+
0ะᓝ䱨ᥥ
䱨ᥥ
㸦3*㸧
W
6(76D
+
+
0ะᓝ
W
䱨ᥥ
㸦3*㸧
1384 43.5472.5
1900
单位: mm
机器前侧
640
65
65
510
70
70
500
<2M-3基座>
01SET-0152Sc

3. 机器的安装 SET-NXT3-006S1
34 NXT III 安装手册
注意 )请先配置有 * 的水平调整垫脚,在以后将不能配置在机器下面。
4. 移动已经设置好的机器时,从机器上取下供料器、气源配管、电源线等外部连接。
5. 移动已经设置好的机器时,使用固定支架 (红色)对主要部位进行固定。
请参照 " 3.2.1 拆除固定支架 " 的插图。
注意 )没有固定支架时,请用绳子等固定,并小心避免使机器各部分变形。
6. 移动模组的时候,在确认线性马达的轴处于室温后安装保护盖罩。
1384 43.5
1404 33.5
472.5
1384 43.5472.5
1900
1290
65 65
580
580
70 70
575
575
01SET-0153Sb
*
*
ঋփPP
ᵰಞࢃם
0ะᓝ!
01SET-0148Sa
㒓ᗻᷛሎ
㒓ᗻ偀䖒䕈
㒓ᗻ偀䖒㒓䚼ߚ
ֱᡸⲪ㔽

SET-NXT3-006S1 3. 机器的安装
NXT III 安装手册 35
3.1.4 方法
1. 将铲车插入机器时,需使铲车的左右铲与机器中心的距离相等。请将左右铲的间隔尽量
调大。
注意 )
1.关于铲车的使用,请参照制造商的说明书。
2.对于 4M-3 基座,请将叉子从机器后面插入 1100mm 以上。对于 2M-3 基座,请将叉子
从机器横侧面插入整个宽度。
2. 请用铲车将机器举起 30cm 左右。
3. 请移动铲车至所定位置,并将机器轻放在水平调整垫脚上。
危险
严禁进入机器下部进行操作。
1900 mm
1290 mm
㧨/ᑻ㧪
01SET-0154Sb
1900 mm
640 mm
㧨/ᑻ㧪
ᴎ఼ࠡջ
ᴎ఼῾ջ
PPҹϞ