2050-2060.pdf - 第195页
第 4 章 生产程序制作 Rev00 4-49 3) 贴片偏移 若为激光定心方式,则通过激光观察到的元件外形来捕捉元件的中心。 另一方面,如果是CAD数据等,则以元件的实际图形(称为图 案)的中心为贴片坐标。由于存在 这种关系,元件的引脚部分与基板的图案可能 发生位置偏差。将该差值作为贴片偏差输入, 可将元件贴片到正确的位置。 图像定心时,在“图像数据”的“控制”中有贴片偏移项。 例1) 单向引脚连接器 ※贴片角度为0度 激光定心中心 …

第 4 章 生产程序制作 Rev00
4-48
4-3-5-2-5 详述(扩展)
注意
如果在变更附加信息项目后变更了基本部分项,附加信息的
值有可能被重设为默认值。
图 4-3-19 元件数据(扩展)
1) “XY”、“吸取 Z 下降/上升”、“贴片 Z 下降/上升”
设置XY、Z轴移动时的速度。
设为中速或低速时运行稳定,但速度变慢。
2) θ速度
设置吸嘴在吸取元件状态下的θ轴速度。
① 测量时
设置激光识别时θ轴的加速度。
② 测量外
设置激光识别以外(旋转到激光定心后的贴片角度等)的θ轴的加速度。

第 4 章 生产程序制作 Rev00
4-49
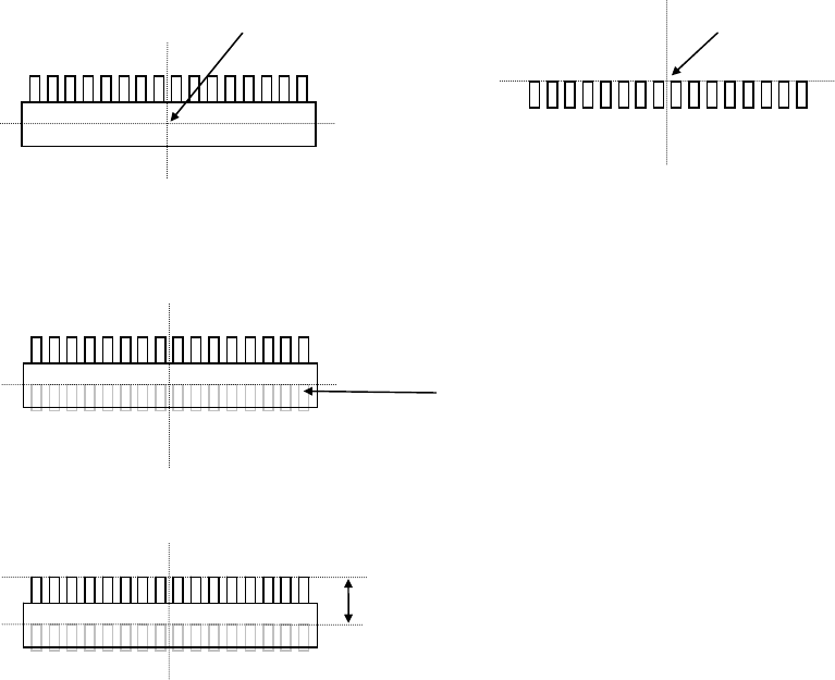
3) 贴片偏移
若为激光定心方式,则通过激光观察到的元件外形来捕捉元件的中心。
另一方面,如果是CAD数据等,则以元件的实际图形(称为图案)的中心为贴片坐标。由于存在
这种关系,元件的引脚部分与基板的图案可能发生位置偏差。将该差值作为贴片偏差输入,
可将元件贴片到正确的位置。
图像定心时,在“图像数据”的“控制”中有贴片偏移项。
例1) 单向引脚连接器
※贴片角度为0度
激光定心中心 贴片坐标点
从上面看元件时 基板上的垫片
如果不输入贴片偏移量而进行贴片,则将出现下述情况。
基板上的垫片
在上图的状态下(贴片角度0度,贴片偏移0),以贴片坐标点为起点,测量到相当于元件贴片
坐标点位置的尺寸,输入到贴片偏移值中。
按上述做法,如输入贴片偏移值,贴片多个同名元件时,即使各贴片角度在0度以外,也会自
动变更贴片位置,使元件被贴在正确的位置上。
贴片偏移-Y(X 为 0)

第 4 章 生产程序制作 Rev00
4-50
例2) 以下面的元件为例,输入偏移值。数值的单位为“mm(毫米)”。
( (无色) ⇒ 引脚部、 (带颜色) ⇒ 模部、 (粗线) ⇒ 图案)
贴片坐标点 激光高度
基板上的垫片 从上面看元件时 从横向(近前方向)看元件时
因贴片坐标点和激光定心的中心位置不同,如这样贴片,会发生贴片偏差。因此,请将贴片
坐标点和激光定心的中心位置的偏差部分作为偏移值,输入到“贴片偏移值”中。
在无偏移值状态下贴片时的情况如下:
激光定心的中心位置
此例中,输入其偏移值使引脚的前端处于垫片的中央位置。
在“贴片偏移”处输入“X=-5.5、Y=-10”后,则按如下方法贴片。
5.5
3
10
2
2
5
5
2