2OM-1183-003.pdf - 第166页
3.4 3.4 3.4 3.4 3.4 带式送料器的准备 带式送料器的准备 带式送料器的准备 带式送料器的准备 带式送料器的准备 操作步骤 操作步骤 操作步骤 操作步骤 操作步骤 (1) 参照线路板程序的元件配置数据,确认必要的带式送料器。 (2) 补给元件到各带式送料器。 (3) 请先确认将何种带式送料器 ( 夹子的颜色、型号 ) 安装到哪个 送料器编号上,再进行安装。 Fig.2C29 Fig.2C29 Fig.2C29 Fig.2…

3.3.2.53.3.2.5
3.3.2.53.3.2.5
3.3.2.5
线路板支撑销的设置线路板支撑销的设置
线路板支撑销的设置线路板支撑销的设置
线路板支撑销的设置
这是手伸入装置内部的作业,这是手伸入装置内部的作业,
这是手伸入装置内部的作业,这是手伸入装置内部的作业,
这是手伸入装置内部的作业,
请在切断电源的状态下请在切断电源的状态下
请在切断电源的状态下请在切断电源的状态下
请在切断电源的状态下
进行。进行。
进行。进行。
进行。
•
线路板支撑销的设置线路板支撑销的设置
线路板支撑销的设置线路板支撑销的设置
线路板支撑销的设置
将支撑销垂直插入到线路板支撑底座的孔内,使线路板支撑销均
匀分散在线路板整体。
线路板背侧有元件时,安装线路板支撑销,使其不要碰到元件。
此时,确认是否触及线路板支撑销的凸缘。
Fig.2C28 Fig.2C28
Fig.2C28 Fig.2C28
Fig.2C28
线路板支撑销的设置线路板支撑销的设置
线路板支撑销的设置线路板支撑销的设置
线路板支撑销的设置
若有芯片元件进入到线路板支撑底座的孔内,若有芯片元件进入到线路板支撑底座的孔内,
若有芯片元件进入到线路板支撑底座的孔内,若有芯片元件进入到线路板支撑底座的孔内,
若有芯片元件进入到线路板支撑底座的孔内,
将导致不能正常将导致不能正常
将导致不能正常将导致不能正常
将导致不能正常
设定线路板支撑销的高度,设定线路板支撑销的高度,
设定线路板支撑销的高度,设定线路板支撑销的高度,
设定线路板支撑销的高度,
所以有芯片元件进入时,所以有芯片元件进入时,
所以有芯片元件进入时,所以有芯片元件进入时,
所以有芯片元件进入时,
请用吸尘请用吸尘
请用吸尘请用吸尘
请用吸尘
器吸去入内的芯片元件。器吸去入内的芯片元件。
器吸去入内的芯片元件。器吸去入内的芯片元件。
器吸去入内的芯片元件。
((
((
(
禁止吹气禁止吹气
禁止吹气禁止吹气
禁止吹气
))
))
)
0507-003 3-22
3.3 3.3
3.3 3.3
3.3
线路板的定位线路板的定位
线路板的定位线路板的定位
线路板的定位
Notice
注意注意
注意注意
注意

3.43.4
3.43.4
3.4
带式送料器的准备带式送料器的准备
带式送料器的准备带式送料器的准备
带式送料器的准备
操作步骤操作步骤
操作步骤操作步骤
操作步骤
(1) 参照线路板程序的元件配置数据,确认必要的带式送料器。
(2) 补给元件到各带式送料器。
(3) 请先确认将何种带式送料器( 夹子的颜色、型号) 安装到哪个
送料器编号上,再进行安装。
Fig.2C29Fig.2C29
Fig.2C29Fig.2C29
Fig.2C29
请正确安装带式送料器,不要使其松动。
请正确安装带式送料器,请正确安装带式送料器,
请正确安装带式送料器,请正确安装带式送料器,
请正确安装带式送料器,
不要使其松动。不要使其松动。
不要使其松动。不要使其松动。
不要使其松动。
若安装不良,会导致与送料器贴装异常检测传感器冲
突或发生吸取异常。
详细内容请参照带式送料器的使用说明书 “ 带式送料器在
料车的安装以及拆卸方法 ” 章节。
(4) 按相应送料器作业区安全门的[ 准备完了] 按钮。
0507-003 3-23
3.4 3.4
3.4 3.4
3.4
带式送料器的准备带式送料器的准备
带式送料器的准备带式送料器的准备
带式送料器的准备
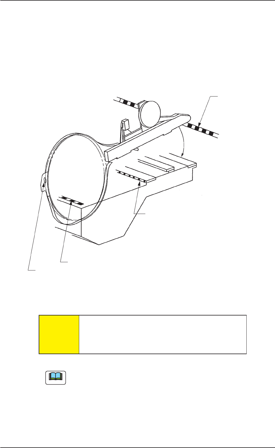
前侧送料器编号前侧送料器编号
前侧送料器编号前侧送料器编号
前侧送料器编号
金属板金属板
金属板金属板
金属板
中央部送料器编号中央部送料器编号
中央部送料器编号中央部送料器编号
中央部送料器编号
金属板金属板
金属板金属板
金属板
后侧送料器编号金属板后侧送料器编号金属板
后侧送料器编号金属板后侧送料器编号金属板
后侧送料器编号金属板
指孔指孔
指孔指孔
指孔
Note
注意注意
注意注意
注意

3.53.5
3.53.5
3.5
补正值数据补正值数据
补正值数据补正值数据
补正值数据 “
送料器送料器
送料器送料器
送料器
BB
BB
B ”
的所有数据清除的所有数据清除
的所有数据清除的所有数据清除
的所有数据清除
补正值数据 “ 送料器 B ” 是补正送料器偏差产生的元件吸取位置偏
离的补正值数据。
通过进行生产运行中的元件认识处理( 把握吸嘴中心和元件中心的
位置关系) ,自动更新数据,使在元件中心进行吸取。
在 “ 运行方式 ” 子菜单界面的 “ 运行方式设定 ” 选项卡中,将
“ 送料器吸取位置补正 ” 设定为 “ 不使用 ” 时,不进行数据的
自动更新。
用机种切换更换送料器时,用机种切换更换送料器时,
用机种切换更换送料器时,用机种切换更换送料器时,
用机种切换更换送料器时,
请初始化补正值数据请初始化补正值数据
请初始化补正值数据请初始化补正值数据
请初始化补正值数据 “
送料器送料器
送料器送料器
送料器
BB
BB
B ”
为为
为为
为
“
零零
零零
零 ”
。。
。。
。
若残留前一个补正值数据若残留前一个补正值数据
若残留前一个补正值数据若残留前一个补正值数据
若残留前一个补正值数据 “
送料器送料器
送料器送料器
送料器
BB
BB
B ”
,,
,,
,
会导致吸取异常。会导致吸取异常。
会导致吸取异常。会导致吸取异常。
会导致吸取异常。
3.63.6
3.63.6
3.6
线路板认识测试线路板认识测试
线路板认识测试线路板认识测试
线路板认识测试
使线路板认识照相机正确认识处理线路板上的线路板认识记号。
在线路板程序中 “ 线路板认识机能选择 ” 设定为 “ 认识 ” 时,请按照
以下步骤进行线路板认识测试。
操作步骤操作步骤
操作步骤操作步骤
操作步骤
(1) 准备实际的线路板进行线路板认识测试,进行各设定数据的确
认。
• 变更记号形状、记号尺寸、识别范围、认识算法、记号明暗
极性、记号形状判定标准时,请务必也变更原来的线路板程
序。
• 求出线路板认识用照相机 3 的辉度、亮度,输入到补正值数
据内。
(a) 关于线路板认识测试,请参照 “ 第六节 维护保养菜
单 ” 的 “3.2 线路板认识测试 Tab” 章节。
(b) 关于线路板程序的变更,请参照第三篇: 数据 “ 线路板
认识记号数据 ” 章节。
(c) 关于补正值数据,请参照 “ 第六节 维护保养菜单 ” 的
“5.5 线路板认识照相机 Tab” 章节。
3.5 3.5
3.5 3.5
3.5
补正值数据补正值数据
补正值数据补正值数据
补正值数据 “
送料器送料器
送料器送料器
送料器
BB
BB
B ”
的所有数据清除的所有数据清除
的所有数据清除的所有数据清除
的所有数据清除
0507-003 3-24
Note
Note
Notice