N7205A110B00.pdf - 第310页
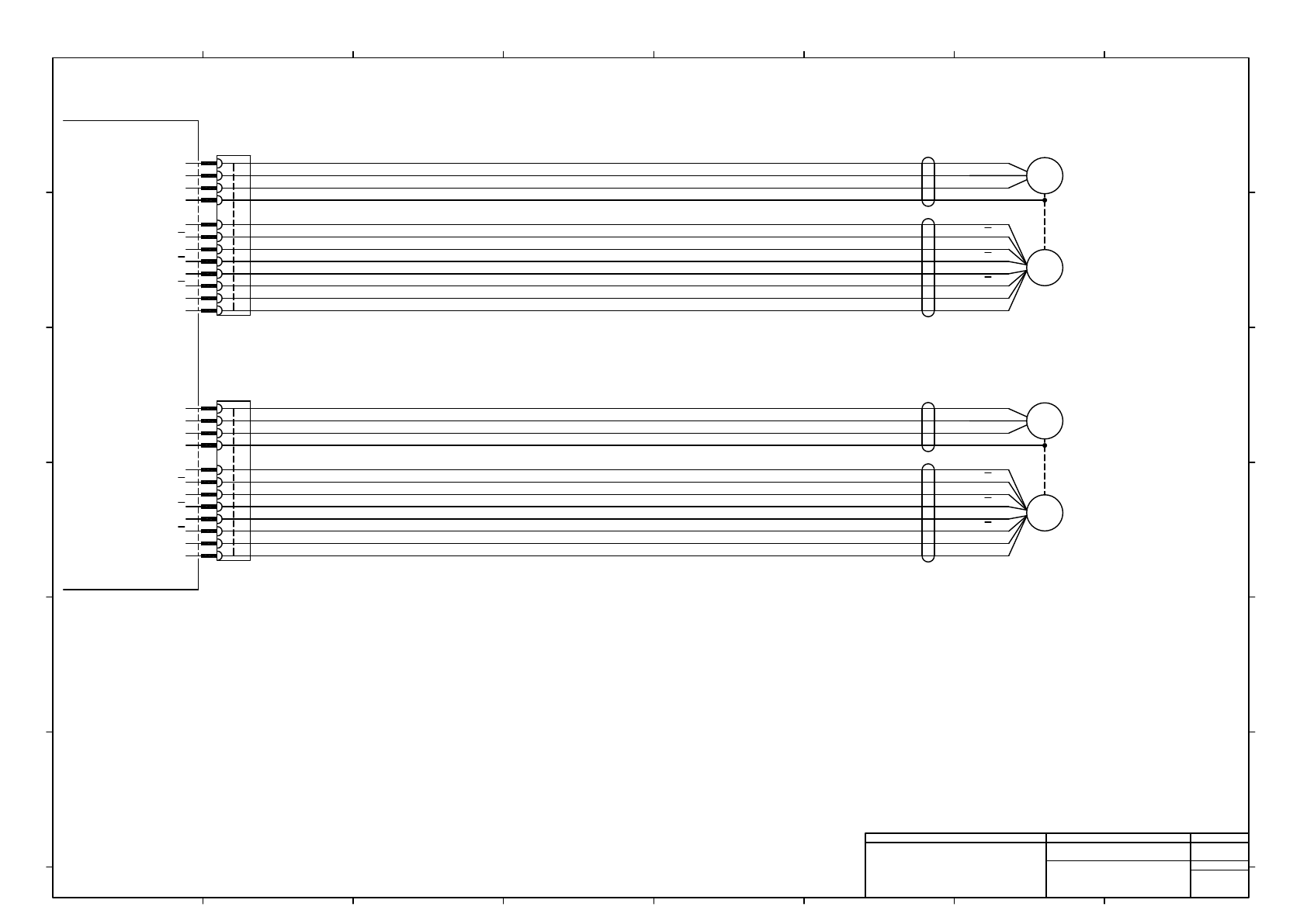
-K301 PMC0AF #1 CN3 1 7 8 2 V 4 10 5 11 U FG W A A B B 11 5 10 4 2 8 7 1 43025-1200 CN3K301 MOLEX 3 9 12 6 6 12 9 3 Z Z VDD GND Z-Axis 1 Z軸 1 CN1 1 7 8 2 V 4 10 5 11 U FG W A A B B 11 5 10 4 2 8 7 1 43025-1200 CN1K301 MO…

-K301
PMC0AF #1
CN11
1
2
3
4
TX-
CN15
1
4
3
6
5
6
7
8
TX+
RX-
RX+
EMG
ILKF
ILKR
GND
GND
+24V
2
5
GND
+24V
GND
+24V
PAP-08V-S
CN11K301
JST
2
1
4
3
6
5
8
7
PAP-06V-S
CN15K301
JST
4
1
5
2
6
3
-K302
PMC0AF #2
+24V
GND
+24V
GND
+24V
GND
+24V
GND
+24V
GND
CN17
1
6
2
7
3
8
4
9
5
10
RX+
RX-
TX+
TX-
EMG
ILKF
ILKR
GND
1
5
2
6
3
4
8
7
10
5
9
4
8
3
7
2
6
1
43025-1000
CN17K302
MOLEX
7
8
4
3
6
2
5
1
43025-0800
CN18K302
MOLEX
CN18
1
BN
GY
RD
WH
OG
BK
YE
PK
2
BU
BN
RD
OG
YE
GN
1 2
3
3
Panasonic Factory Solutions Co.,Ltd. パナソニック ファクトリーソリューションズ株式会社
Name
Drawing No.
Loc. No.
F4K1020-05A
1
2 3 4 5 6 7 8
A
B
C
D
E
F
1 2 3 4 5 6 7 8
A
B
C
D
E
F
Page. No.
NPM_DISPENSER HEAD
(PMC0AF#1~#2 connecting)
N610083275+004AA
P004

-K301
PMC0AF #1
CN3
1
7
8
2
V
4
10
5
11
U
FG
W
A
A
B
B
11
5
10
4
2
8
7
1
43025-1200
CN3K301
MOLEX
3
9
12
6
6
12
9
3
Z
Z
VDD
GND
Z-Axis 1
Z軸 1
CN1
1
7
8
2
V
4
10
5
11
U
FG
W
A
A
B
B
11
5
10
4
2
8
7
1
43025-1200
CN1K301
MOLEX
3
9
12
6
6
12
9
3
Z
Z
VDD
GND
Z-Axis 2
Z軸 2
A
A
B
B
Z
Z
VDD
GND
U
V
W
FG
SM
SSG
-M403
RD
WH
BK
GY
BU
BU/BK
GN
GN/BK
YE
YE/BK
RD
BK
A
A
B
B
Z
Z
VDD
GND
U
V
W
FG
SM
SSG
-M404
RD
WH
BK
GY
BU
BU/BK
GN
GN/BK
YE
YE/BK
RD
BK
Panasonic Factory Solutions Co.,Ltd. パナソニック ファクトリーソリューションズ株式会社
Name
Drawing No.
Loc. No.
F4K1020-05A
1
2 3 4 5 6 7 8
A
B
C
D
E
F
1 2 3 4 5 6 7 8
A
B
C
D
E
F
Page. No.
NPM_DISPENSER HEAD
(Z1,Z2 Motor connecting)
N610083275+005AA
P005

-K302
PMC0AF #2
CN3
1
7
8
2
V
4
10
5
11
U
FG
W
A
A
B
B
11
5
10
4
2
8
7
1
43025-1200
CN3K302
MOLEX
3
9
12
6
6
12
9
3
Z
Z
VDD
GND
SC-Axis 1
SC軸 1
CN1
1
7
8
2
V
4
10
5
11
U
FG
W
A
A
B
B
11
5
10
4
2
8
7
1
43025-1200
CN1K302
MOLEX
3
9
12
6
6
12
9
3
Z
Z
VDD
GND
SC-Axis 2
SC軸 2
SSG
SM
U
V
W
FG
A
A
B
B
Z
Z
VDD
GND
-M405
RD
WH
BK
GY
BU
BN
GN
VT
WH2
YE
RD2
BK2
SSG
SM
U
V
W
FG
A
A
B
B
Z
Z
VDD
GND
-M406
RD
WH
BK
GY
BU
BN
GN
VT
WH2
YE
RD2
BK2
1
Panasonic Factory Solutions Co.,Ltd. パナソニック ファクトリーソリューションズ株式会社
Name
Drawing No.
Loc. No.
F4K1020-05A
1
2 3 4 5 6 7 8
A
B
C
D
E
F
1 2 3 4 5 6 7 8
A
B
C
D
E
F
Page. No.
NPM_DISPENSER HEAD
(SC1,SC2 Motor connecting)
N610083275+006AB
P006