00191297-02.pdf - 第328页
7 What should you do ... User Manual SIPLACE S -23 HM 7.9 How to avo id track errors Software Version SR.405.xx 05/99 Issue 326 7.9.2 ... on the 8 mm S t ape feeder module È NEVER ope n the cov er flap witho ut first rel…

User Manual SIPLACE S-23 HM 7 What should you do ...
Software Version SR.405.xx 05/99 Issue 7.9 How to avoid track errors
325
7.9 How to avoid track errors
7.9.1 General information
È Make sure that the areas around the feeder modules are clean and that there are no loose
components in the feeder area or under the feeder modules.
È Ensure that the supporting surfaces of the feeder modules, and particularly the magnetic rails
of the component tables, are clean and level.
È Refill promptly with components.
È Splice the tapes promptly. This generally means that you are to prepare the splicing material
when there is still approximately 1.5 m of tape on the reel.
È Handle the feeder modules carefully when you insert them into or remove them from the com-
ponent table as these are high-precision devices.
È When you insert the feeder modules, make sure that you do not accidentally press one of the
program keys. If you do, you could change the advance from 4 mm to 2 mm on
8 mm S feeder modules, for example.
È Close the flaps of the feeder modules because they can be easily damaged when open.
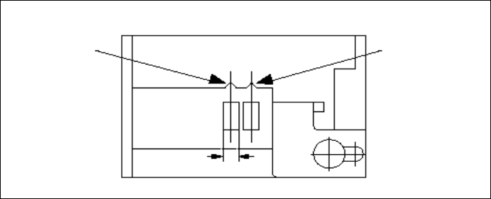
È For 8 mm S feeder modules, make sure that the components are picked up from the correct
position, depending on their sizes (see the following example).
Example for 8mm S feeder modules 7
7
È Check to see if all the plugs of the feeder modules are plugged in to the correct sockets.
Pick-up position
Pick-up position
> 3 mm
for components
≤ 3 mm
for components
Width
7 What should you do ... User Manual SIPLACE S-23 HM
7.9 How to avoid track errors Software Version SR.405.xx 05/99 Issue
326
7.9.2 ... on the 8 mm S tape feeder module
È NEVER open the cover flap without first releasing the tension of the cover foil remover.
È Set the pick-up position and the spacing of the tape according to the short instructions en-
closed with each tape feeder module.
È Insert the tape material over the spring into the tape feeder module.
7.9.3 ... on the tape container
È Insert the spacers correctly (see Fig. 7.5 - 2).
È Use insertable shafts for large tape reels.

User Manual SIPLACE S-23 HM 7 What should you do ...
Software Version SR.405.xx 05/99 Issue 7.9 How to avoid track errors
327
7.9.4 Component coordinate system and pick-up angle
7
Fig. 7.9 - 1 Position of the component and its pick-up angle