三星SM421 Introduction硬件装机手册_.pdf - 第56页
Samsung Component Placer SM421 Intr oduction 3-4 3.2.2. 控制部分的构成 3-3.

3-3
3.2.
3.2.1. 机械部分的构成
3-2.

Samsung Component Placer SM421 Introduction
3-4
3.2.2. 控制部分的构成
3-3.

3-5
3.3.
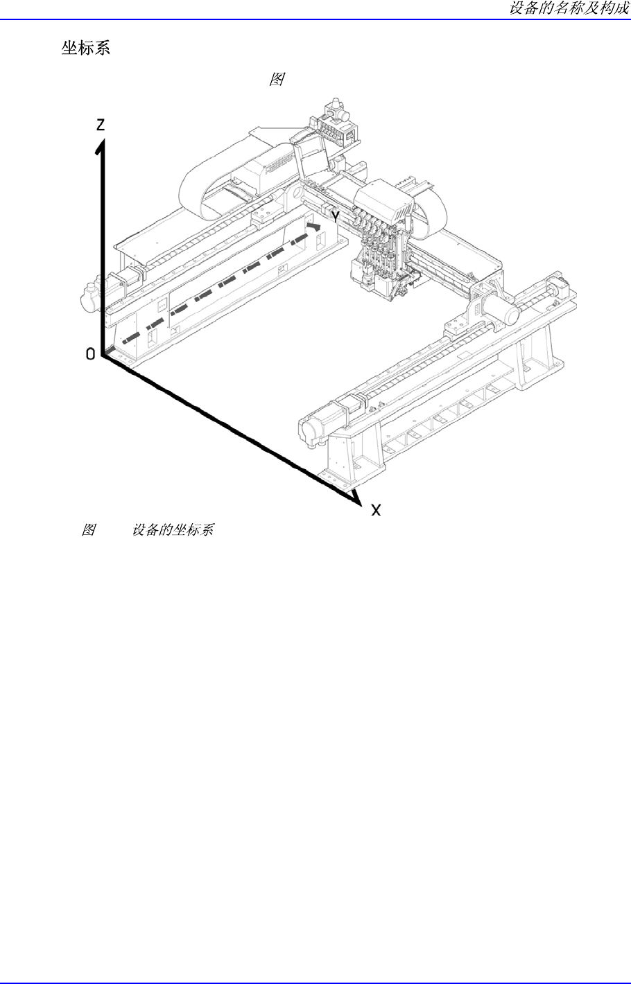
本设备基本的坐标系如以下” 3-4”所示。
3-4.
3.3.1. X, Y 轴
表示 Head, ANC, 贴装点(Placement Position), PCB 的基准点标记(Fiducial Mark)
的位置。
3.3.2. Z 轴
Z 轴表示从 Head 到吸嘴尾端的位置,把固定基板的上面位置作为 0。
3.3.3. Theta (R) 轴
表示 Head 定位部品中心时的角度。逆时针方向为” + “, 顺时针方向为”-”。