NXT-IIc 安装手册.pdf - 第86页
3. 机器的安装 SET-NXTIIc-1.5S 74 NXT IIc 安装手册 3.6.2 连接方法 1. 拆除基座的后盖板。松开固定盖板的螺丝 ,请在抓住盖板的把手向上方抬起 的同时拆 除。 备注 )没有必要拆除螺丝。 2. 将连接电缆连接至以下的接插件上。 ·前工序电路板搬运中转接口筋 板的 LANE1 接插件和 LANE2 接插件 ·后工序电路板搬运中转接口筋 板的 LANE1 接插件和 LANE2 接插件 3. 将前后工序电路…

SET-NXTIIc-1.5S 3. 机器的安装
NXT IIc 安装手册 73
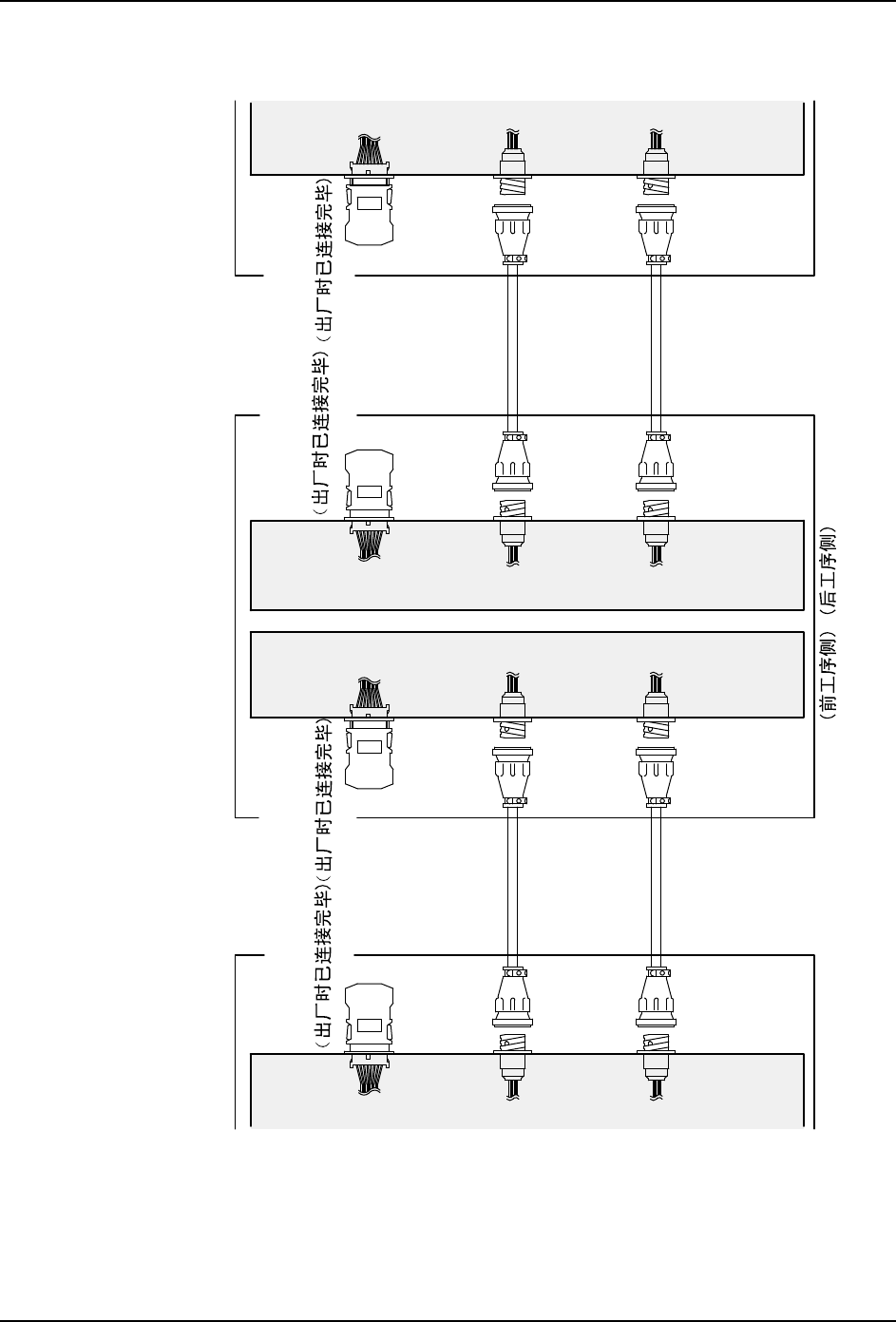
3.6.1 信号电缆连接图 (NXT-2c-NXT-2c-NXT-2c)
RH2138* (1.5 m)
RH2137* (3 m)
RH2139* (5 m)
RH2138* (1.5 m)
RH2137* (3 m)
RH2139* (5 m)
RH2138* (1.5 m)
RH2137* (3 m)
RH2139* (5 m)
RH2138* (1.5 m)
RH2137* (3 m)
RH2139* (5 m)
CN-M2
CN-M2
CN-M1
CN-M1
LANE2-R
LANE2-F LANE2-R
LANE2-F
LANE1-R
LANE1-F LANE1-FLANE1-R
01SET-0269S
RH5682*: 2M-2c
RH5824*: 4M-2c
RH5681*: 2M-2c
RH5823*: 4M-2c
RH5682*: 2M-2c
RH5824*: 4M-2c
RH5681*: 2M-2c
RH5823*: 4M-2c
ࠡᎹᑣ
ৢᎹᑣ
1;7Fᑻ
1;7Fᑻ
1;7Fᑻ

3. 机器的安装 SET-NXTIIc-1.5S
74 NXT IIc 安装手册
3.6.2 连接方法
1. 拆除基座的后盖板。松开固定盖板的螺丝,请在抓住盖板的把手向上方抬起的同时拆
除。
备注 )没有必要拆除螺丝。
2. 将连接电缆连接至以下的接插件上。
·前工序电路板搬运中转接口筋板的 LANE1 接插件和 LANE2 接插件
·后工序电路板搬运中转接口筋板的 LANE1 接插件和 LANE2 接插件
3. 将前后工序电路板搬运中转接口筋板的接插件保持在安装状态。
4. 将连接好的信号电缆 (左右各 2 根)从基座侧面的孔中取出,并连接至以下的接插件
上。
·前工序机器的电路板搬运中转接口筋板的 LANE1 接插件和 LANE2 接插件
·后工序机器的电路板搬运中转接口筋板的 LANE1 接插件和 LANE2 接插件
5. 安装后盖板到基座上。
注意
接插件的连接和拆除,请务必在断电后进行接插件的插拔。
连接接插件时,请确认接插件名称注意不要搞错。
接插件要完全插入及准确连接。
01SET-0270S
ৢ䘧Ꮉᑣ⬉䏃ᵓᨀ䖤Ё䕀ষㄟᵓ
ࠡ䘧Ꮉᑣ⬉䏃ᵓᨀ䖤Ё䕀ষㄟᵓ
ৢⲪᵓ
6(76
ᦦӊ
ֵো⬉㓚
ᦦӊ
ֵো⬉㓚
CN-M1
CN-CVIF F
LANE 1-F
LANE 2-F
CN-M2
CN-CVIF R
LANE 1-R
LANE 2-R
ࠡᎹᑣ⬉䏃ᵓᨀ䖤Ё䕀ㄟᵓ
ৢᎹᑣ⬉䏃ᵓᨀ䖤Ё䕀ㄟᵓ

SET-NXTIIc-1.5S 3. 机器的安装
NXT IIc 安装手册 75
3.6.3 连接基座时的安全对策
为了放置手或者身体的卷入,请在基座上的左右端配置的模组上安装侧盖板。进一步用导线
连接基座间。
1. 拉出模组。
备注 )模组的拉出方法请参考 「NXT IIc 机械手册」的 「5. 基本操作」。
2. 将侧盖板抵住模组的侧面,一边使其不要落下,一边用六角扳手假拧紧六角螺栓。
3. 使用螺丝刀,拧紧盖板下部的螺丝。
4. 全部拧紧所有的六角螺栓。
5. 将接插件筋板安装在基座上,进一步连接接插件变换导线到基座上。
01SET-0278S
ջⲪᵓ
ջⲪᵓ
ᦦӊবᤶᇐ㒓
ᇐ㒓
01SET-0279S
ջⲪᵓ
ᦦӊㄟᵓ
݁㾦㶎ᷧ
㶎ϱ