RP-1-Rev00.pdf - 第26页
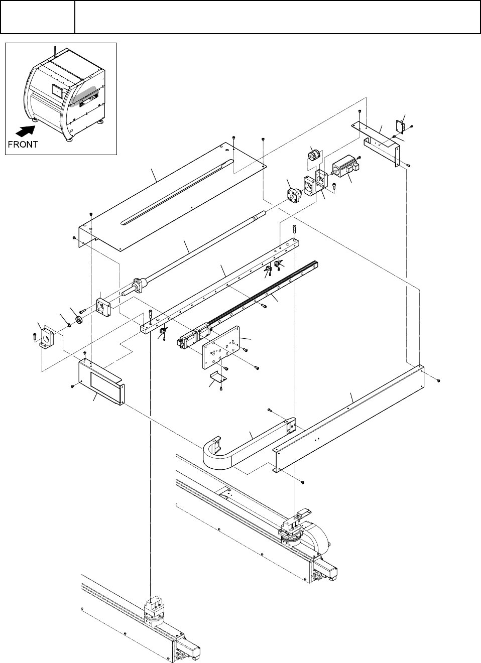
A 5 カメラ Y 軸ユニット Camera Y ax is unit 1 1 6 7 21 10 4 12 9 8 22 15 3 14 17 10 5 1 2 18 20 13 16 19 A- 19

A4
カメラユニット
Camera unit
イラスト番号
Ref.No.
部品コード
Parts Code
部品名
Parts Name
Serial
No.
個数
Q'ty
備考
Remarks
同期
Repl.
EZ7-623-210-22
SW 4,TYPE 2
SW 4,TYPE 2
4
A-18

A5
カメラ
Y
軸ユニット
Camera Y axis unit
1
1
6
7
21
10
4
12
9
8
22
15
3
14
17
10
5
1
2
18
20
13
16
19
A-19

A5
カメラ
Y
軸ユニット
Camera Y axis unit
イラスト番号
Ref.No.
部品コード
Parts Code
部品名
Parts Name
Serial
No.
個数
Q'ty
備考
Remarks
同期
Repl.
1 EZ1-492-041-42
センサ-
ASSY (S7ORG)
SENSOR ASSY (S7ORG)
1
2 EZ1-492-043-72
センサ-
ASSY (S7CW)
SENSOR ASSY (S7CW)
1
3 EZ1-492-043-82
センサ-
ASSY (S7CCW)
SENSOR ASSY (S7CCW)
1
4 EZ4-454-886-02
ベ-ス プレ-ト
PLATE, BASE
1
5 EZ4-454-887-02
サポ-ト ブロツク
1
BLOCK (1), SUPPORT
1
6 EZ4-454-888-01
サポ-ト ブロツク
2
BLOCK (2), SUPPORT
1
7 EZ4-454-889-01
ナツト ブロツク
BLOCK, NUT
1
8 EZ4-454-905-01
スライド プレ-ト
PLATE, SLIDE
1
9 EZ4-454-906-01
ドグ
DOG
1
10 EZ4-456-910-11
サポ-ト ユニツト
(BUM-12)
SUPPORT UNIT (BUM-12)
1
11 EZ4-456-915-01
ボ-ルネシ
(FK1520PS-HPNR-675X065*)
SCREW(FK1520PS-HPNR-
675X0653*)
1
12 EZ4-456-927-01
リニア ウエイ
(MES20C2R700T1PS1)
RAIL (MES20C2R700T1PS1),LINEAR
1
13 EZ4-456-953-01
カツプリング
(XGS-25C-8X10)
COUPLING (XGS-25C-8X10)
1
14 EZ4-454-908-03
カバ-
2
COVER (2)
1
15 EZ4-454-909-04
カバ-
3
COVER (3)
1
16 EZ4-454-907-03
カバ-
1
COVER (1)
1
17 EZ4-454-910-04
カバ-
4
COVER (4)
1
18 EZ1-787-836-11
サ-ボ モ-タ
(SGMJV-01ADA21)
MOTOR, SERVO (SGMJV-01ADA21)
1
19 EZA-1899-202-A
SC MOUNT
SC MOUNT
1
20 EZ2-990-379-01
シチユウ
SUPPORT
4
21 EZ2-592-891-01
C
ガタ トメワ
10 (
ジク ヨウ
)
STOP RING 10, TYPE C
1
22 EZ4-184-270-51
ケ-ブル ベア
(TKP0180W40R50-39L*)
BARE (TKP0180W40R50-39L+PIA*)
1
EZ4-701-529-01
タイマウント
(MB1)
TIE MOUNT (MB1)
6
EZ7-682-248-02
+K M3X8
SCREW +K M3X8
6
EZ7-683-404-04
6
カクアナツキボルト
3X8
BOLT,HEXAGON SOCKET 3X8
6
EZ7-683-419-04
6
カクアナツキボルト
4X8
BOLT,HEXAGON SOCKET 4X8
3
EZ7-683-420-04
6
カクアナツキボルト
4X10
BOLT,HEXAGON SOCKET 4X10
4
EZ7-683-435-04
6
カクアナツキボルト
5X10
BOLT,HEXAGON SOCKET 5X10
10
EZ7-683-440-04
6
カクアナツキボルト
5X20
BOLT,HEXAGON SOCKET 5X20
6
A-20