RP-1-Rev00.pdf - 第84页
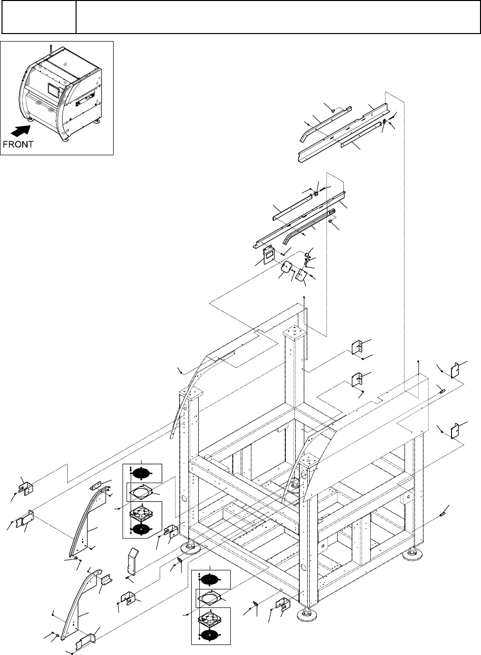
A 20 カバー取付け部 Cover mounting frame 3 13 30 21 23 31 5 30 6 7 5 17 32 32 26 32 32 31 32 18 32 32 32 32 25 19 32 19 1 1 3 12 4 1 30 31 31 35 14 15 31 28 23 34 16 24 24 33 33 33 33 24 24 16 1 1 10 15 2 20 30 22 31 27 2 31 10…

A20
カバー取付け部
Cover mounting frame
3
13
30
21
23
31
5
30
6
7
5
17
32
32
26
32
32
31
32
18
32
32
32
32
25
19
32
19
11
3
12
4
1
30
31
31
35
14
15
31
28
23
34
16
24
24
33
33
33
33
24
24
16
11
10
15
2
20
30
22
31
27
2
31
10
28
8
9
29
30
29
A-67

A20
カバー取付け部
Cover mounting frame
イラスト番号
Ref.No.
部品コード
Parts Code
部品名
Parts Name
Serial
No.
個数
Q'ty
備考
Remarks
同期
Repl.
1 EZ4-453-872-01
ドア スイツチ キ-
(HS9Z-A66)
KEY (HS9Z-A66), DOOR SWITCH
1
2 EZ4-454-975-01
ストツパ
STOPPER
2
3 EZ4-456-877-01
クツシヨン ゴム
(C-30-CS-2-EP-UL)
RUBBER (C-30-CS-2-EP-UL)
2
4 EZ4-469-187-01
キ- ブラケツト
BRACKET, KEY
1
5 EZ4-454-959-01
レ-ル ブラケツト
2
BRACKET (2), RAIL
2
6 EZ4-454-950-01
レ-ル
1L
RAIL (1L)
1
7 EZ4-454-950-11
レ-ル
1R
RAIL (1R)
1
8 EZ1-492-271-12
フアン
ASSY (FAN1)
FAN ASSY (FAN1)
1
9 EZ1-492-271-22
フアン
ASSY (FAN2)
FAN ASSY (FAN2)
1
10 EZ4-454-966-03
フアン ブラケツト
BRACKET, FAN
2
11 EZ4-454-952-02
レ-ル ブラケツト
1
BRACKET (1), RAIL
2
12 EZ4-454-953-01
レ-ル
2L
RAIL (2L)
1
13 EZ4-454-953-11
レ-ル
2R
RAIL (2R)
1
14 EZ4-454-957-02
レ-ル ブラケツト
L
BRACKET (L), RAIL
1
15 EZ4-454-960-01
ドア ストツパ
2
STOPPER (2), DOOR
2
16 EZ4-454-961-01
カバ- スペ-サ
SPACER, COVER
2
17 EZ4-454-963-01
ガイド プレ-ト
2L
PLATE (2L), GUIDE
1
18 EZ4-454-964-01
ガイド プレ-ト
2R
PLATE (2R), GUIDE
1
19 EZ4-454-968-01
カバ- ブラケツト
F
BRACKET (F), COVER
2
20 EZ4-454-972-02
ドア スイツチ ブラケツト
BRACKET, DOOR SWITCH
1
21 EZ4-454-974-02
レ-ル ブラケツト
R
BRACKET (R), RAIL
1
22 EZ4-454-977-01
ドア スイツチ ブラケツト
2
BRACKET (2), DOOR SWITCH
1
23 EZ4-454-980-01
ナツト プレ-ト
PLATE, NUT
2
24 EZ4-454-997-01
カバ- B ブラケツト
BRACKET, COVER (B)
4
25 EZ4-454-713-01
ガイド プレ-ト
1L
PLATE (1L), GUIDE
1
26 EZ4-454-714-01
ガイド プレ-ト
1R
PLATE (1R), GUIDE
1
27 EZ1-798-470-11
ドア スイツチ
(HS6E-VM7Y4B01-G)
SWITCH, DOOR (HS6E-VM7Y4B01-
G)
1
28 EZ7-683-446-04
6
カクアナ ツキ ボルト
5X40
BOLT HEXAGON SOCKET 5X40
2
29 EZ7-682-561-04
+B 4X8
SCREW +B 4X8
8
A-68