桥式浸渍助焊剂单元使用说明书.pdf - 第45页
QD114-07 6. 生产 桥式浸渍助焊剂单元使用说明书 35 6.3 助焊剂的供应 作为运转前准备,存在着自动供 应助焊剂的方法和手动供应助焊剂 的方法。 6.3.1 在运转前准备中自动供应助焊剂 重新充填助焊剂时或变更助焊剂 种类时,请使用 [ 运转前准备功能 ],进行助焊剂供应。 1. 请按下机器侧操作面板的 CYCLE 按钮或 STOP 按钮。使机器处于 START 等待状态。 2. 松开固定着注胶筒的皮带。 3. 从浸渍助焊…

6. 生产 QD114-07
34 桥式浸渍助焊剂单元使用说明书
6.2.3 关于浸渍动作设定和助焊剂传送时间
这里,对每个设定的机器动作和助焊剂传送时间进行说明。在设定动作模式时请参考。

QD114-07 6. 生产
桥式浸渍助焊剂单元使用说明书 35
6.3 助焊剂的供应
作为运转前准备,存在着自动供应助焊剂的方法和手动供应助焊剂的方法。
6.3.1 在运转前准备中自动供应助焊剂
重新充填助焊剂时或变更助焊剂种类时,请使用 [ 运转前准备功能 ],进行助焊剂供应。
1. 请按下机器侧操作面板的 CYCLE 按钮或 STOP 按钮。使机器处于 START 等待状态。
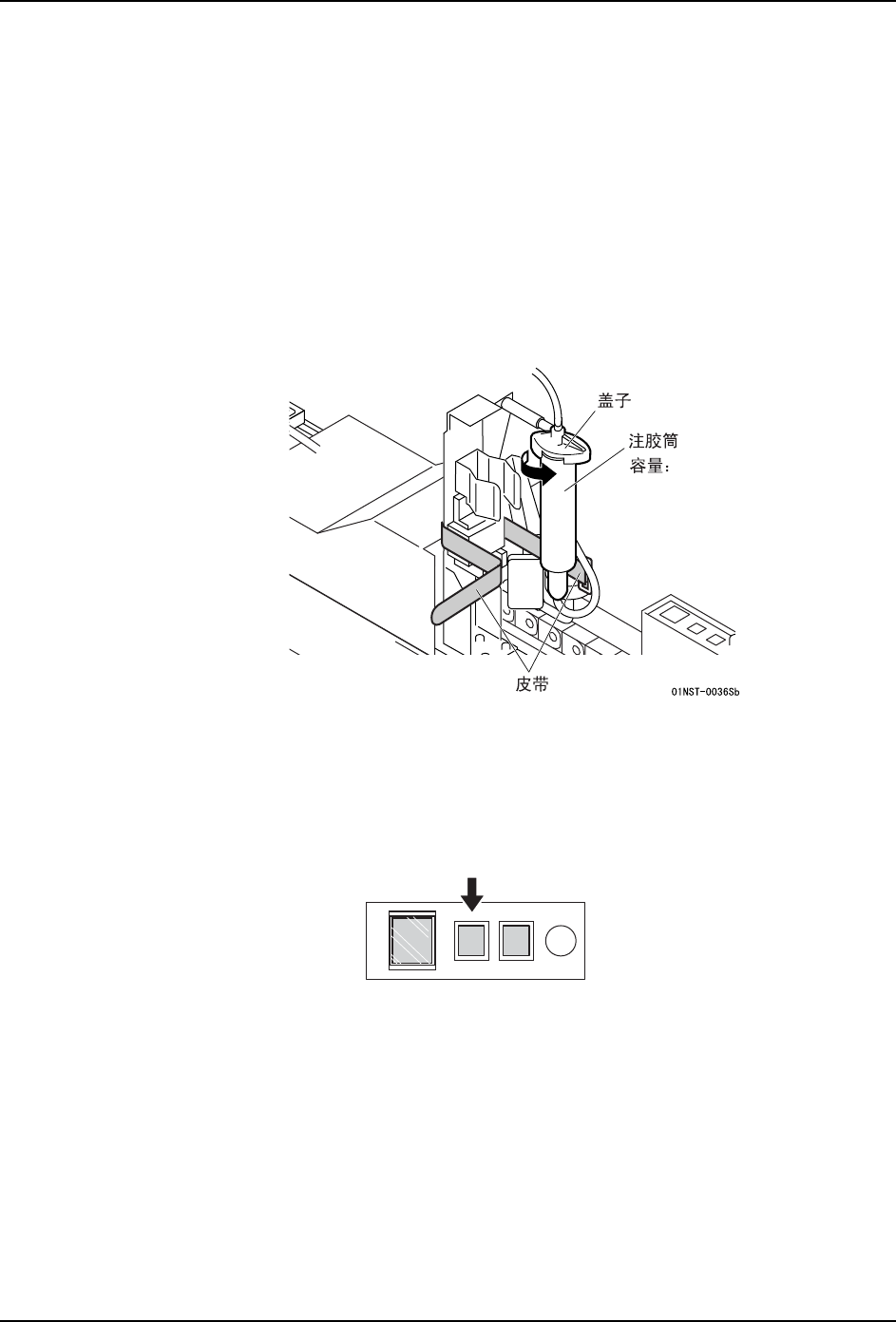
2. 松开固定着注胶筒的皮带。
3. 从浸渍助焊剂单元上拆下注胶筒,上部的盖子旋转约 90 度后拆下。
4. 将助焊剂充填到注胶筒内。
5. 盖好盖子,并安装到浸渍助焊剂单元上。
6. 用皮带固定注胶筒。
7. 按住 ERR 开关 (2 秒以上),通过运转生产前准备动作自动供应助焊。
30 cc
FLUX
ERR
CYCLE
01NST-0037a

6. 生产 QD114-07
36 桥式浸渍助焊剂单元使用说明书
6.3.2 手动供应助焊剂
在进行助焊剂传送确认或膜厚调整时,请按照以下的要领供应助焊剂。
1. 按照前节 [ 在运转前准备中自动供应助焊剂 ] 的相同步骤,将助焊剂充填到注胶筒内。
2. 按下 FLUX 开关,将助焊剂供应给下锡台。
3. 按下 CYCLE 开关使下锡台滑动。多余的助焊剂被刮刀刮去。
快速按下 1 次 按定时器的设定时间,供应助焊剂。
按住 重复以上的供应动作 (最长 30 秒)。
FLUX
ERR
CYCLE
01NST-0038a
FLUX
ERR
CYCLE
167