P-0222-001.pdf - 第13页
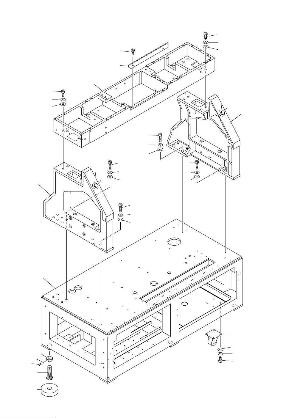
11 Key No. P AR T No. P AR T NAME Q’ty REMARKS NOTE MODEL TDM-3000E-2 0208-001 1 630 099 2007 FRAME 1 645L--04B-001 2 630 063 2262 FRAME(L) 1 645L--04B-002 3 630 059 0371 FRAME(R) 1 645L--04B-003 4 41 1 141 5203 WASHER V…

MODEL TDM-3000E-2
0210-001
10
本体部 MAIN BODY SECTION
Fig. 1-1 ベース Base
21
22
6
5
4
6
5
4
6
5
4
11
11-1
11-2
12
13
1
2
3
14
15
16
17
Fig.1-1
19
10
9
8
18
6
5
4
10
9
8
7
TDM-3000E-2
21
22

11
Key No. PART No. PART NAME Q’ty REMARKS
NOTE
MODEL TDM-3000E-2
0208-001
1 630 099 2007 FRAME 1 645L--04B-001
2 630 063 2262 FRAME(L) 1 645L--04B-002
3 630 059 0371 FRAME(R) 1 645L--04B-003
4 411 141 5203 WASHER V 16X30X3 10 FW16
5 411 141 3407 WASHER SPR 16 10 SW16
6 630 000 8340 BOLT,HEX-SCT 10 M16X60
7 630 063 6499 FRAME 1 645L--04B-004
8 411 141 5203 WASHER V 16X30X3 8 FW16
9 411 141 3407 WASHER SPR 16 8 SW16
10 630 000 8333 BOLT,HEX-SCT 8 M16X40
11 630 042 5697 NUT 6 645L--04H-002
11 -1 630 041 6770 COLLAR 5 645L--04B-006
11 -2 630 000 8975 SET SCREW 5 M6X6 SET
12 630 042 5673 BOLT,HEX 6 645L--04H-001
13 630 048 9927 BLOCK,LOCATE 6 645L--04B-005
14 630 047 9881 CASTER 4 645L--04H-003
15 411 141 4503 WASHER V 8X17X1.6 16 FW8
16 411 141 3100 WASHER SPR 8 16 SW8
17 630 000 8012 BOLT,HEX-SCT 16 M8X20
18 630 061 4336 COVER 1 645L--04B-009
19 411 113 9109 SCR TRS 5X10 2 M5X10 TRS
21 630 049 7892 NAME PLATE,NOTICE 2 645H--04D-008
22 630 053 3583 SWITCH,BUTTON 2 PB26,PB27 645H--04D-007
1-1

MEMO