P-0222-001.pdf - 第156页
MODEL TDM-3000E-2 0208-001 154 カバー部 COVER SECTION Fig. 9-4 前扉 Front Cover 23 23-1 25 64 65 63 59 60 40 40 40 38 30 58 32 33 40 31 32 33 31 30 34 38 39 62 26 26 1 14 21 15 16 16 50 49 66 51 52 53 54 55 56 11 27 28 12 13 5…

MEMO

MODEL TDM-3000E-2
0208-001
154
カバー部 COVER SECTION
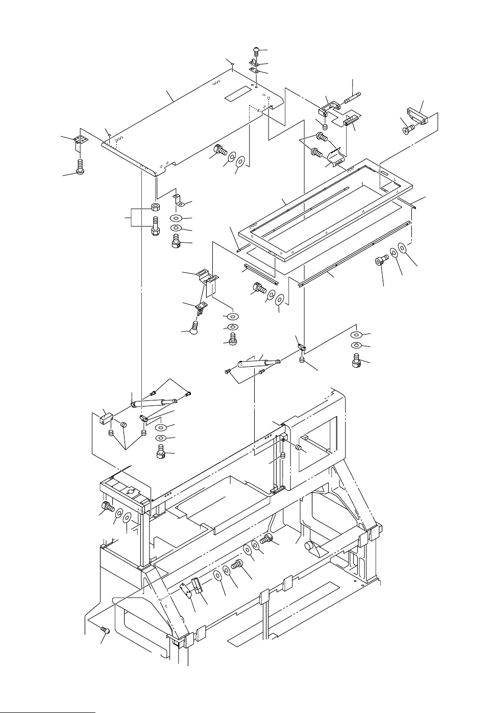
Fig. 9-4 前扉 Front Cover
23
23-1
25
64
65
63
59
60
40
40
40
38
30
58
32
33
40
31
32
33
31
30
34
38
39
62
26
26
1
14
21
15
16
16
50
49
66
51
52
53
54
55
56
11
27
28
12
13
57
50
61
9
23
24
22
8
7
10
18
18
19
19
20
20
35
36
37
17
17
2
39
Fig.9-4
TDM-3000E-2

155
Key No. PART No. PART NAME Q’ty REMARKS
NOTE
MODEL TDM-3000E-2
0208-001
9-4
1 630 059 2917 COVER 1 645R--04B-016
2 630 058 2888 MECH PARTS(STOPPER BOLTS) 2 645R--04H-006
7 630 051 3578 SUPPORT 2 645R--04B-018
8 630 051 3585 SUPPORT 2 645R--04B-020
9 630 038 9715 PIN,HINGE 2 645R--04B-019
10 630 000 8920 SET SCREW 4 M4X6 SET
11 411 141 4107 WASHER V 5X10X1 4 FW5
12 411 141 6705 WASHER SPR 5 4 SW5
13 630 000 7756 BOLT,HEX-SCT 4 M5X12
14 630 058 3175 COVER 1 645R--04B-017
15 630 058 5070 COVER 1 645R--04B-039
16 630 058 3182 SUPPORT 2 645R--04B-038
17 630 051 3608 SUPPORT 2 645R--04B-037
18 411 141 4008 WASHER V 4X9X0.8 12 FW4
19 411 141 2905 WASHER SPR 4 12 SW4
20 630 000 7619 BOLT,HEX-SCT 12 M4X8
21 630 051 3561 SUPPORT 2 645R--04B-010
22 411 113 9109 SCR TRS 5X10 12 M5X10 TRS
23 630 003 5032 HANDLE 1 645R--04H-003
23 -1 630 099 2656 PLATE 2 645R--04B-047
24 411 140 7406 SCR FLT 5X20 2 M5X20 FLT
25 411 113 7501 SCR TRS 4X10 2 M4X10 TRS
26 630 013 8986 MECH PARTS(RUBBER CUSHION 2 645R--04H-007
27 630 039 1763 HINGE 2 645R--04B-003
28 411 113 9109 SCR TRS 5X10 12 M5X10 TRS
30 630 058 3038 BRACKET 2 645R--04B-009
31 411 141 4107 WASHER V 5X10X1 4 FW5
32 411 141 6705 WASHER SPR 5 4 SW5
33 630 000 7787 BOLT,HEX-SCT 4 M5X25
34 630 058 3076 BRACKET 1 645R--04B-004
35 411 141 4107 WASHER V 5X10X1 2 FW5
36 411 141 6705 WASHER SPR 5 2 SW5
37 630 000 7756 BOLT,HEX-SCT 2 M5X12
38 630 035 6694 SPRING 2 645R--04H-001
39 630 038 9609 PIN,HINGE 4 645R--04B-005
40 630 000 8944 SET SCREW 6 M5X6 SET
49 630 058 2178 BRACKET 1 645R--04B-021
50 630 058 0457 SWITCH,LIMIT 1 645R--04H-005
51 411 119 2104 WASHER V 4X9X0.8 2 FW4 F
52 411 008 1706 WASHER SPR 4 2 SW4 F
53 411 161 9007 SCR PAN 4X35 2 M4X35 PAN
54 630 001 0220 WASHER 2 BW5
55 411 141 6705 WASHER SPR 5 2 SW5
56 630 000 8401 BOLT,HEX-SCT 2 M5X14
57 630 099 2731 BRACKET 1 645R--04B-022
58 411 141 4008 WASHER V 4X9X0.8 2 FW4
59 411 141 2905 WASHER SPR 4 2 SW4
60 630 000 7619 BOLT,HEX-SCT 2 M4X8
61 411 113 5002 SCR FLT 4X12 2 M4X12 FLT
62 630 059 4003 BRACKET 1 645R--04B-045