P-0222-001.pdf - 第62页
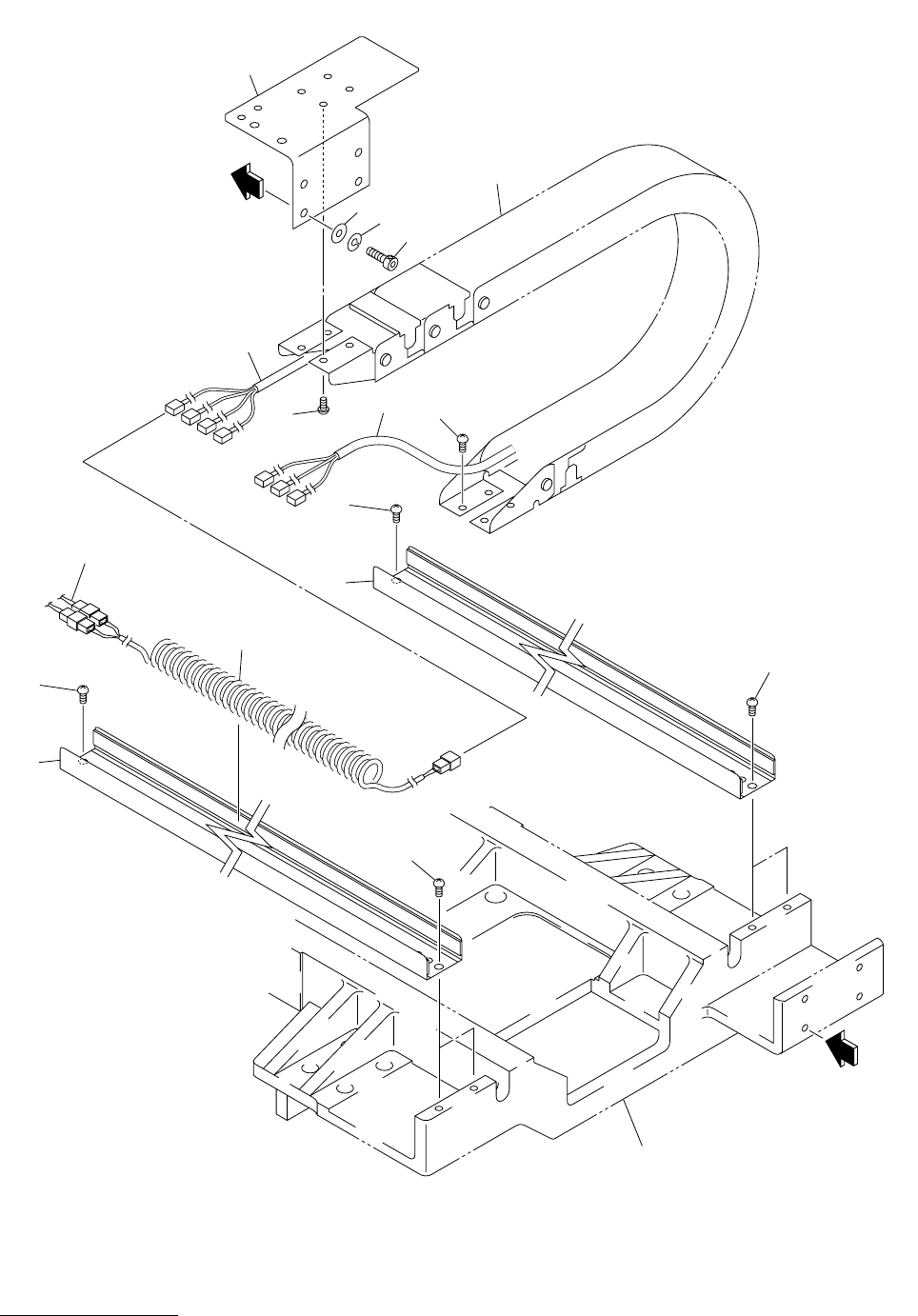
MODEL TDM-3000E-2 0208-001 60 XY テーブル部 XY T ABLE SECTION Fig. 3-6 配管支持部 Wiring Supporter 1 1 2 2 2 2 A A 25 22 113 113 111 See Fig.3-4 Key No.112 23 24 26 Fig.3-6 TDM-3000E-2 See Fig.3-2 Key No.1 21 26

59
Key No. PART No. PART NAME Q’ty REMARKS
NOTE
MODEL TDM-3000E-2
0208-001
1 630 054 4398 PLATE 1 645J--04B-114
2 630 054 8938 SPRING,TORSION 1 645J--04B-116
3 630 054 8914 PLATE 1 645J--04B-118
4 630 000 7497 BOLT,HEX-SCT 1 M3X4
5 630 054 4343 PLATE 1 645J--04B-120
6 630 004 1798 SENSOR,PHOTO 1 PHS14 645J--04H-103
6 -1 630 000 0269 SENSOR,PHOTO(CONNECTOR) 1 645J--04H-021
7 411 088 9005 WASHER F 3X6X0.5 2 FWS3 F
8 411 086 4408 WASHER SPR 3 2 SW3 F
9 411 042 0703 SCR PAN 3X8 2 M3X8 PAN
10 411 141 3902 WASHER V 3X7X0.5 4 FW3
11 411 141 2806 WASHER SPR 3 4 SW3
12 630 000 7527 BOLT,HEX-SCT 4 M3X10
21 630 054 4336 PLATE 1 645J--04B-113
22 630 054 4329 SPRING,TORSION 1 645J--04B-115
23 630 054 4312 PLATE 1 645J--04B-117
24 630 000 7497 BOLT,HEX-SCT 1 M3X4
25 630 063 1425 PLATE 1 645J--04B-119
26 630 004 1798 SENSOR,PHOTO 1 PHS13 645J--04H-103
26 -1 630 000 0269 SENSOR,PHOTO(CONNECTOR) 1 645J--04H-021
27 411 088 9005 WASHER F 3X6X0.5 2 FWS3 F
28 411 086 4408 WASHER SPR 3 2 SW3 F
29 411 040 6202 SCR PAN 3X10 2 M3X10 PAN
30 411 141 3902 WASHER V 3X7X0.5 1 FW3
31 411 141 2806 WASHER SPR 3 1 SW3
32 630 000 7527 BOLT,HEX-SCT 1 M3X10
3-5

MODEL TDM-3000E-2
0208-001
60
XY テーブル部 XY TABLE SECTION
Fig. 3-6 配管支持部 Wiring Supporter
1
1
2
2
2
2
A
A
25
22
113
113
111
See Fig.3-4
Key No.112
23
24
26
Fig.3-6
TDM-3000E-2
See Fig.3-2
Key No.1
21
26

61
Key No. PART No. PART NAME Q’ty REMARKS
NOTE
MODEL TDM-3000E-2
0208-001
1 630 053 2173 GUIDE 4 645J--04B-023
2 411 051 1708 SCR TRS 4X6 8 M4X6 TRS
21 630 053 2166 BRACKET 1 645J--04B-022
22 411 141 4107 WASHER V 5X10X1 4 FW5
23 411 141 6705 WASHER SPR 5 4 SW5
24 630 000 7756 BOLT,HEX-SCT 4 M5X12
25 630 036 0578 MECH PARTS 1 645J--04H-026
26 411 113 9109 SCR TRS 5X10 8 M5X10 TRS
111 630 075 7170 ASSY,CORD 1
113 630 075 7194 ASSY,CORD 1
3-6