NM-8224A,B,C PARTS LIST(EC TYPE)_.pdf - 第117页
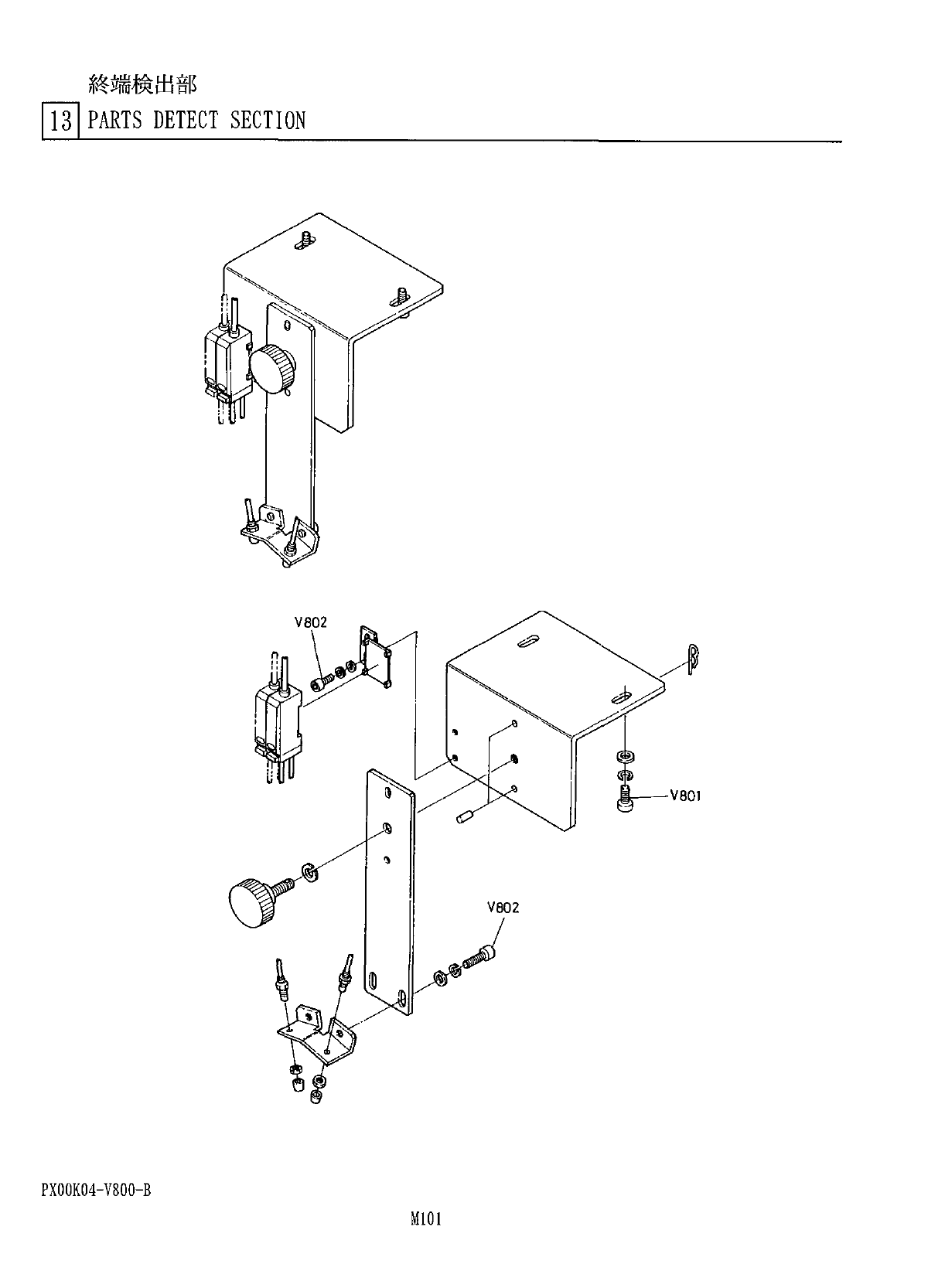
終端検出部 13 ] PARTS DETECT SECTION 個 数 考 備 部 番 品 名 品 No . PART NAME Q ’ TY REMASKS REF PART No . No . 六角穴付 iHH 7 I M 5 M im XVE 5 B 16 FP HEXAGON SOCKET HEAD SCREW 六 角 穴 付 扩 針 14 X 8 " V 802 XVE 4 B 8 FP HEXAGON SOCKET…

終端検出部
l
3
l
PARTS
DETECT
SECTION
o
/
1
V
801
〆
PX
00
K
04
-
V
800
-
B
M
101

終端検出部
13
]
PARTS
DETECT
SECTION
個数
考
備
部
番
品
名
品
No
.
PART
NAME
Q
’
TY
REMASKS
REF
PART
No
.
No
.
六角穴付
iHH
7
I
M
5
M
im
XVE
5
B
16
FP
HEXAGON
SOCKET
HEAD
SCREW
六角穴付扩針
14
X
8
"
V
802
XVE
4
B
8
FP
HEXAGON
SOCKET
HEAD
SCREW
4
PX
00
K
04
-
V
800
-
B
M
102

集中潤滑部
Til
LUBRICATING
OIL
SECTION
PX
00
K
04
-
900
-
E
_
A
M
103