NM-8224A,B,C PARTS LIST(EC TYPE)_.pdf - 第88页
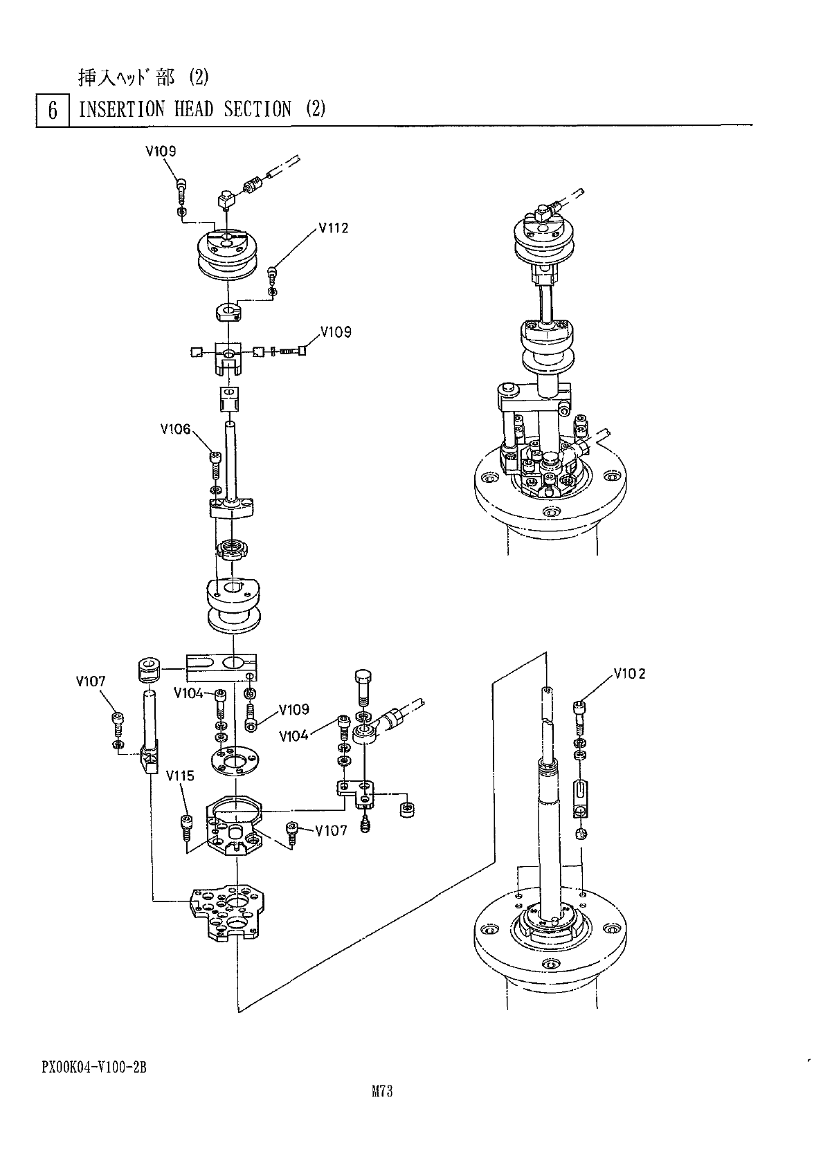
揷 入 部 ⑵ 61 INSERTION HEAD SECTION ⑵ V 109 V 112 V 109 V 106 V 102 PXOOK 04 - V 100 - 2 B M 73

揷 入 部
⑵
6
l
INSERTION
HEAD
SECTION
(
2
)
考
部
個数
備
番
名
品
品
No
.
Q
’
TY
REMARKS
REF
PART
No
.
PART
NAME
No
.
W
SLIDER
2
X
00
K
04115
ARM
3
X
00
K
04116
7
-
A
W
7
抓
-
受
X
00
K
04119
CAM
FOLLOWER
HOLDER
4
XNRNFU
03
SC
BEARING
NUT
FU
03
SC
5
<
27
>
6
X
00
K
04123
SLIDER
7
8
X
00
K
04124
AM
y
-
h
力
A
$
9
X
00
K
04135
CAM
FOLLOWER
HOLDER
TO
X
00
K
04136
IF
COLLAR
i
二乃
,
-
%
工
M
N
431
M
5
UL
UNIVERSAL
ELBOW
M
-
5
UL
11
T
2
N
431
M
5
H
6
HOSE
NIPPLE
F
5
F
6
T
3
X
00
K
04145
]
7
夕
-
COTTER
lset
于
7
卜
14
X
00
K
04156
NUT
調 整 敢 蚪
mT
15
X
00
K
04158
又 卜
<
-
STOPPER
X
00
K
04159
16
2
XhA
°
-
TL
STOPPER
RUBBER
17
X
00
K
04160
2
7
M
>
18
<
29
>
19
IW
-
20
X
00
K
04164
SLIDER
3
>
<
DELETE
>
21
IF
22
X
00
K
04166
COLLAR
2
IF
23
X
00
K
04167
COLLAR
I
1
HFF
MJ
24
X
00
K
04168
<
W
/
a
><
DELETE
>
25
26
X
00
K
04172
H
7
F
MFr
27
XOOK
04173
H
7
f
"
MFl
(
1
)
STAGE
(
1
)
28
X
00
K
04176
Xr
-
v
(
2
)
STAGE
⑵
29
X
00
K
04177
30
X
001
-
040
-
1
WASHER
MW
V
'
fy
1
!
4
PXOOK
04
-
100
-
2
B
_
A
M
72

揷 入 部
⑵
61
INSERTION
HEAD
SECTION
⑵
V
109
V
112
V
109
V
106
V
102
PXOOK
04
-
V
100
-
2
B
M
73

揷 入
A
〃
K
部
⑵
61
INSERTION
HEAD
SECTION
(
2
)
考
部
個数
備
番
名
品
品
No
.
Q
’
TY
REMARKS
REF
PART
No
.
PART
NAME
No
.
六角 穴 付本卟
h
V
102
XVE
6
B
35
FP
HEXAGON
SOCKET
HEAD
SCREW
4
M
6
X
35
六角穴付
HEXAGON
SOCKET
HEAD
SCREW
M
6
X
16
V
104
XVE
6
B
16
FP
3
六角穴付
YM
HEXAGON
SOCKET
HEAD
SCREW
M
5
X
20
V
106
XVE
5
B
20
FP
2
六角 穴 付东於
V
107
XVE
5
B
12
FP
HEXAGON
SOCKET
HEAD
SCREW
3
M
5
X
12
六角穴付
V
109
XVE
4
B
16
FP
HEXAGON
SOCKET
HEAD
SCREW
4
M
4
X
16
六角穴付
YM
V
112
HEXAGON
SOCKET
HEAD
SCREW
M
3
X
12
XVE
3
B
12
FP
六角穴付
014
V
115
XVE
5
B
16
FP
HEXAGON
SOCKET
HEAD
SCREW
2
M
5
X
16
PX
0
OKO
4
-
V
100
-
2
B
M
74