NM-8224A,B,C PARTS LIST(EC TYPE)_.pdf - 第37页
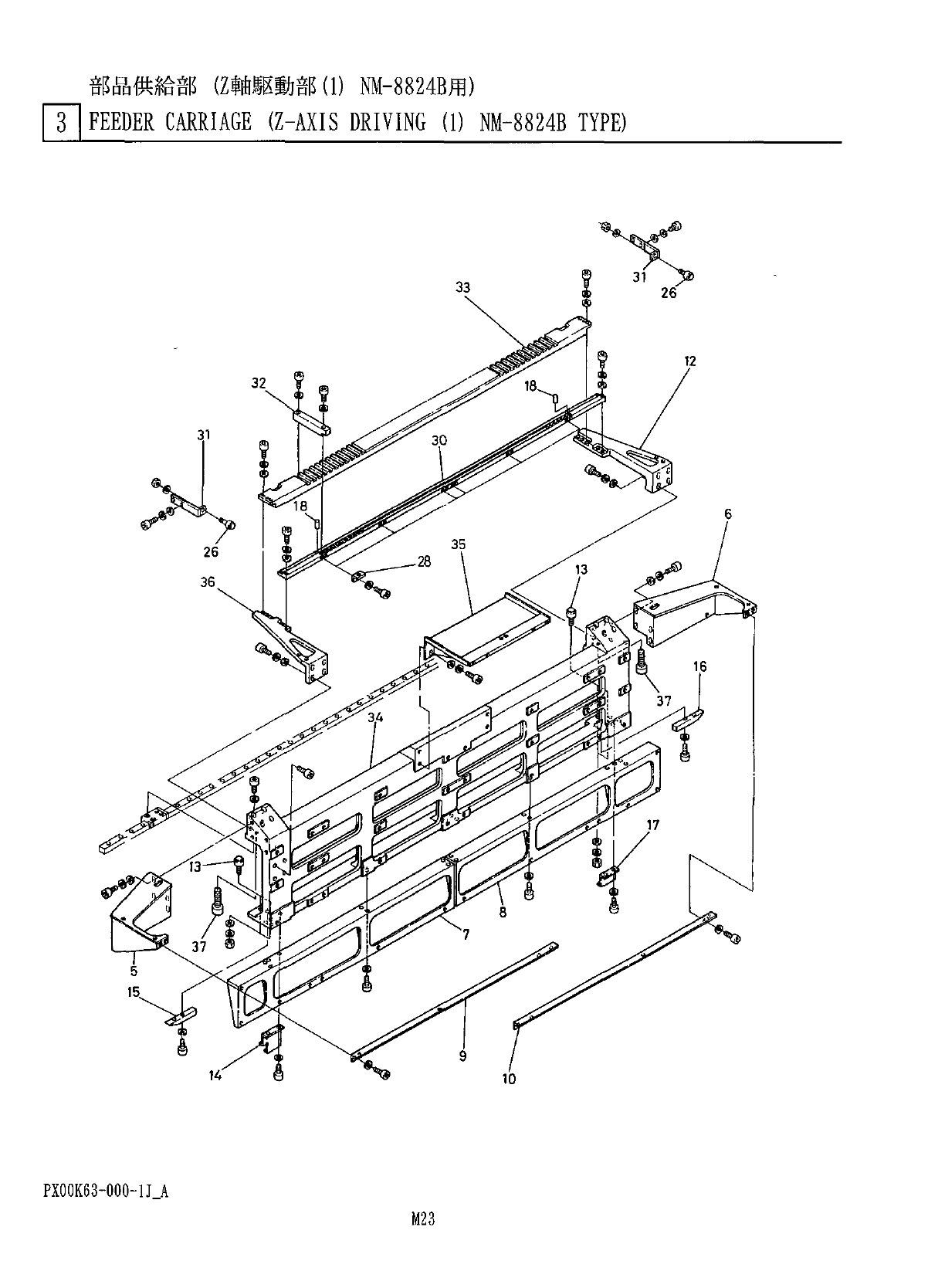
部品供給部 ( Z 軸駆動部 ⑴ NM - 8824 B 用 ) 3 ~ | FEEDER CARRIAGE ( Z - AXIS DRIVING ⑴ NM - 8824 B TYPE ) 懷 考 個数 備 部 名 番 品 品 No . Q ' TY REMARKS PART NAME PART No . REF No . < 29 > W 2 W I W T 7 分 , 卜 ( 左 ) BRACKET ( LEF…

部品供給部
(
Z
軸駆動部
(
1
)
NM
-
8824
B
用
)
il
FEEDER
CARRIAGE
(
Z
-
AXIS
DRIVING
⑴
NM
-
8824
B
TYPE
)
PXOOK
63
-
QOO
-
1
JJ

部品供給部
(
Z
軸駆動部
⑴
NM
-
8824
B
用
)
3
~
|
FEEDER
CARRIAGE
(
Z
-
AXIS
DRIVING
⑴
NM
-
8824
B
TYPE
)
懷
考
個数
備
部
名
番
品
品
No
.
Q
'
TY
REMARKS
PART
NAME
PART
No
.
REF
No
.
<
29
>
W
2
W
I
W
T
7
分
,
卜
(
左
)
BRACKET
(
LEFT
)
5
X
00
K
63054
卜
(
右
)
BRACKET
(
RIGHT
)
J
X
00
K
63055
r
艿竹
(
左
)
BRACKET
(
LEFT
)
T
X
0
OK
63
O
56
7
’
加卜
(
右
)
BRACKET
(
RIGHT
)
J
X
00
K
63057
jwn
&
)
ANGLE
(
LEFT
)
I
X
00
K
63058
ANGLE
(
RIGHT
)
TO
X
00
K
63059
W
11
T
2
XOQK
03
QQ
8
AM
T
=
A
N
531
CF
10
RA
力
A
Wf
CAM
FOLLOWER
J
CF
10
RA
13
検出板
XQ
0
K
03030
DETECTION
PLATE
14
TV
15
X
00
K
03031
DOG
TT
DOG
16
X
00
K
03032
TT
DETECTION
PLATE
X
00
K
03033
二
-
卜
’
拟
NEEDLE
ROLLER
D
3
.
5
X
12
.
8
18
N
50335128
2
W
19
3
>
<
DELETE
>
20
<
m
'
3
>
<
DELETE
>
21
<
wy
H
>
<
DELETE
>
IT
<
m
'
3
><
DELETE
>
22
<
m
'
3
><
DELETE
>
22
w
23
W
24
15
W
ITiW
26
N
531
CF
8
UUA
CAM
FOLLOWER
2
CF
8
DU
-
A
<
3
l
>
27
/
1
/
-
卜受
28
X
00
K
63062
PLATE
HOLDER
J
7
M
>
29
樹
,
⑻
HOLDER
(
B
)
30
X
00
K
63018
31
X
00
K
03079
BRACKET
2
固定
7
’
夕
32
X
00
K
03080
FIXED
BLOCK
樹
.
(
A
)
HOLDER
(
A
)
X
00
K
63063
移動
7
V
~
h
34
X
0
QK
63064
mm
TWF
X
0
QKQ
3
Q
82
BRACKET
X
00
K
03085
7
-
L
ARM
六角於
37
XVG
8
B
40
FP
4
HEXAGON
BOLT
2
18
X
40
PX
00
K
63
-
000
-
lJ
_
A
M
24

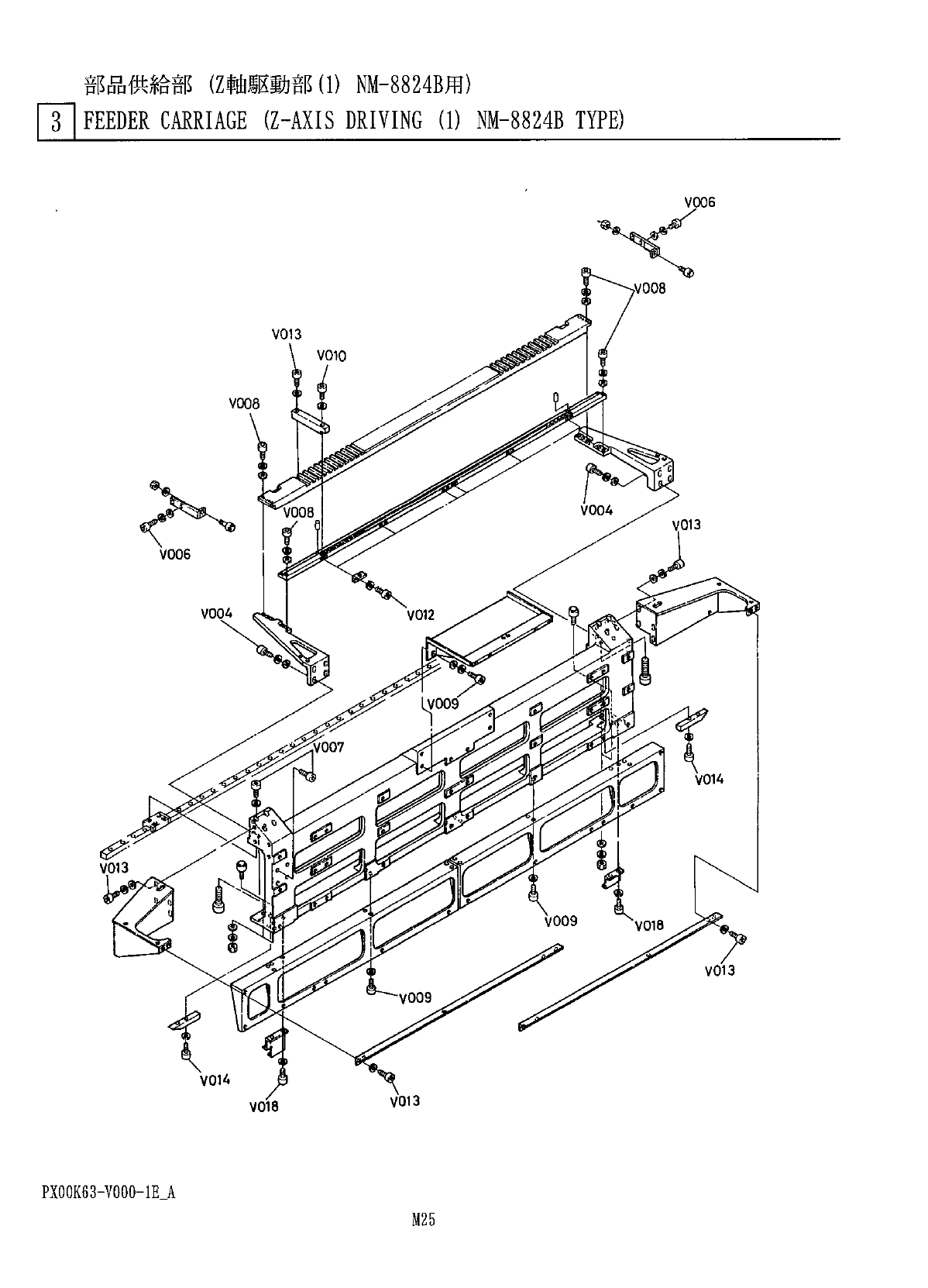
部品供給部
(
Z
軸駆動部
(
1
)
NM
-
8824
B
用
)
J
]
FEEDER
CARRIAGE
(
Z
-
AXIS
DRIVING
⑴
NM
-
8824
B
TYPE
)
V
013
V
008
V
004
V
013
PXOOK
63
-
VOOO
-
1
E
_
A
M
2
5