NM-8224A,B,C PARTS LIST(EC TYPE)_.pdf - 第34页
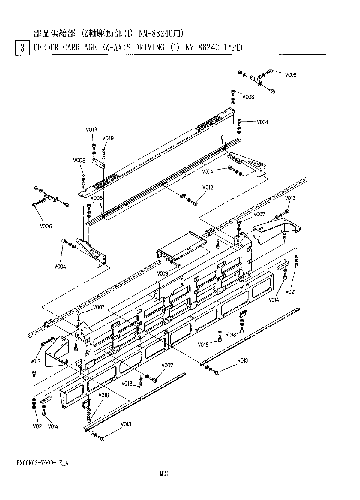
部 品 供 給 部 ( Z 軸 駆 動 部 ⑴ 丽 - 8824 C 用 ) 3 ~ | FEEDER CARRIAGE ( Z - AXIS DRIVING ⑴ NM - 8824 C TYPE ) r V 008 V 021 V 014 PXOOKQ 3 - VOOO - 1 EJ

部品供給部
(
Z
軸駆動部
⑴
NM
-
8824
C
用
)
J
]
FEEDER
CARRIAGE
(
Z
-
AXIS
DRIVING
⑴
丽
-
8824
C
TYPE
)
考
備
名
個数
番
部
品 品
No
.
REMARKS
PART
No
.
PAST
NAME
Q
’
TY
REF
No
.
<
34
>
nr
X
00
KQ
3008
7
~
L
2
IL
mf
CAM
FOLLOWER
mm
N
531
CF
10
RA
4
I
DETECT
PLATE
X
00
K
03030
4
TY
X
00
K
03031
DOG
I
TV
丽
X
00
K
03032
I
DETECT
PLATE
X
00
K
03033
7
<
27
>
J
3
><
DELETE
>
J
<
m
'
3
>
<
DELETE
>
9
<
W
/
3
><
DELETE
>
To
<
m
3
>
<
DELETE
>
10
w
11
WJm
N
531
CF
8
UUA
CAM
FOLLOWER
2
CF
8
UU
-
A
12
W
13
W
14
7
’
竹外
(
左
)
BRACKET
(
LEFT
)
X
00
K
03062
15
Twrw
)
BRACKET
(
RIGHT
)
X
00
K
03063
16
1
W
)
\
(
ffl
ANGLE
(
LEFT
)
X
00
K
03064
17
1
WTW
)
ANGLE
(
RIGHT
)
18
X
00
KQ
3065
<
Z
5
>
19
W
20
X
00
K
03068
r
?
知卜
(
左
)
BRACKET
(
LEFT
)
IT
TJhTW
)
BRACKET
(
RIGHT
)
X
00
KQ
3069
n
二
-
卜
’
JV
D
-
亏
N
50335128
NEEDLE
ROLLER
D
3
.
5
X
12.8
23
2
W
24
TFFs
25
XQQK
03075
PLATE
HOLDER
8
W
2
F
27
<
3
l
>
W
-
(
B
)
HOLDER
(
B
)
28
X
00
K
03078
X
00
K
03079
7
'
i
'
jv
!
•
29
BRACKET
2
固定
7
’
D
7
?
X
00
K
03080
FIXED
BLOCK
30
IT
X
00
K
03081
MW
~
(
A
)
HOLDER
(
A
)
7
W
32
XQ
0
KQ
3
Q
82
BRACKET
X
00
K
03083
移動
71
/
-
A
FRAME
XQQKQ
3085
U
T
=
A
ARM
XVG
8
B
40
FP
4
六角
4
’
M
35
HEXAGON
BOLT
I
MM
40
"
PX
00
K
03
-
000
-
1
JJ
M
20

部品供給部
(
Z
軸駆動部
⑴
丽
-
8824
C
用
)
3
~
|
FEEDER
CARRIAGE
(
Z
-
AXIS
DRIVING
⑴
NM
-
8824
C
TYPE
)
r
V
008
V
021
V
014
PXOOKQ
3
-
VOOO
-
1
EJ

部品供給部
(
Z
軸駆動部
⑴
NM
-
8824
C
用
)
31
FEEDER
CARRIAGE
(
Z
-
AXIS
DRIVING
⑴
NM
-
8824
C
TYPE
)
考
部
個数
備
番
名
品
品
No
.
Q
’
TY
REMARKS
REF
PART
No
.
PART
NAME
No
.
六角穴付
Of
M
8
X
30
V
004
XVE
8
B
30
FP
HEXAGON
SOCKET
HEAD
SCREW
8
六角穴付
f
H
4
V
006
XVE
8
B
20
FP
HEXAGON
SOCKET
HEAD
SCREW
4
M
8
X
20
六角穴付
V
007
XVE
6
B
25
FP
HEXAGON
SOCKET
HEAD
SCREW
12
M
6
X
25
六角穴付
VM
V
008
XVE
6
B
20
FP
HEXAGON
SOCKET
HEAD
SCREW
8
M
6
X
20
六角穴付
JlOP
卜
V
009
XVE
6
B
16
FP
HEXAGON
SOCKET
HEAD
SCREW
M
6
X
16
4
六角穴付
tnn
VO
12
XVE
5
B
12
FP
HEXAGON
SOCKET
HEAD
SCREW
16
M
5
X
12
六角穴付
f
JH
V
013
HEXAGON
SOCKET
HEAD
SCREW
98
M
5
X
10
XVE
5
B
10
FP
六角穴付
VM
VO
14
HEXAGON
SOCKET
HEAD
SCREW
M
4
X
20
XVE
4
B
20
FP
4
六角穴付
VO
18
HEXAGON
SOCKET
HEAD
SCREW
XVE
3
B
8
FP
20
M
3
X
8
六角 穴付 以 於
VO
19
XVE
5
B
25
FP
HEXAGON
SOCKET
HEAD
SCREW
81
M
5
X
25
六角
V
021
XNH
10
DFP
HEXAGON
NUT
M
10
,
\
yi
4
PX
00
K
03
-
V
000
-
1
E
.
A
M
22