NM-8224A,B,C PARTS LIST(EC TYPE)_.pdf - 第43页
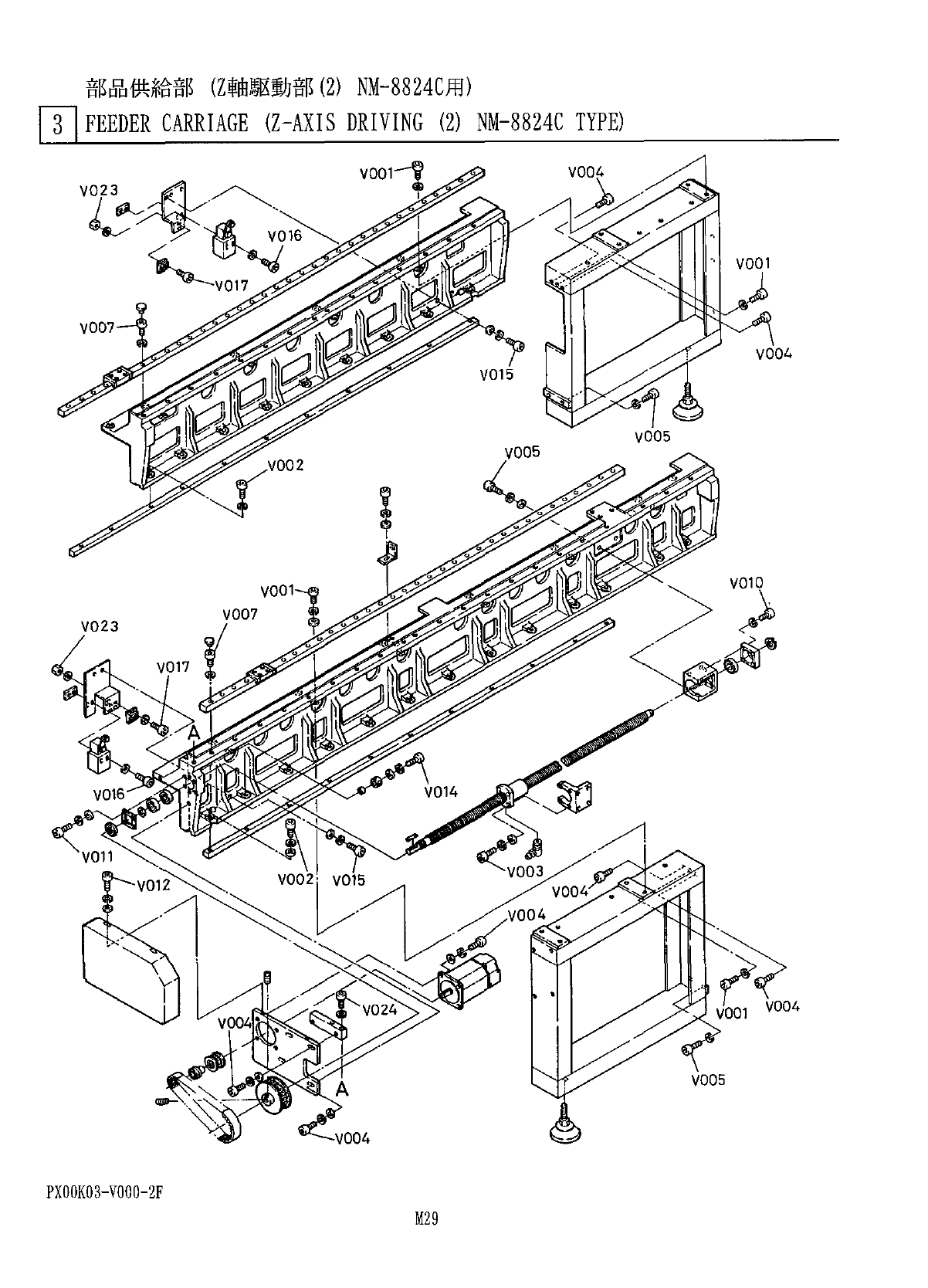
部品供給部 ( Z 軸駆動部 ⑵ NM - 8824 C 用 ) 31 FEEDER CARRIAGE ( Z - AXIS DRIVING ( 2 ) NM - 8824 C TYPE ) 懷 個 数 考 部 名 備 番 品 品 No . PART NAME Q ’ TY REMARKS REF PART No . No . 六角穴付 fTF HEXAGON SOCKET HEAD SCREW 24 MI 0 X 35 V 001 X…

部品供給部
(
Z
軸駆動部
⑵
NM
-
8824
C
用
)
3
~
l
FEEDER
CARRIAGE
(
Z
-
AXIS
DRIVING
(
2
)
NM
-
8824
C
TYPE
)
voor
V
004
brA
^
-
V
017
V
001
V
007
N
V
004
V
015
V
005
V
005
V
002
I
V
010
V
001
V
007
V
023
V
004
V
001
V
005
A
V
004
PX
00
K
03
-
V
000
-
2
F
M
29

部品供給部
(
Z
軸駆動部
⑵
NM
-
8824
C
用
)
31
FEEDER
CARRIAGE
(
Z
-
AXIS
DRIVING
(
2
)
NM
-
8824
C
TYPE
)
懷
個数
考
部
名
備
番
品
品
No
.
PART
NAME
Q
’
TY
REMARKS
REF
PART
No
.
No
.
六角穴付
fTF
HEXAGON
SOCKET
HEAD
SCREW
24
MI
0
X
35
V
001
XVE
10
B
35
FP
六角穴付
^
U
HEXAGON
SOCKET
HEAD
SCREW
M
8
X
40
V
002
XVE
8
B
40
FP
22
六角穴付
f
於
HEXAGON
SOCKET
HEAD
SCREW
V
003
XVE
8
B
35
FP
4
M
8
X
35
六角穴付
Oh
Y
004
XVE
8
B
30
FP
HEXAGON
SOCKET
HEAD
SCREW
12
M
8
X
30
六角穴付
f
)
14
HEXAGON
SOCKET
HEAD
SCREW
8
M
8
X
25
V
005
XVE
8
B
25
FP
六角穴 付 矿 讣
HEXAGON
SOCKET
HEAD
SCREW
36
M
6
X
25
V
007
XVE
6
B
25
FP
六角 穴 付 扩朴
HEXAGON
SOCKET
HEAD
SCREW
M
5
X
30
VO
10
XVE
5
B
30
FP
4
六角穴 付 扩 針
HEXAGON
SOCKET
HEAD
SCREW
M
5
X
20
V
011
XVE
5
B
20
FP
4
六角穴付
f
針
HEXAGON
SOCKET
HEAD
SCREW
M
5
X
12
VO
12
XVE
5
B
12
FP
4
六角穴付
f
JH
HEXAGON
SOCKET
HEAD
SCREW
VO
14
XVE
4
B
20
FP
4
M
4
X
20
六角穴付
VO
15
XVE
4
B
18
FP
HEXAGON
SOCKET
HEAD
SCREW
M
4
X
18
4
六角穴付
VM
V
016
HEXAGON
SOCKET
HEAD
SCREW
M
3
X
28
XVE
3
B
28
FP
4
六角穴付
HEXAGON
SOCKET
HEAD
SCREW
VO
17
XVE
3
B
14
FP
8
M
3
X
14
<
m
3
>
<
DELETE
>
V
020
六角
f
'
yY
V
023
HEXAGON
NUT
XNG
3
AFP
8
M
3
,
lvi
六角穴付
V
024
XVE
6
B
50
FP
HEXAGON
SOCKET
HEAD
SCREW
2
M
6
X
50
PXOOKQ
3
-
VOOO
-
2
F
M
30

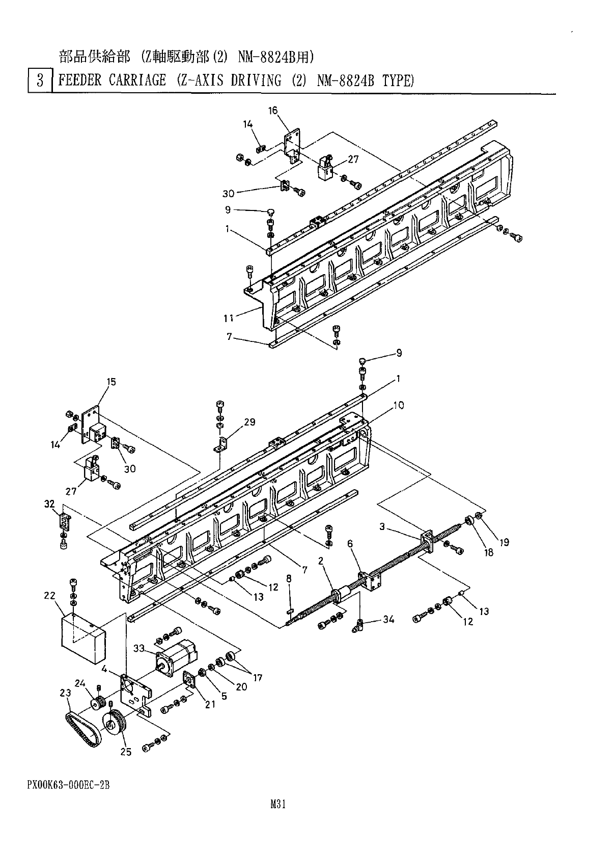
部品供給部
(
Z
軸駆動部
⑵
NM
-
8824
調
)
J
]
FEEDER
CARRIAGE
(
Z
-
AXIS
DRIVING
(
2
)
NM
-
8824
B
TYPE
)
PX
00
K
63
-
000
EC
-
2
B