NM-8224A,B,C PARTS LIST(EC TYPE)_.pdf - 第54页
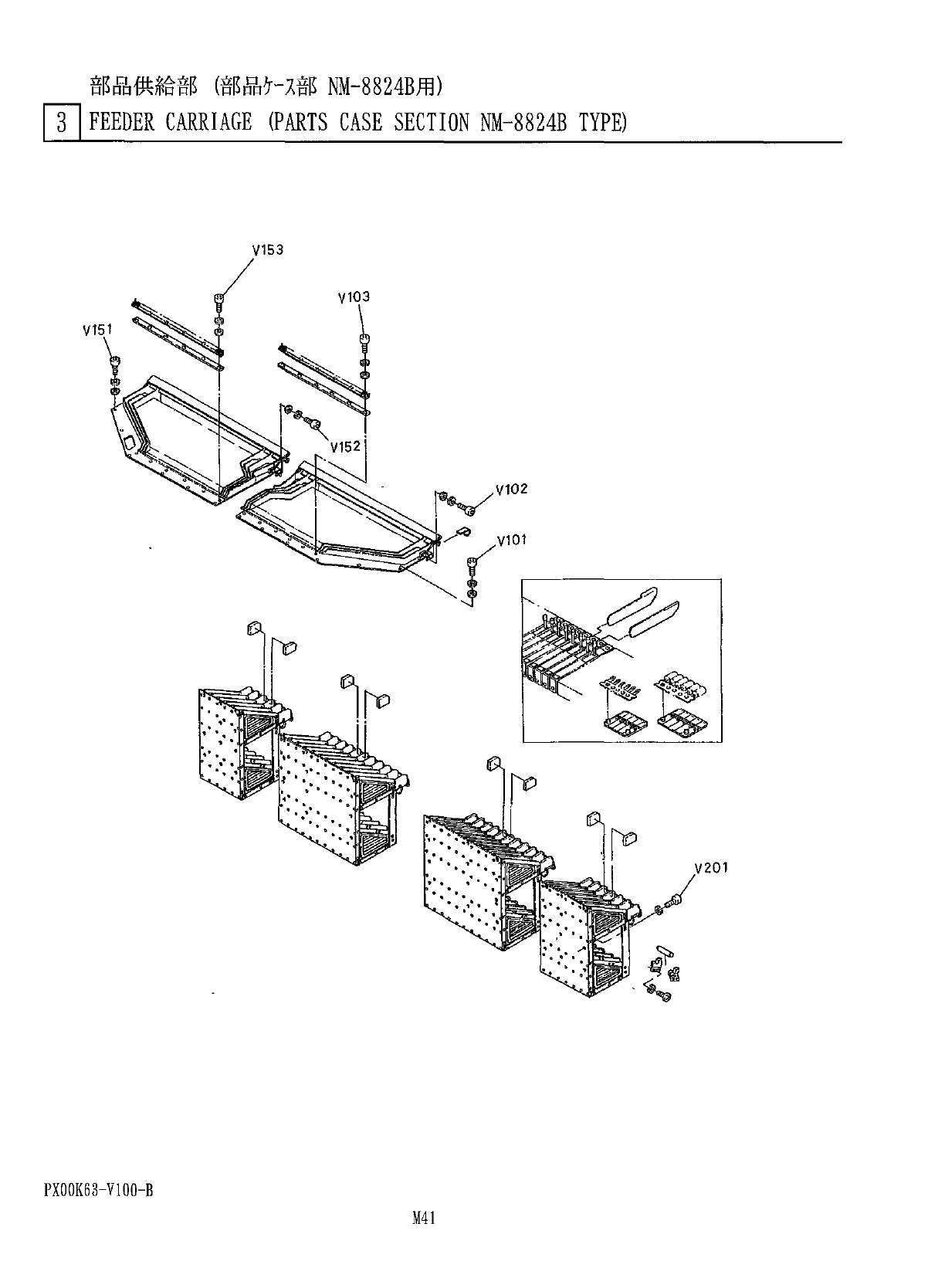
部 品 供 給 部 ( 部 品 部 NM - 8824 B 用 ) 3 l FEEDER CARRIAGE ( PARTS CASE SECTION NM - 8824 B TYPE ) PX 00 K 63 - V 1 OO - B M 41

部品供給部
(
部品部
NM
-
8824
B
用
)
J
]
FEEDER
CARRIAGE
(
PARTS
CASE
SECTION
NM
-
8824
B
TYPE
)
考
個数
備
部
名
番
品
品
No
.
Q
'
TY
REMARKS
PART
NAME
REF
PART
No
.
No
.
反射
7
-
1
/
-
卜
REFLECTION
PLATE
X
00
K
63102
mv
力
,
仆
SLIDE
GUIDE
lset
2
X
00
K
63103
W
UPPER
PLATE
(
LEFT
)
WWW
)
X
00
K
63139
4
部品押工
HOLDER
X
00
K
63143
5
OTTFF
REFLECTION
PLATE
X
00
K
63152
wv
力
仆
’
SLIDE
GUIDE
lset
X
00
K
63153
UPPER
PLATE
(
RIGHT
)
天板
(
右
)
8
X
00
K
63189
部
S
持
i
HOLDER
X
00
K
63193
9
MFT
TO
X
00
K
01102
A
10
軸受
(
左
>
BEARING
HOLDER
(
LEFT
)
10
X
00
K
01103
11
軸受
(
右
)
BEARING
HOLDER
(
RIGHT
)
10
T
2
X
00
K
01104
T
t
°
W
Y
-
y
TAPING
GAUGE
13
X
031
-
151
f
k
°
y
?
*
Y
~
V
X
031
-
152
TAPING
GAUGE
14
SPACER
I
X
003
-
705
15
丽
PLATE
5
16
X
020
-
516
W
IT
<
24
>
T
8
部品
:
dh
(
右
)
PARTS
CASE
UNIT
(
RIGHT
)
T
9
X
00
K
63201
B
部品
ir
-
7
二分
(
右
>
PARTS
CASE
UNIT
(
RIGHT
)
X
00
K
63241
B
20
PARTS
CASE
UNIT
(
LEFT
)
部品
jr
-
Z
二外
(
左
>
X
00
K
63261
B
21
部品
二
》
)
1
(
左
>
PARTS
CASE
UNIT
(
LEFT
)
22
X
00
K
63221
B
T
¥
m
~
m
小衫
‘
23
XST
4
+
6
FY
SCREW
16
M
4
X
6
~
<
M
>
24
W
25
W
26
W
27
<
34
>
28
w
29
<
34
>
30
31
軸受
BEARING
HOLDER
32
X
003
-
347
A
4
緩衝材
(
A
)
ABSORBER
PLATE
(
A
)
33
X
00
K
03259
B
31
緩衝材
(
B
)
ABSORBER
PLATE
(
B
)
M
X
00
K
03259
C
IT
PX
00
K
63
-
200
-
E
_
A
M
40

部品供給部
(
部品部
NM
-
8824
B
用
)
3
l
FEEDER
CARRIAGE
(
PARTS
CASE
SECTION
NM
-
8824
B
TYPE
)
PX
00
K
63
-
V
1
OO
-
B
M
41

部品供給部
(
部品卜
X
部
NM
-
8824
B
用
)
J
]
FEEDER
CARRIAGE
(
PARTS
CASE
SECTION
NM
-
8824
B
TYPE
)
価
備
考
個数
部
名
番
品
品
No
.
PART
NAME
Qr
TY
REMARKS
PART
No
.
REF
No
.
六角穴付
f
M
HEXAGON
SOCKET
HEAD
SCREW
9
M
5
X
8
V
101
XVE
5
B
8
FP
六角穴付
HEXAGON
SOCKET
HEAD
SCREW
M
4
X
10
V
102
XVE
4
B
10
FP
2
六角穴付
f
^
HEXAGON
SOCKET
HEAD
SCREW
6
M
3
X
6
V
103
XVE
3
B
6
FP
六角穴付
^
\
n
HEXAGON
SOCKET
HEAD
SCREW
9
15
X
8
V
151
XVE
5
B
8
FP
六角穴付
HEXAGON
SOCKET
HEAD
SCREW
2
M
4
X
10
TO
XVE
4
B
10
FP
六角穴付
HEXAGON
SOCKET
HEAD
SCREW
M
3
X
6
V
153
XVE
3
B
6
FP
6
六角穴付
V
201
HEXAGON
SOCKET
HEAD
SCREW
46
M
6
X
15
XVE
6
B
15
FP
PX
00
K
63
-
V
100
-
B
M
42