NM-8224A,B,C PARTS LIST(EC TYPE)_.pdf - 第83页
揷 入 A 7 K 部 ⑴ f \ INSERTION HEAD SECTION ⑴ im 考 部 個 数 備 番 名 品 品 No . Q ' TY REMARKS REF PART No . PART NAME No . TA ' 37 - V W ¥ 7009 A - DF XLLN 7009 ADF ANGULAR BEARING lset < 4 l > 2 I XNRNFU 09 SC BEA…

揷 入
A
、
yK
部
⑴
el
INSERTION
HEAD
SECTION
(
1
)
39
29
25
30
2 1
16
44
43
40
14
PX
00
K
04
-
10
Q
-
1
FJ
M
67

揷 入
A
7
K
部
⑴
f
\
INSERTION
HEAD
SECTION
⑴
im
考
部
個数
備
番
名
品
品
No
.
Q
'
TY
REMARKS
REF
PART
No
.
PART
NAME
No
.
TA
'
37
-
V
W
¥
7009
A
-
DF
XLLN
7009
ADF
ANGULAR
BEARING
lset
<
4
l
>
2
I
XNRNFU
09
SC
BEARING
NUT
FU
09
SC
<
42
>
4
XPJ
6
C
18
FW
H
7
A
-
D
6
X
18
5
PARALLEL
PIN
2
Mh
.
上下軸
X
00
K
04117
HEAD
UP
/
DOWN
SHAFT
6
■
F
3
X
3
X
20
jiM
XPA
3
L
3
F
20
7
KEY
v
;
K
7
卜厶
X
00
K
04125
8
HEAD
FRAME
ffl
9
X
00
K
04126
RETAINER
<
JW
TO
XLCNF
608
ZZ
BEARING
FMMZ
<
JW
XLC
608
ZZ
11
BEARING
608
ZZ
W
12
X
00
K
04129
B
SHAFT
押工
13
XQ
0
K
04130
BEARING
RETAINER
T
7
F
X
00
K
04131
14
GUIDE
X
00
K
04132
IEVER
15
引張八
’
本
T
6
X
00
K
04133
SPRING
7
M
。
-
X
00
K
04134
STOPPER
17
PARALLEL
PIN
H
XPJ
5
C
15
FW
H
7
A
-
D
5
X
15
TT
19
X
00
K
04138
GEAR
irw
t
°
>
XPL
25
A
16
WFW
SPRING
PIN
20
D
2.5
X
16
A
-
雛
r
IT
X
00
K
04140
SPRING
HOOK
PLATE
<
43
>
22
K
-
tf
-
23
X
00
K
04146
SPACER
本体
77
>
v
X
00
K
04149
24
FLANGE
W
取付
7
’
D
#
25
X
00
K
04151
BLOCK
26
X
00
K
04152
力
5
-
COLLAR
77
?
7
b
*
;
A
*
-
27
X
00
K
04161
RACK
STOPPER
六角穴付止
;
*
衫
’
28
XXE
3
C
4
FP
SET
SCREW
5
M
3
X
4
,
tm
nXtrA
-
(
B
)
29
X
004
-
105
-
1
INSERT
PUSHER
(
B
)
30
X
004
-
105
-
2
揷入
/
]
’
A
INSERT
PUSHER
RUBBER
10
31
XPL
2
A
10
WFW
n
-
f
t
°
>
ROLL
PIN
2
WTO
上端
XhW
-
32
X
004
-
108
UPPER
END
STOPPER
33
平行
>
XPJ
4
C
14
FW
PARALLEL
PIN
I
H
7
A
-
D
4
X
14
34
X
004
-
113
7
,
夕
RACK
35
XPA
3
L
3
F
10
KEY
3
X
3
X
10
.
wm
36
X
004
-
117
COHAR
夕
⑽
匕
》
37
XPJ
3
A
10
FW
PARALLEL
PIN
M
6
A
-
D
3
X
10
FOiFTT
38
XPJ
4
A
15
FW
PARALLEL
PIN
2
H
7
A
-
D
4
X
15
39
X
004
-
351
7
°
TA
-
H
7
卜
PUSHER
SHAFT
40
X
004
-
129
移
-
>
替
1
位置外
POSITIONING
STOPPER
AW
回転軸
41
X
00
K
04174
HEAD
ROTATION
SHAFT
力
’
*
fK
7
l
/
A
42
X
00
K
04175
GUIDE
CHUCK
FRAME
A
*
播
m
卜
43
X
00
K
04178
SPRING
HOOK
PLATE
V
7
>
J
>
夕
’
44
XLCNW
683
ZZA
BEARING
W
683
ZZA
45
X
001
-
053
力卜
COLLAR
4
M
435
46
X
001
-
040
-
2
WASHER
M
539
4
PX
00
K
04
-
100
-
1
F
_
A
M
68

PXOOK
04
-
V
100
-
1
C
M
69
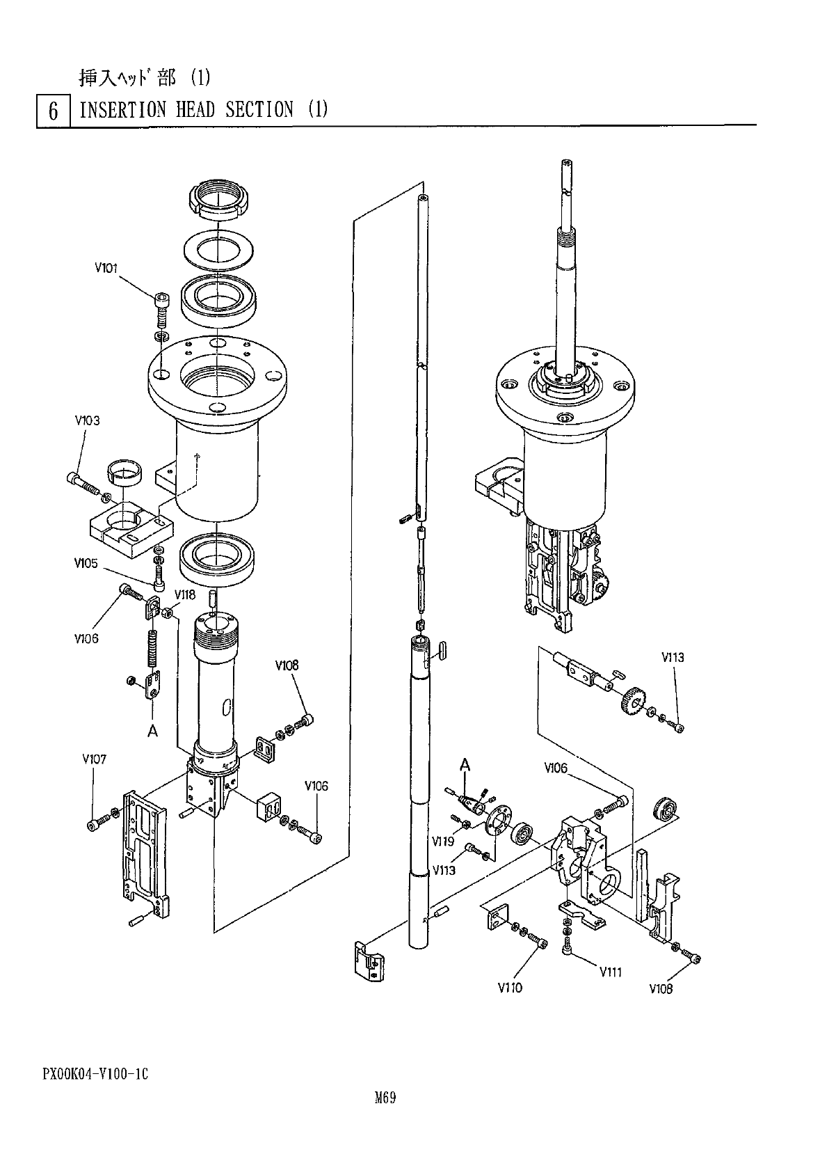
挿入
A
、
yK
’
部
⑴
6
~
|
INSERTION
HEAD
SECTION
(
1
)
13
08
VI
V
1
@
w
l
N
»
«
»
10
e
V
1
A
19
/
13
VIVI
01
VI