NM-8224A,B,C PARTS LIST(EC TYPE)_.pdf - 第199页
力 部 ( 下 部 力 部 ) 2 ll COVER SECTION ( UNDER COVER SECTION ) 考 部 個 数 備 番 名 品 品 No . Q ’ TY REMARKS PART NAME PART No . REF No . 六角穴付 FIT HEXAGON SOCKET HEAD SCREW M 5 XT 0 V 004 XVE 5 B 10 FP 4 六角穴付 《 於 HEXAGON SOCKET HEAD…

力 部
(
下 部 力
/
V
-
部
)
2
ll
COVER
SECTION
(
UNDER
COVER
SECTION
)
I
<
PX
00
K
09
-
V
000
EC
-
2
E
M
179

力 部
(
下 部 力 部
)
2
ll
COVER
SECTION
(
UNDER
COVER
SECTION
)
考
部
個数
備
番
名
品
品
No
.
Q
’
TY
REMARKS
PART
NAME
PART
No
.
REF
No
.
六角穴付
FIT
HEXAGON
SOCKET
HEAD
SCREW
M
5
XT
0
V
004
XVE
5
B
10
FP
4
六角穴付
《
於
HEXAGON
SOCKET
HEAD
SCREW
M
6
X
10
V
005
XVE
6
B
10
FP
12
六 角 穴 付 卜
HEXAGON
SOCKET
HEAD
SCREW
M
6
X
15
V
006
XVE
6
B
15
FP
6
六角穴付
JlOH
Y
008
XVE
3
B
6
FP
HEXAGON
SOCKET
HEAD
SCREW
12
M
3
X
6
六角穴付
HEXAGON
SOCKET
HEAD
SCREW
5
M
4
X
6
V
009
XVE
4
B
6
FP
PX
00
K
09
-
V
000
EC
-
2
E
M
180

4
C
26
29
35
PX
00
KQ
9
-
200
EC
-
1
E
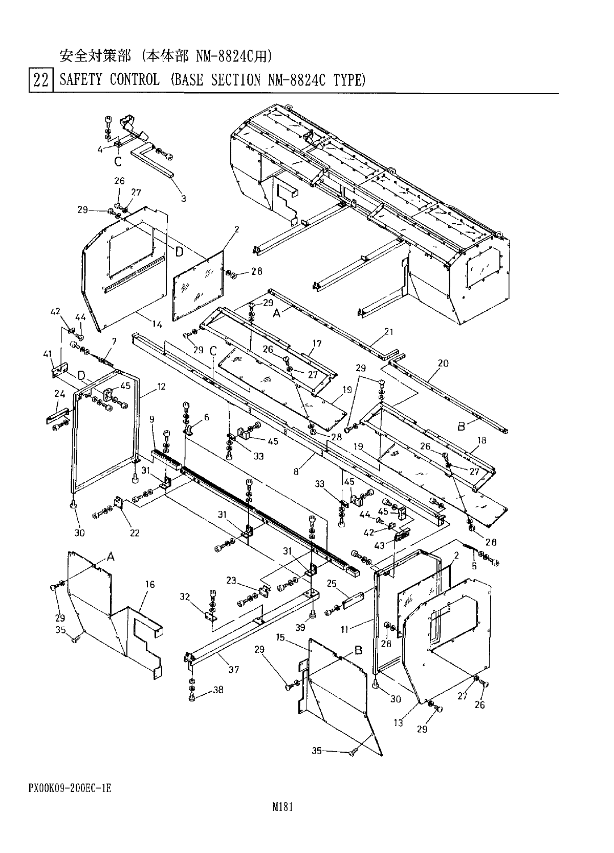
安全対策部
(
本体部
NM
-
8824
C
用
)
SAFETY
CONTROL
(
BASE
SECTION
NM
-
8824
C
TYPE
)
D