NM-8224A,B,C PARTS LIST(EC TYPE)_.pdf - 第162页
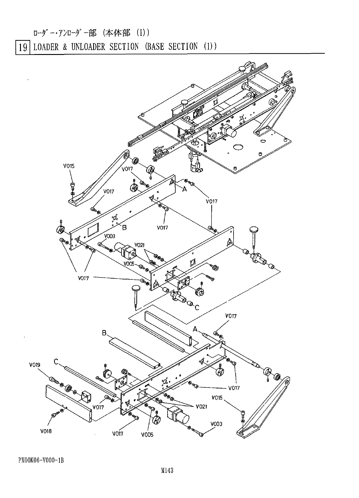
口 - 夕 , - - 7 > D - 夕 、 、 - 部 ( 本体部 ⑴ ) 19 l LOADER & UNLOADER SECTION ( BASE SECTION ⑴ ) PX 00 K 06 - V 000 - 1 B

口 部
(
本 体 部
⑴
)
Igl
LOADER
&
UNLOADER
SECTION
(
BASE
SECTION
(
D
)
im
考
部
個数
備
名
番
品
品
No
.
Q
’
TY
REMARKS
PART
NAME
REF
PART
No
.
No
.
WF
■
MFT
X
00
K
0604
I
SHAFT
I
X
00
K
06042
外
7
卜
2
7
FF
KATE
I
X
00
K
06043
T
k
-
!
-
PLATE
X
00
K
06044
1
4
六角穴付止
》
W
T
M
4
XT
0
TBW
SET
SCREW
S
'
XXE
4
C
10
FP
六角穴付止彡京
/
M
5
X
12
,
丽
SET
SCREW
T
2
I
XXE
5
C
12
FP
六角穴付皿
t
;
‘
%
HEXAGON
SOCKET
SCREW
4
M
3
X
35
T
N
986
YYYY
-
688
W
8
"
W
揺動板
(
c
>
SHAKING
PLATE
(
0
TO
X
00
K
06050
t
-
夕
-
r
H
MOTOR
PLATE
2
X
00
K
06051
11
XQ
0
K
06
Q
52
PULLEY
2
12
MB
019000
N
648
MB
019000
PULLEY
T
13
1
W
X
00
K
06
O
55
FLANGE
6
14
1
W
2
X
00
K
06
Q
56
FLANGE
15
V
7
y
>
夕
’
BEARING
MOZl
T
6
XLC
6300
ZZ
W
17
BLOCK
YnW
18
X
0
QKO
6
O
59
I
¥
7
v
;
K
GEAR
HEAD
2
M
4
GA
12.5
F
19
M
4
GA
12.5
F
小 型 夕
10
T
0
R
2
M
4
RA
1
G
4
L
4
P
1
W
100
V
20
M
4
RA
1
G
4
L
IT
XLC
6001
ZZ
BALL
BEARING
I
600
IZI
)
1
'
7
,
9
-
KNOB
22
X
006
-
334
I
M
6
X
115
丽
23
X
006
-
159
-
1
SHAFT
HOLDER
W
SHAFT
HOLDER
24
X
0
Q
6
-
159
-
2
YW
^
nW
2
F
N
520
MB
1420
DU
DRY
BEARING
MB
1420
DU
T
揺動板
(
A
)
SHAKING
PLATE
(
A
)
26
"
X
00
K
06063
揺動板
(
B
)
SHAKING
PLATE
(
B
)
2
T
X
00
K
06064
TFF
PLATE
28
X
00
K
06067
PX
00
K
06
-
000
-
1
D
M
142

口
-
夕
,
-
-
7
>
D
-
夕
、
、
-
部
(
本体部
⑴
)
19
l
LOADER
&
UNLOADER
SECTION
(
BASE
SECTION
⑴
)
PX
00
K
06
-
V
000
-
1
B

口
-
夕
、
部
(
本 体 部
⑴
)
Igl
LOADER
&
UNLOADER
SECTION
(
BASE
SECTION
⑴
)
個数
備
考
部
番
品
名
No
.
ca
REMARKS
PART
NAME
Q
'
TY
REF
PART
No
.
No
.
六角穴付东
1
卜
HEXAGON
SOCKET
HEAD
SCREW
4
M
3
X
50
V
003
XVG
3
B
50
FP
M
4
X
10
六角穴付扩針
HEXAGON
SOCKET
HEAD
SCREW
8
V
005
XVG
4
B
10
FP
M
8
X
25
六角穴付
*
*
H
4
V
015
XVG
8
B
25
FP
HEXAGON
SOCKET
HEAD
SCREW
六角穴付於朴
37
M
5
X
10
HEXAGON
SOCKET
HEAD
SCREW
VO
17
XVG
5
B
10
FP
六角穴付扩朴
HEXAGON
SOCKET
HEAD
SCREW
2
M
6
X
16
VO
18
XVG
6
B
16
FP
六角穴付私
W
HEXAGON
SOCKET
HEAD
SCEE
1
M
10
X
30
VO
19
XVH
10
B
30
FP
六角
TvY
HEXAGON
NUT
M
4
,
lyi
V
021
XNG
4
AFP
4
PX
00
K
06
-
VD
00
-
1
B
M
144