NM-8224A,B,C PARTS LIST(EC TYPE)_.pdf - 第92页
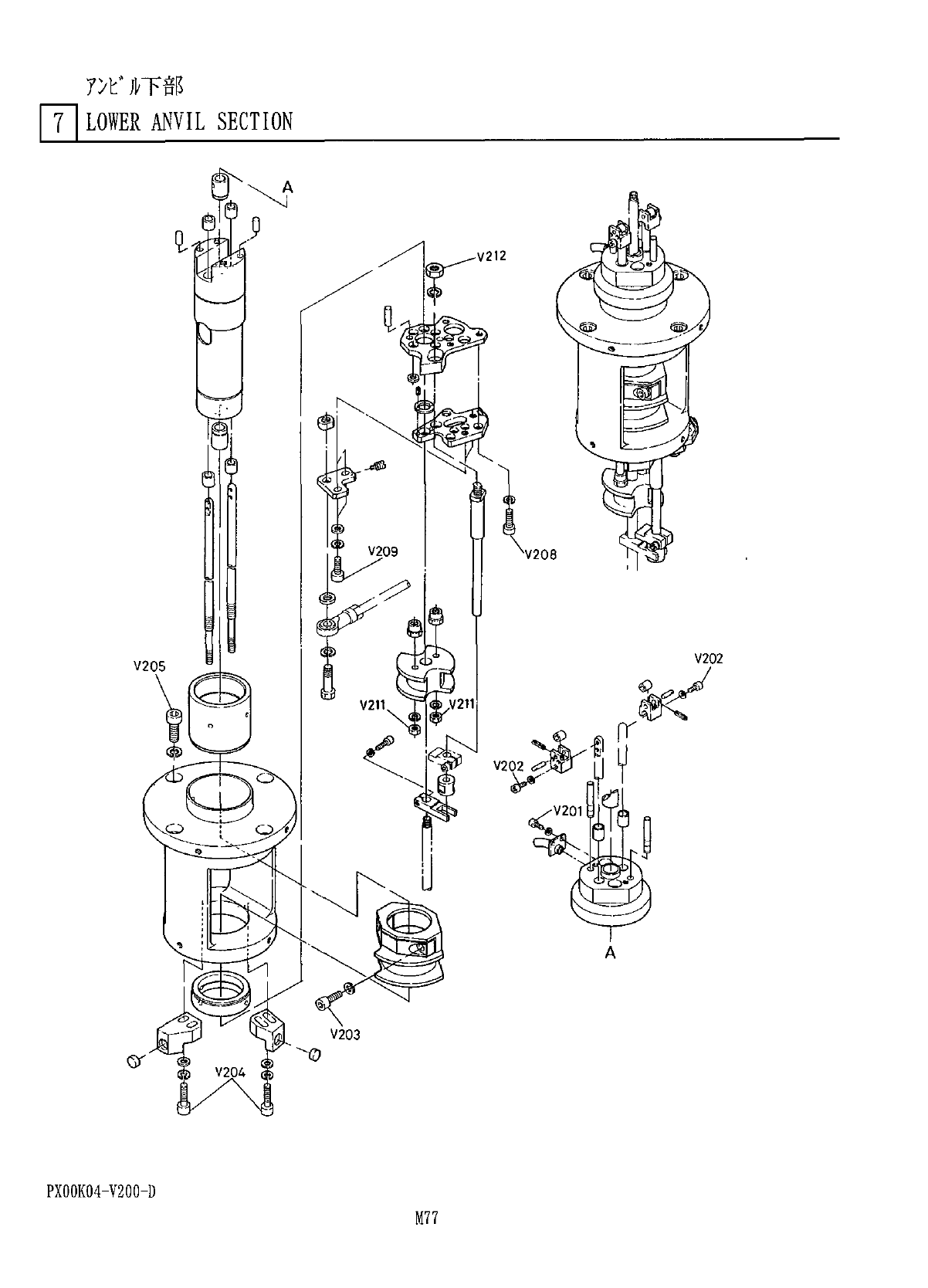
7 > t 1 下部 7 ] LOWER ANVIL SECTION A p 4 V 212 r PXOOK 04 - V 200 - D M 77

7
>
t
'
'
I
下部
71
LOWER
ANVIL
SECTION
考
部
名
個数
備
番
品
品
No
.
PART
NAME
Q
'
TY
REMARKS
REF
PART
No
.
No
.
M
7
扣
7
-
受
(
A
)
CAM
FOLLOWER
HOLDER
(
A
)
X
00
K
04203
IdiY
丽
XQ
0
K
04208
SLIDE
SHAFT
2
<
m
'
3
>
<
DELETE
>
3
CAM
FOLLOWER
HOLDER
(
B
)
U
7
才
D
7
-
受
®
X
00
K
04210
T
T
7
.
奶
BUSHING
X
00
K
04212
7
’
BUSHING
6
X
00
K
04213
BUSHING
X
00
K
04214
7
T
/
J
7
*
T
/
J
BUSHING
X
00
K
04215
取付
77
»
'
ANVIL
MOUNTING
FLANGE
9
X
00
K
04216
J
>
TWW
ANVIL
BODY
X
00
K
04217
10
7
°
r
/
t
-
X
00
K
04219
PUSHER
2
11
1
WH
回転
ANVIL
ROTATION
STOPPER
12
X
00
K
04220
又卜奶
。
-
X
00
K
04221
STOPPER
I
13
7
>
f
)
1
-
回転
IhK
-
X
00
K
04222
ANVIL
ROTATION
STOPPER
14
W
15
W
16
irW
o
X
00
K
04227
COLLAR
17
T
8
XPL
2
A
6
WFW
SPRING
PIN
2
D
2
X
6
NUT
T
9
X
00
K
04156
:
(
^
卜
調整扩补
X
00
K
04158
BOLT
20
V
)
W
-
21
X
00
K
04164
SLIDER
T
COLLAR
力尸
22
X
00
K
04166
IF
COLLAR
23
X
00
K
04167
3
TO
BOLT
24
X
00
K
04168
<
m
'
3
>
<
DELETE
>
25
TWY
7
26
XPJ
6
C
12
FW
PARALLEL
PIN
H
7
A
-
D
6
X
12
2
VW
7
n
N
520
MB
0812
DU
DRY
METAL
27
6
MB
0812
DU
F
7
28
X
004
-
033
PTN
2
WVTYJ
XPL
2
A
12
WFW
SPRING
PIN
29
2
D
2
X
12
F
7
30
X
004
-
074
PIN
2
X
004
-
075
ROLLER
31
Q
-
7
-
2
rn
JA
*
-
B
2
X
004
-
386
DUST
COVER
33
X
004
-
387
DUST
COVER
fi
-
r
継手
X
004
-
388
TUBE
JOINT
N
560
SSWA
-
028
W
35
COLLAR
SSWA
15
-
2
.
0
M
X
005
-
004
NUT
2
37
X
005
-
014
回転止
ROTARY
STOPPER
38
X
005
-
015
BEARING
HOLDER
39
XPJ
6
C
20
FW
平行匕
。
>
PARALLEL
PIN
H
7
A
-
D
6
X
20
40
X
005
-
329
PUSHER
ROD
2
41
W
42
W
If
-
/
(
3
)
43
X
00
K
04231
STAGE
(
3
)
44
X
00
K
04232
W
⑷
STAGE
⑷
PX
00
K
04
-
200
-
E
_
A
M
76

7
>
t
1
下部
7
]
LOWER
ANVIL
SECTION
A
p
4
V
212
r
PXOOK
04
-
V
200
-
D
M
77

r
>
t
'
'
)
FF
部
71
LOWER
ANVIL
SECTION
考
部
個数
備
品
名
番
品
No
.
Q
’
TY
REMARKS
PART
NAME
REF
PART
No
.
No
.
六角穴 付 扩
JH
HEXAGON
SOCKET
HEAD
SCREW
2
M
3
X
10
V
201
XVE
3
B
10
FP
六角 穴付 栌 針
HEXAGON
SOCKET
HEAD
SCREW
4
M
4
X
15
V
202
XVE
4
B
15
FP
六角穴付
tnn
M
6
X
20
V
203
HEXAGON
SOCKET
HEAD
SCREff
5
XVE
6
B
20
FP
六角 穴 付扩針
HEXAGON
SOCKET
HEAD
SCREW
4
M
6
X
25
V
204
XVE
6
B
25
FP
六角穴 付 栌 針
HEXAGON
SOCKET
HEAD
SCREW
4
M
8
X
20
V
205
XVE
8
B
20
FP
<
m
3
><
DELETE
>
V
207
六角穴付
*
1
卜
V
208
HEXAGON
SOCKET
HEAD
SCREW
3
M
5
X
16
XVE
5
B
16
FP
六角穴付
V
209
HEXAGON
SOCKET
HEAD
SCREW
2
M
6
X
16
XVE
6
B
16
FP
六角 于 外
HEXAGON
NUT
2
M
6
,
Ivi
mi
XNG
6
DFP
六角于
7
卜
HEXAGON
NUT
M
8
,
lyi
V
212
XNG
8
DFP
PX
00
K
04
-
V
200
-
D
M
78