NM-8224A,B,C PARTS LIST(EC TYPE)_.pdf - 第45页
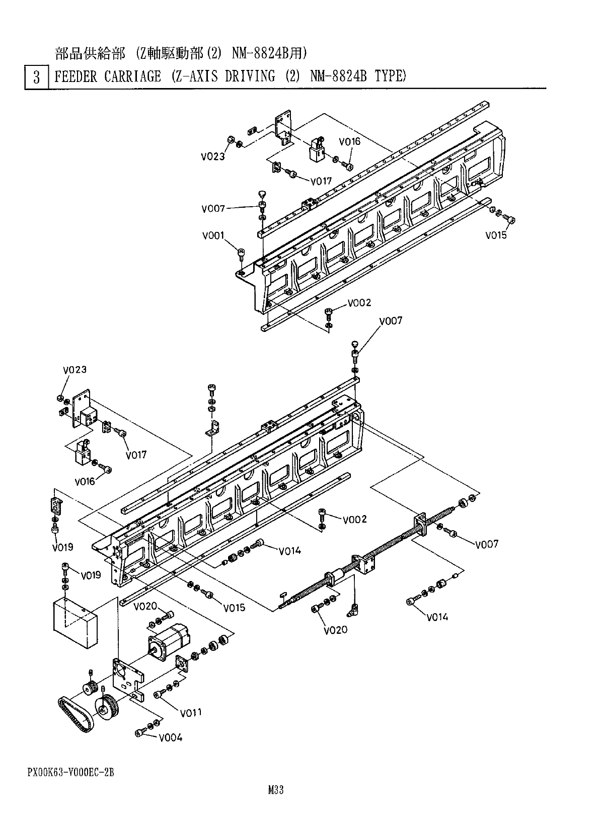
部 品 供 給 部 ( Z 軸 駆 動 部 ⑵ NM - 8824 B 用 ) FI FEEDER CARRIAGE ( Z - AXIS DRIVING ( 2 ) NM - 8824 B TYPE ) 個 数 備 考 部 品 名 品 番 No . PART NAME Q ’ TY REMARKS PART No . REF No . IMTTT LM GUIDE I XOOK 63001 BALL SCREW XOOK 63004 …

部品供給部
(
Z
軸駆動部
⑵
NM
-
8824
調
)
J
]
FEEDER
CARRIAGE
(
Z
-
AXIS
DRIVING
(
2
)
NM
-
8824
B
TYPE
)
PX
00
K
63
-
000
EC
-
2
B

部品供給部
(
Z
軸駆動部
⑵
NM
-
8824
B
用
)
FI
FEEDER
CARRIAGE
(
Z
-
AXIS
DRIVING
(
2
)
NM
-
8824
B
TYPE
)
個数
備
考
部
品
名
品
番
No
.
PART
NAME
Q
’
TY
REMARKS
PART
No
.
REF
No
.
IMTTT
LM
GUIDE
I
XOOK
63001
BALL
SCREW
XOOK
63004
2
7
.
竹外
BRACKET
3
X
00
K
63005
乇
-
夕
-
7
。
[
/
-
卜
MOTOR
PLATE
X
00
K
63007
4
BEARING
NUT
FU
03
SC
XNRNFU
03
SC
5
7
’
iM
BRACKET
6
X
00
K
63009
7
TT
OTE
2
X
00
K
63010
7
KEY
5
X
5
X
45
,
㈣
彻
8
XPA
5
L
5
F
45
F
'
CAP
60
C
6
9
N
513
C
6
軸受
7
V
-
A
(
B
2
)
FRAME
(
B
2
)
TO
X
00
K
63051
軸受
7
V
-
A
(
B
3
)
FRAME
(
B
3
)
X
00
K
63052
11
又
bA
。
-
STOPPER
T
2
X
00
K
03017
4
COLLAR
IF
13
X
00
K
03018
4
7
U
PLATE
2
14
X
00
K
03029
7
才
h
r
XOOKO
3
O
60
PHOTO
BRACKET
15
JWTlM
PHOTO
BRACKET
X
00
K
03061
16
TA
'
27
-
)
]
/
X
VYJV
ANGULAR
BALL
BEARING
7203
ADB
-
P
5
17
XLLN
7203
-
036
lset
*
*
-
JV
V
V
)
W
BALL
BEARING
mm
XLC
6202
ZZ
18
Vrff
W
SNAP
RING
19
XUB
15
FP
SPACER
20
X
003
-
312
m
BEARING
RETAINER
IT
X
003
-
313
力
COTER
22
X
003
-
773
TIMING
BELT
225
L
100
23
N
641225
L
100
24
X
003
-
775
TIMING
PULLEY
WW
r
-
v
-
25
X
003
-
786
TIMING
PULLEY
26
安全极
JM
SAFETY
LIMIT
SWITCH
AT
0
-
11
-
1
-
I
/
R
27
N
300
AT
01111
R
2
28
Z
軸固定
7
>
?
T
X
00
K
01105
Z
-
AXIS
FIXED
ANGLE
2
29
N
310
EESX
671
A
7
才卜
Mb
夕
PHOTO
HIMIC
EE
-
SX
671
A
30
4
W
3
T
邛夕夕
-
7
'
分分
X
00
K
03
OT
6
CONNECTOR
BRACKET
32
AC
SERVO
MOTOR
AC
lHji
‘
壬
4
33
X
00
F
843
O
5
SGM
-
08
A
314
B
-
MT
6
-
1
力
夕
二
d
U
N
560
B
6
MT
1
BN
GREASE
NIPPLE
PX
00
K
63
-
000
EC
-
2
B
M
32

部品供給部
(
Z
軸駆動部
⑵
NM
-
8824
B
用
)
J
]
FEEDER
CARRIAGE
(
Z
-
AXIS
DRIVING
⑵
NM
-
8824
B
TYPE
)
V
007
V
001
PX
00
K
63
-
V
000
EC
-
2
B