NM-8224A,B,C PARTS LIST(EC TYPE)_.pdf - 第94页
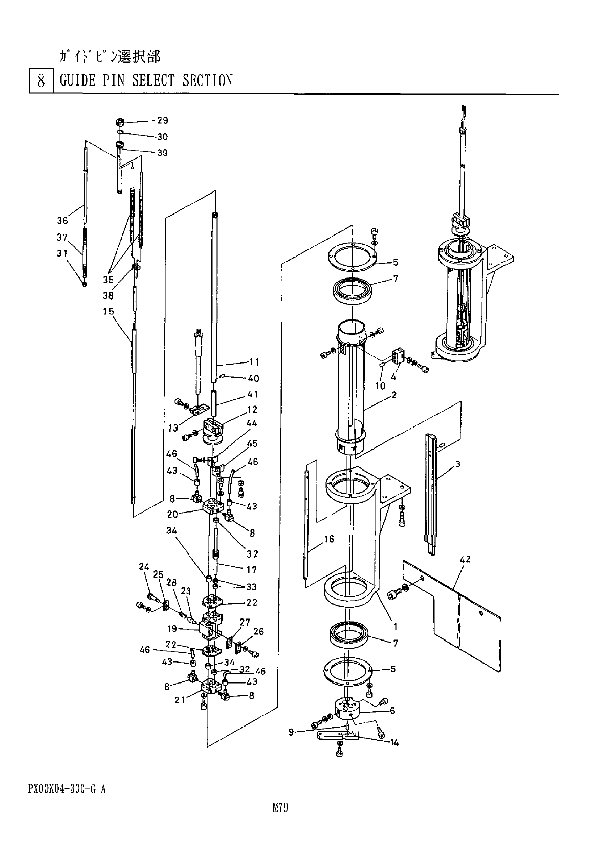
力 ? F t 。 > 選択部 8 ~ | GUIDE PIN SELECT SECTION ! 29 30 39 36 37 , 31 35 38 15 ft 1 1 40 1 41 1 2 44 13 45 46 46 3 43 1 8 43 20 34 8 16 32 42 24 17 25 28 33 23 2 2 27 19 26 2 2 46 34 43 ^ 46 43 8 8 2 1 PXQ 0 K 04 - 300…

r
>
t
'
'
)
FF
部
71
LOWER
ANVIL
SECTION
考
部
個数
備
品
名
番
品
No
.
Q
’
TY
REMARKS
PART
NAME
REF
PART
No
.
No
.
六角穴 付 扩
JH
HEXAGON
SOCKET
HEAD
SCREW
2
M
3
X
10
V
201
XVE
3
B
10
FP
六角 穴付 栌 針
HEXAGON
SOCKET
HEAD
SCREW
4
M
4
X
15
V
202
XVE
4
B
15
FP
六角穴付
tnn
M
6
X
20
V
203
HEXAGON
SOCKET
HEAD
SCREff
5
XVE
6
B
20
FP
六角 穴 付扩針
HEXAGON
SOCKET
HEAD
SCREW
4
M
6
X
25
V
204
XVE
6
B
25
FP
六角穴 付 栌 針
HEXAGON
SOCKET
HEAD
SCREW
4
M
8
X
20
V
205
XVE
8
B
20
FP
<
m
3
><
DELETE
>
V
207
六角穴付
*
1
卜
V
208
HEXAGON
SOCKET
HEAD
SCREW
3
M
5
X
16
XVE
5
B
16
FP
六角穴付
V
209
HEXAGON
SOCKET
HEAD
SCREW
2
M
6
X
16
XVE
6
B
16
FP
六角 于 外
HEXAGON
NUT
2
M
6
,
Ivi
mi
XNG
6
DFP
六角于
7
卜
HEXAGON
NUT
M
8
,
lyi
V
212
XNG
8
DFP
PX
00
K
04
-
V
200
-
D
M
78

力
?
F t
。
>
選択部
8
~
|
GUIDE
PIN
SELECT
SECTION
!
29
30
39
36
37
,
31
35
38
15
ft
11
40
1
41
12
44
13
45
46
46
3
43
1
8
43
20
34
8
16
32
42
24
17
25
28
33
23
22
27
19
26
22
46
34
43
^
46
43
8
8
21
PXQ
0
K
04
-
300
-
G
_
A
M
79

力
VK
t
°
>
選択部
8
l
GUIDE
PIN
SELECT
SECTION
部
個数
考
番
名
備
品
品
No
.
PART
NAME
Q
'
TY
REMASKS
REF
PART
No
.
No
.
T
分
?
卜
BRACKET
X
00
K
043
O
1
mMlur
ROTATION
PIPE
X
00
K
043
O
2
2
RAIL
3
X
00
K
04303
XOOK
04304
BLOCK
4
Wx
XQ
0
K
04309
RETAINER
I
5
TW
X
00
K
04310
BLOCK
6
v
fW
BEARING
7
XLC
6911
ZZ
2
69
TTZZ
)
)
'
-
1
'
工
M
*
8
N
431
M
3
ALU
4
HOSE
ELBOW
M
-
3
AIU
-
4
4
平 行
t
°
y
XPJ
5
A
15
FW
PARALLEL
PIN
9
M
6
A
-
D
5
X
15
WT
>
TO
XPJ
4
A
10
FW
PARALLEL
PIN
I
M
6
A
-
D
4
X
10
XOOKO
4320
GUIDE
PIN
ROD
11
XOOK
04321
力
A
7
:
JD
7
受
CAM
FOLLOWER
HOLDER
12
7
M
。
一
13
X
00
K
04322
STOPPER
旋 回
7
H
XO
0
K
04323
ROTATION
PLATE
14
1
15
選 択 朽 卜
X
00
K
04325
SELECTION
ROD
I
TTF
MDE
16
X
00
K
04326
1
:
。
又 卜
>
17
X
00
K
04328
PISTON
I
<
44
X
45
〉
T
8
t
n
*
;
?
T
9
X
944
-
203
A
CYLINDER
BLOCK
7
夕
(
A
>
PLATE
(
A
)
X
804
-
023
20
X
804
-
024
7
MBT
PLATE
(
B
)
21
22
X
804
-
026
PACKING
I
23
X
804
-
031
㈣
LOCK
PISTON
口
7
夕
24
X
804
-
032
LOCK
SHAFT
25
X
804
-
033
7
夕
PLATE
26
X
804
-
034
7
夕
PLATE
V
^
r
'
y
X
804
-
035
27
PACKING
圧 縮 乃
’
冬
28
X
804
-
036
SPRING
29
X
055
-
903
NUT
W
1
W
N
554
S
001024
0
-
RING
SO
—
010
-
24
IT
X
055
-
917
SPRING
HOLDER
2
MY
K
32
N
555
MYA
4
PACKING
4
MYA
-
4
MY
vry
33
N
555
MYA
5
PACKING
4
MYF
5
D
.
U
.
7
'
vvi
N
520
MB
0606
DU
D
.
D
.
BUSHING
2
MB
0606
DU
35
X
044
-
001
A
'
J
-
K
AMK
t
'
>
(
A
)
LEAD
GUIDE
PIN
(
A
)
2
|
J
-
K
力
.
仆
.
⑻
36
X
044
-
002
LEAD
GUIDE
PIN
(
B
)
圧 縮 八
'
卑
X
044
-
090
37
SPRING
4
n
.
授
⑻
38
X
044
-
005
A
SPRING
HOLDER
(
B
)
2
39
1044
=
006
3
本 力
CARTRIDGE
3
本 力
39
X
044
-
206
CARTRIDGE
P
=
2
‘
54.5
.
08
-
D
0
7
40
XPJ
12
C
3
FW
平 行
PARALLEL
PIN
H
7
A
-
D
1
2
X
3
TTF
1044
=
008
41
MDE
42
X
904
-
009
A
保 護 力 八
PROTECTION
COVER
vFf
43
N
431
BS
04
SLEEVE
4
BS
^
Ol
7
'
D
'
7
夕
44
X
00
K
043291
OCK
YW
45
X
00
K
043292
BLOCK
46
N
4354
US
TM
2
US
15
-
04
,
YB
PX
00
K
04
-
300
-
G
_
A
M
80