NM-8224A,B,C PARTS LIST(EC TYPE)_.pdf - 第155页
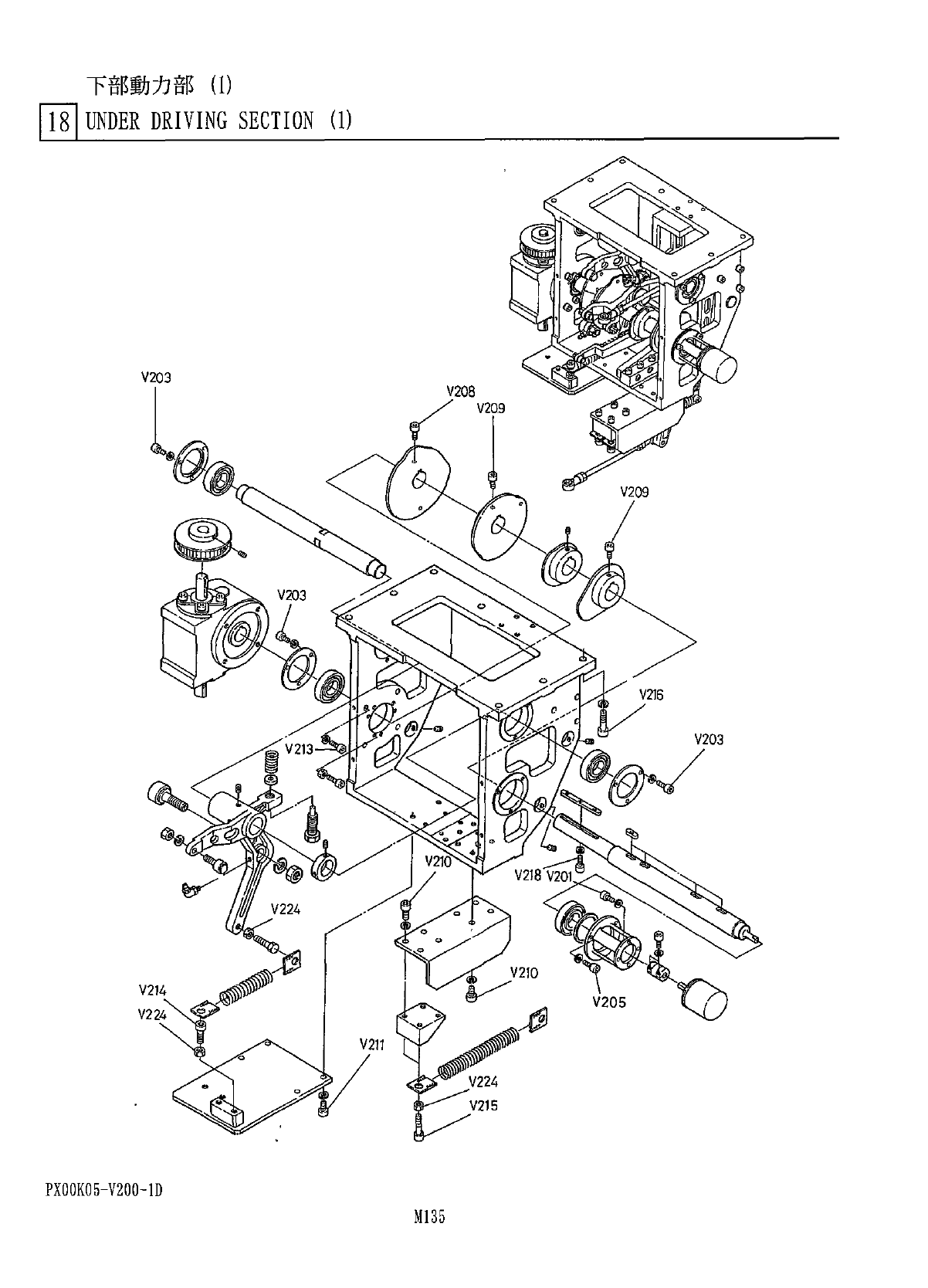
下 部 動 力 部 ⑴ l 8 l UNDER DRIVING SECTION ( 1 ) 考 部 個 数 備 番 名 品 品 No . Q ’ TY REMARKS REF PART No . PART NAME No . 六角穴付木 ’ 針 V 20 T HEXAGON SOCKET HEAD SCREW M 3 XI 0 XVE 3 B 10 FP 4 六 角 穴 付 敢 針 V 203 XVE 5 B 10 FP HEXAGON…

下 部 動 力 部
⑴
181
UNDER
DRIVING
SECTION
(
1
)
V
203
V
208
V
2
Q
9
V
209
V
203
V
203
V
224
V
210
V
214
V
224
V
211
V
224
V
215
PX
00
K
05
-
V
200
-
1
D
M
135

下部動力部
⑴
l
8
l
UNDER
DRIVING
SECTION
(
1
)
考
部
個数
備
番
名
品
品
No
.
Q
’
TY
REMARKS
REF
PART
No
.
PART
NAME
No
.
六角穴付木
’
針
V
20
T
HEXAGON
SOCKET
HEAD
SCREW
M
3
XI
0
XVE
3
B
10
FP
4
六角穴 付 敢 針
V
203
XVE
5
B
10
FP
HEXAGON
SOCKET
HEAD
SCREW
9
M
5
X
10
<
mf
3
>
<
DELETE
>
V
204
六 角 穴 付 卜
V
205
XVE
5
B
15
FP
HEXAGON
SOCKET
HEAD
SCREW
3
M
5
X
15
<
m
3
>
<
DELETE
>
V
206
六角穴付
^
1014
V
208
XVE
6
B
20
FP
HEXAGON
SOCKET
HEAD
SCREW
M
6
X
20
3
六角穴付
r
n
V
209
XVE
6
B
25
FP
HEXAGON
SOCKET
HEAD
SCREW
4
M
6
X
25
六角穴付
^
^
V
210
XVE
8
B
20
FP
HEXAGON
SOCKET
HEAD
SCREW
8
M
8
X
20
六角穴付
sH
卟
V
211
XVE
8
B
25
FP
HEXAGON
SOCKET
HEAD
SCREW
4
M
8
X
25
六角 穴 付 杉針
V
213
XVE
8
B
45
FP
HEXAGON
SOCKET
HEAD
SCREW
4
M
8
X
45
六角穴付
sjT
JI
4
V
214
XVE
10
B
30
FP
HEXAGON
SOCKET
HEAD
SCREW
2
M
10
X
3
Q
V
215
XVE
10
B
35
FP
六角穴付
r
JH
HEXAGON
SOCKET
HEAD
SCREW
2
M
10
X
35
六角穴付
OF
V
216
XVE
10
B
40
FP
HEXAGON
SOCKET
HEAD
SCREW
M
10
X
40
6
六角穴付扩朴
V
218
XVE
4
B
16
FP
HEXAGON
SOCKET
HEAD
SCREW
3
M
4
X
16
V
221
<
mr
3
><
fiELETE
>
V
224
XNH
10
DFP
六角
t
外
HEXAGON
NUT
M
10
,
lvi
6
PX
00
KO
5
-
V
20
O
-
1
D
M
136

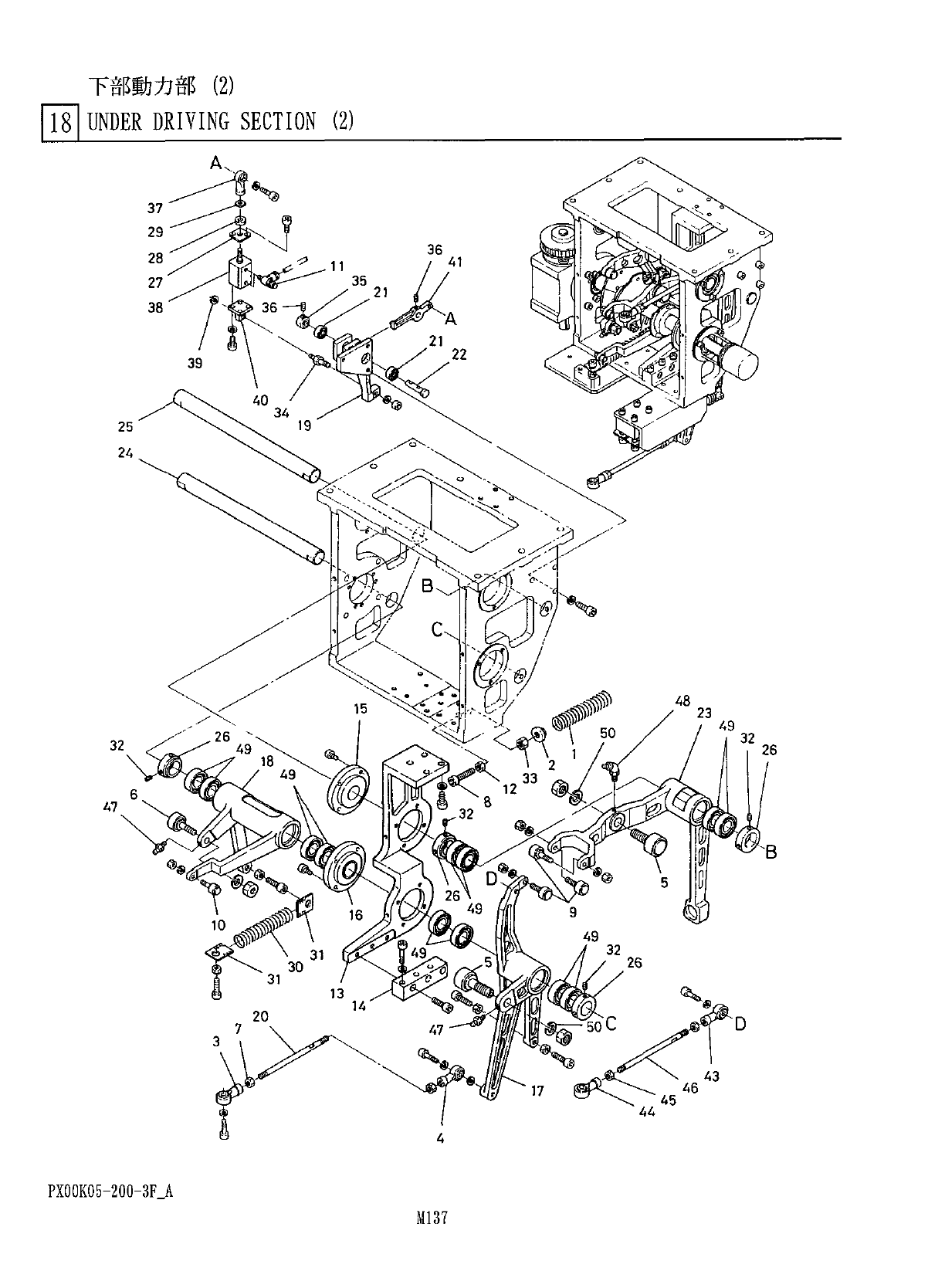
下 部 動 力 部
⑵
181
UNDER
DRIVING
SECTION
(
2
)
A
、
.
%
37
29
28
27
38
25
24
、
巳
50
C
D
PX
00
KQ
5
-
200
-
3
F
_
A
M
137