NM-8224A,B,C PARTS LIST(EC TYPE)_.pdf - 第165页
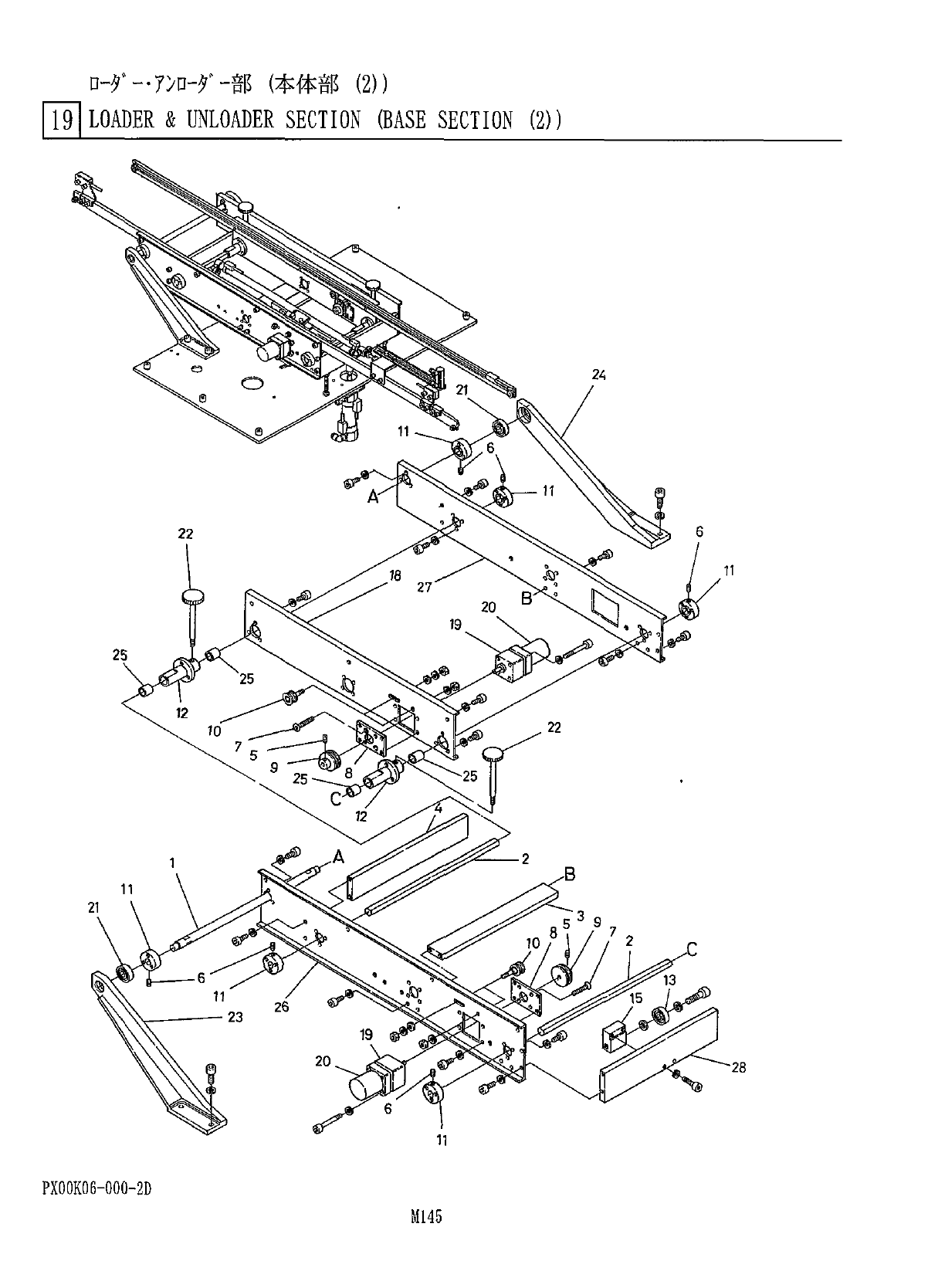
口 - 夕 > - • DD - y - 部 ( 本 体 部 ⑵ ) 191 LOADER & UNLOADER SECTION ( BASE SECTION ⑵ ) im 考 部 個 数 備 名 番 品 品 No . Q ’ TY REMARKS PART NAME REF PART No . No . ■ MFT X 00 K 06041 TY ) \ 2 SHAFT 2 X 00 K 06042 7 ° 卜卜 3 X…

口一夕
、
.
7
>
口
-
夕
、
部
(
本体部
⑵
)
l
9
l
LOADER
&
UNLOADER
SECTION
(
BASE
SECTION
(
2
)
)
PX
00
KO
6
-
OOO
-
2
D

口
-
夕
>
-
•
DD
-
y
-
部
(
本体部
⑵
)
191
LOADER
&
UNLOADER
SECTION
(
BASE
SECTION
⑵
)
im
考
部
個数
備
名
番
品
品
No
.
Q
’
TY
REMARKS
PART
NAME
REF
PART
No
.
No
.
■
MFT
X
00
K
06041
TY
)
\
2
SHAFT
2
X
00
K
06042
7
°
卜卜
3
X
00
K
06043
PLATE
7
。
H
XO
0
K
06044
PLATE
4
六角穴付止彳芬
’
M
4
X
10
,
丽
SET
SCREW
4
5
XXE
4
C
10
FP
6
XXE
5
C
12
FP
六角穴付止
;
*
W
12
M
5
X
12
,
tm
SET
SCREW
六角穴付皿
k
‘
又
N
986
YYYY
-
688
HEXAGON
SOCKET
SCREW
4
7
I
X
00
KO
6051
乇十
r
hi
'
MOTOR
PLATE
2
PULLEY
2
9
X
00
K
06052
PULLEY
4
MBO
19000
10
N
648
MB
019000
1
W
6
X
00
K
06055
FLANGE
11
iT
'
j
'
j
l
T
2
X
00
K
06056
FLANGE
V
JW
MOOZZ
13
XLC
6300
ZZ
BEARING
w
14
TW
X
00
K
06059
BLOCK
15
W
T
6
IT
揺動板
(
F
)
MKING
PLATE
(
F
)
18
X
00
K
06062
¥
7
2
M
4
GA
12
5
F
19
M
4
GA
12
.
5
F
GEAR
HEAD
20
M
4
RA
1
G
4
L
小型
t
-
夕
MOTOR
2
M
4
RA
1
G
4
L
4
P
1
W
100
V
FTv
JW
IT
XLC
6001
ZZ
BALL
BEARING
2
6001
ZZ
77
IF
22
X
006
-
334
KNOB
2
M
6
X
115
23
X
006
-
159
-
1
SHAFT
HOLDER
24
X
006
-
159
-
2
SHAFT
HOLDER
25
N
520
MB
1420
DU
y
7
-
f
v
jw
DRY
BEARING
MB
1420
DU
4
26
X
00
K
06065
揺動板
(
D
)
SHAKING
PLATE
(
D
)
揺動板
ffi
)
27
X
00
K
06066
SHAKING
PLATE
(
E
)
7
°
28
XOOKO
6067
PLATE
PX
00
K
06
-
000
-
2
D
M
146

口
-
夕
、
-
7
>
口
-
夕
*
-
部
(
本体部
⑵
)
Tgl
LOADER
&
UNLOADER
SECTION
(
BASE
SECTION
⑵
)
V
019
PXOOK
06
-
VOOO
-
2
B