JX-350-Rev07.pdf - 第55页
- 50 - NOTE( 注記 ) *INSTALLATION PSITION AND DIRECTION VARY IF THE PWB TRA NSFER REFERENCE IS DIFFE RENT. 基板搬送基準が異なると取付位置、方向が変わります。 REF.NO NOTE PART NO D E S C R I P T I O N 品 名 Qty 1 400-0100 3 SCREW SHAFT ASM(L) スクリュウシャ…

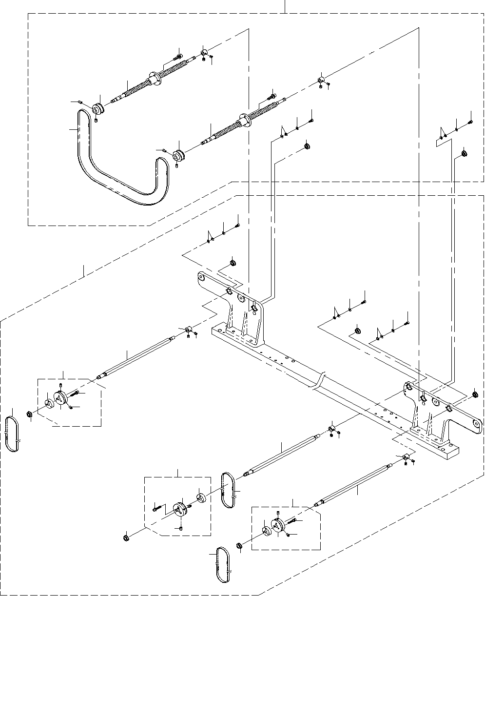
- 49 -
25. PWB CONVEYOR COMPONENTS (5)
基板搬送関係(5)
21
21
21
13
1
26
3
11
7
6
16
18
17
26
16
18
17
26
20
20
17
16
19
22
24
23
25
26
14
27
3
10
2
5
24
5
6
19
8
10
14
8
22
22
11
7
15
23
25
19
4
12
4
24
23
25
26
26
9
27
9
14
27
12
18

- 50 -
NOTE( 注記 ) *INSTALLATION PSITION AND DIRECTION VARY IF THE PWB TRANSFER
REFERENCE IS DIFFERENT.
基板搬送基準が異なると取付位置、方向が変わります。
REF.NO NOTE PART NO D E S C R I P T I O N
品 名
Qty
1 400-01003 SCREW SHAFT ASM(L)
スクリュウシャフト組(L)
1
2 E2146-721-000 TIMING BELT
タイミングベルト
(1)
3 SB-1080002-00 SIDE BEARING
サイドベアリング
(4)
4 400-15578 SCREW SHAFT(L)
スクリュウシャフト(L)
(2)
5 SM-8040602-TP SCREW M4X0.7 L=6
止めねじ
(4)
6 WP-0330516-SC WASHER 3.3X8X0.5
平座金 3.3X8X0.5
(4)
7 SM-6030602-TN SCREW M3X6
六角穴ボルト M3X6
(4)
8 E2141-721-000 STOPPER COLLAR
ストッパカラー
(2)
9 SM-8040402-TP SCREW M4X0.7 L=4
止めねじ M4X0.7 L=4
(4)
10 E2156-721-000 PULLEY A
プーリA
(2)
11 WP-0320500-SF WASHER 3.2X7X0.5
平座金小形丸 M3
(8)
12 SL-6041692-TN SCREW M4 L=16
座金付き六角穴ボルト M4 L=16
(8)
13 400-54803 DRIVE SHAFT ASM L(6)
ドライブシャフト組L(6)
1
14 E2141-721-000 STOPPER COLLAR
ストッパカラー
(3)
15 400-01005 DRIVE BELT C(L)
ドライブベルトC(L)
(1)
16 WP-0320500-SF WASHER 3.2X7X0.5
平座金小形丸 M3
(12)
17 WP-0330516-SC WASHER 3.3X8X0.5
平座金 3.3X8X0.5
(6)
18 SM-6030602-TN SCREW M3X6
六角穴ボルト M3X6
(6)
19 E2152-721-000 DRIVE SHAFT C
ドライブシャフトC
(3)
20 400-46033 DRIVE BELT S(6)
ドライブベルトS(6)
(2)
21 400-00849 DRIVE PULLEY F ASM
ドライブプーリF組
(3)
22 SL-6031642-TN SCREW
座金付き六角穴ボルト
(3)
23 400-00850 DRIVE PULLEY F
ドライブプーリF
(1)
24 SM-8040602-TP SCREW M4X0.7 L=6
止めねじ
(2)
25 400-00851 MOTOR PULLEY B
モータプーリB
(1)
26 SB-1080002-00 SIDE BEARING
サイドベアリング
(6)
27 SM-8040402-TP SCREW M4X0.7 L=4
止めねじ M4X0.7 L=4
(6)

- 51 -
26. PWB CONVEYOR COMPONENTS (6)
基板搬送関係(6)
9
3
4
6
7
8
16
17
13
17
11
13
14
10
1
10
2
14
11
5
A
A
24
24
19
20
21
22
23
15
15
18
25
25
16
12
12
18