JX-350-Rev07.pdf - 第73页
- 68 - REF.NO NOTE PART NO D E S C R I P T I O N 品 名 Qty 1 401-61646 BM_ANGLE_BR BM_アングル_ブラケット 1 2 SL-6030592-TN SCREW M3 L=5 座金付き六角穴ボルト 4 3 400-47981 BAD MARK FIBER AMP ASM バッドマークファイバアンプ組 1 4 SM-6030602-TN SCREW M3X6 六角…

- 67 -
34. BAD MARK READER COMPONENTS
バッドマークリーダ関係
2
9
8
6
5
7
1
2
3
4

- 68 -
REF.NO NOTE PART NO D E S C R I P T I O N
品 名
Qty
1 401-61646 BM_ANGLE_BR
BM_アングル_ブラケット
1
2 SL-6030592-TN SCREW M3 L=5
座金付き六角穴ボルト
4
3 400-47981 BAD MARK FIBER AMP ASM
バッドマークファイバアンプ組
1
4 SM-6030602-TN SCREW M3X6
六角穴ボルト M3X6
2
5 HD-0013100-40 SENSOR
ファイバユニット
1
6 E9638-729-000 FIBER LENS
ファイバレンズ
1
7 400-71565 BM HOLDER 3020
BMホルダ3020
1
8 EA-9500B01-00 CABLE BAND
束線バンド
4
9 EA-9500B02-00 CABLE BAND
束線バンド
8

- 69 -
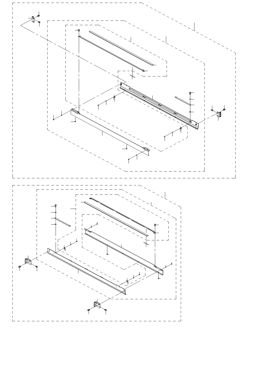
35. FPI COMPONENTS
FPI 関係
22
41
40
40
42
42
41
23
28
38
35
37
36
32
33
34
32
33
34
31
29
30
39
26
27
26
26
26
27
25
24
1
7
3
20
19
21
11
13
12
12
13
11
18
2
8
9
10
6
5
5
5
6
5
4
17
16
15
14
19
21
20