JX-300LED_使用说明书.pdf - 第120页
第 1 部 基本篇 第 2 章 生产 2-7-1-3 外形基准的调整方法 外形基准是使用挡块、挡块 2 ,对基板进行定位的方法。 < 步骤 > 1 )启动生产。 ① 从菜单栏上选择“窗口” / “传送· I/O 状态” 。 ② 在“个别传送控制”中,按“个别控制”按钮。 显示个别控制画面。 2 )将挡块 ⑦ 置于 ON 。 选择“挡块”,并按“ ON/OFF ”。 3 )将生产基板顶住挡块 ⑦ 。 基板与挡块接触的部分因 有…

第 1 部 基本篇 第 2 章 生产
3)请对准传送宽度。
选择画面右下角的“
自动调整基板宽度
”,即可显示出“自动调整基板宽度”画面。
按以下说明单击“移动”按钮,传送即随之运行。
单击之前,务必确认传送活动区域没有妨碍物体。
图2-7-1-2-2 基板宽度自动调整 (AWC,选购项)
注意
①点击“宽度回原点”,实行
传送返回原点。
③请点击“移动”,调整宽度。
马达随之启动,进行宽度调整。
④确认传送是否通畅。
②输入“尺寸”、
“余宽”。
(“余宽”幅度大
约为+0.5mm 〜
1mm。)
2-27

第 1 部 基本篇 第 2 章 生产
2-7-1-3 外形基准的调整方法
外形基准是使用挡块、挡块2,对基板进行定位的方法。
<步骤>
1)启动生产。
①
从菜单栏上选择“窗口”/“传送·I/O 状态”。
② 在“个别传送控制”中,按“个别控制”按钮。
显示个别控制画面。
2)将挡块⑦置于 ON。
选择“挡块”,并按“ON/OFF”。
3)将生产基板顶住挡块⑦。
基板与挡块接触的部分因有缺口等而不稳定时,请松动挡块底部的螺丝(2根),用手在Y方向上
进行移动调整。
4)配置支撑销。
设置支撑台选购项时,请对准生产基板,将支撑销⑭
配置在支撑台⑪上。
在贴片精度有特别要求的QFP等元件的下面配置支撑销,可提高贴片精度。
5)请将挡块 2 ⑧设置为 ON。
如果是基板 X 方向尺寸超过 610mm 的长尺寸基板,请选择“挡块 2”,按下“ON/OFF”。
6)请将生产基板顶住挡块 2 ⑧。
如果基板接触挡块 2 的部分因有缺口等而不稳定,请拧松挡块底部的螺丝(2 根),用手向 Y 方向移
动调整。
7)请配置支撑销。
设置支撑台选购项时,请在支撑台⑪上配置适合生产基板的支撑销⑭。
这时,请在基板顶住挡块⑦的位置上,在共通的位置配置支撑销⑭。
8)调整完成后,单击“个别控制”画面上的“结束”,退出个别控制。
注意
挡块、挡块 2 的端点位置为程序数据的基板坐标原点(基准位置)。因此,
要移动挡块、挡块 2,务必重新设定“机器设置”
※1
。另外,基板原点位
置可在生产程序中的“基板数据”(参见第 4 章 4-3-3 基板数据)中进行变
更。
※1“机器设置”:设置机器基本构成的菜单(请参见第 7 章 机器设置)。
注意
在机器运行过程中,请绝对不要将手和头等伸入装置内部。
2-28

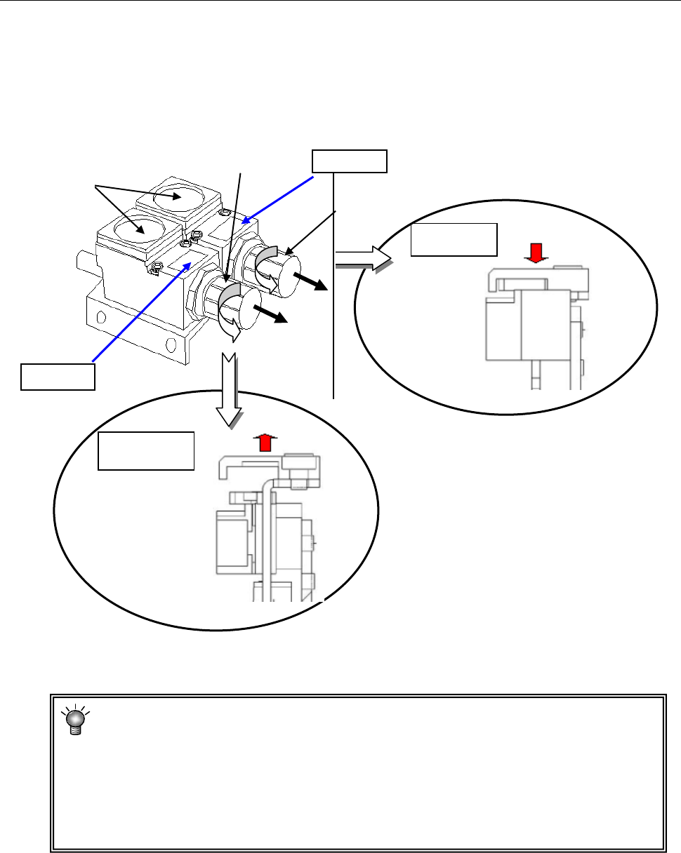
第 1 部 基本篇 第 2 章 生产
2-7-1-4 固定棒的压力调整(外形基准时)
对于夹紧厚度较薄的基板时所产生的翘曲、破裂等,可以通过降低固定棒压力来进行处理。
上游一端的、需要用固定棒固定基板边缘部分的长度基板,也可以通过降低固定棒压力来进行处
理。
将减压阀的旋钮①(解除固定方向)和②(实施固定方向)向“A方向”拉出后转动,调节压力大小。
边看着压力表③边调整,将旋钮向“与A的反向”推入后即可锁定。
图2-7-1-4-1 夹杆的压力调整
平时请勿触摸!
压力明显低于出厂压力时,会造成固定不稳定,贴片精度降低。
减压阀的旋钮①(解除固定方向)与②(实施固定方向)的旋转量一定要保持相
同的程度,始终保持相同压力。设置压力如果有差别,运行速度会发生较大变化。
在进行调整前,请先记下出厂时的“压力表③”数据(仅在夹杆 ON 时,指针摆动),
如无必要,请将其调回到原来的值。
CLAMP off
CLAMP on
A
A
①
②
③
解除固定
实施固定
2-29