00197467-01_SM_DLM3-4_Kunde_en.pdf - 第56页
Service Work Replacing the Star 3.17.3 Replacing the Silicone Hoses on the Sta r [00341183S01] 56 Service Manual SIPLACE Placement Heads DLM3/DLM4 Installation ► Installation is performed by following the above instructi…

Service Work
3.17.2 Replacing the Air Blast Supply to the Star [03000896-xx] Replacing the Star
Service Manual SIPLACE Placement Heads DLM3/DLM4 55
3.17.2
3.17.2 Replacing the Air Blast Supply to the Star [03000896-xx]
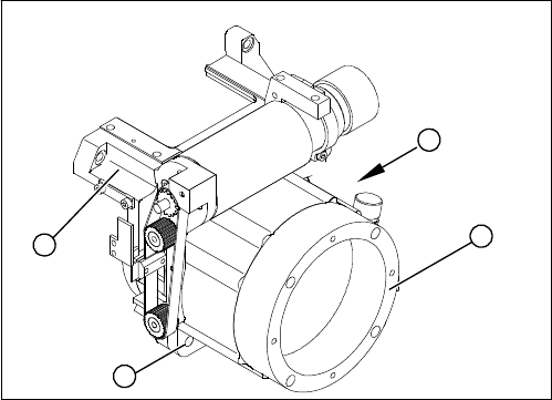
Replacing the Air Blast Supply to the Star [03000896-xx]
Removal/installation
3.17.3
3.17.3 Replacing the Silicone Hoses on the Star [00341183S01]
Replacing the Silicone Hoses on the Star [00341183S01]
Removal
NOTICE!
Do not remove the star!
For clarity, the diagram shows the star when removed
from the machine. However, you do not need to remove
the star to replace the air blast supply.
► Undo and remove the two screws fastening the air
blast supply (1).
► Fasten the air blast supply with the two screws pro
-
vided.
► Dismantle the star from the head.
► Remove the sleeve from the segment of the defective
hose.
► Undo and remove the two screws fastening the blast
air supply (1).
► Disconnect the hose (3) from the segment (1).
► Now pull the valve (2) out of the star.
CAUTION!
O-ring
There is an O-ring behind the valve. Make sure that you
do not lose this and that you fit it again during installation!
► Disconnect the hose from the valve.

Service Work
Replacing the Star 3.17.3 Replacing the Silicone Hoses on the Star [00341183S01]
56 Service Manual SIPLACE Placement Heads DLM3/DLM4
Installation
► Installation is performed by following the above instructions in the reverse order. Observe the follow
-
ing points:
▪ Check that the white connection pieces are seated firmly on the segments. If these are loose, you
will need to replace the entire star.
▪ Make sure that there is an even space between the hoses:
▪ When fitting the star, make sure that the silicone hoses are not pinched and/or damaged.
CAUTION!
If the connecting silicone hoses between the valve and
segment are replaced, make sure that they are not dam
-
aged by rubbing against one another (2).
To ensure this, make sure that the silicone hoses have
been cut to the exact length and that they are pushed
onto the respective connection pieces as far as possible
(up to the stopper).
Make sure that the hoses do not touch (1) one another.
Check the distance while pushing all segments all the
way in. Ideally, the distances should all be the same.

Service Work
3.17.3 Replacing the Silicone Hoses on the Star [00341183S01] Replacing the Star Drive
Service Manual SIPLACE Placement Heads DLM3/DLM4 57
3.18
3.18 Replacing the Star Drive
Replacing the Star Drive
Parts, equipment and tools
▪ Star motor assembly DLM1, DLM2 [03020626-xx]
▪ Star motor assembly DLM3, DLM4 [03031187-xx]
Overview
Preparation
► Remove the head from the machine. For details about removing and fitting the placement head, refer
to the service manual for your machine.
Removal
► Dismantle the intermediate distributor (see "3.4 Replacing the Intermediate Distributor" [ ➙ 24]).
► Dismantle the front part of the head (see "3.2 Removal/Installation of Head Front Part" [ ➙ 19]).
► Dismantle the star (see"3.17 Replacing the Star" [ ➙ 52]).
► Loosen the four M5x16 hexagon socket-head screws (2).
► Lift the star drive off the front part of the head.
Installation
► Place the star motor onto the front part of the head, so that the star drive connection cable points to
the position marked (A).
► Fix the star drive in place with the four M5x16 hexagon socket-head screws (2).
► Fit and adjust the star (see zero point correction).
► If you are unable to adjust the zero point correction correctly, loosen the four star motor screws and
rotate the star motor in the required direction, within the tightening tolerance.
► Fit the front part of the head.
► Further installation is performed by following the above instructions in the reverse order.
1. Star drive, digital (DLM3, DLM4)
2. Hexagon socket-head screws M5x16 (4x)
3. Head front part
(A) Connecting cable for the star drive
A
1
3
2