00197467-01_SM_DLM3-4_Kunde_en.pdf - 第57页
Service Work 3.17.3 Replacing the Silicone Hoses on the Star [0034 1183S01] Re placing the Star Drive Service Manual SIPLACE Placement Heads DLM3/DLM4 57 3.18 3 . 1 8 R e p la c in g t h e S t a r D r iv e Replacing the …

Service Work
Replacing the Star 3.17.3 Replacing the Silicone Hoses on the Star [00341183S01]
56 Service Manual SIPLACE Placement Heads DLM3/DLM4
Installation
► Installation is performed by following the above instructions in the reverse order. Observe the follow
-
ing points:
▪ Check that the white connection pieces are seated firmly on the segments. If these are loose, you
will need to replace the entire star.
▪ Make sure that there is an even space between the hoses:
▪ When fitting the star, make sure that the silicone hoses are not pinched and/or damaged.
CAUTION!
If the connecting silicone hoses between the valve and
segment are replaced, make sure that they are not dam
-
aged by rubbing against one another (2).
To ensure this, make sure that the silicone hoses have
been cut to the exact length and that they are pushed
onto the respective connection pieces as far as possible
(up to the stopper).
Make sure that the hoses do not touch (1) one another.
Check the distance while pushing all segments all the
way in. Ideally, the distances should all be the same.

Service Work
3.17.3 Replacing the Silicone Hoses on the Star [00341183S01] Replacing the Star Drive
Service Manual SIPLACE Placement Heads DLM3/DLM4 57
3.18
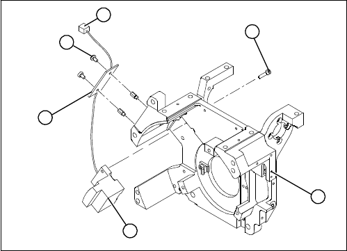
3.18 Replacing the Star Drive
Replacing the Star Drive
Parts, equipment and tools
▪ Star motor assembly DLM1, DLM2 [03020626-xx]
▪ Star motor assembly DLM3, DLM4 [03031187-xx]
Overview
Preparation
► Remove the head from the machine. For details about removing and fitting the placement head, refer
to the service manual for your machine.
Removal
► Dismantle the intermediate distributor (see "3.4 Replacing the Intermediate Distributor" [ ➙ 24]).
► Dismantle the front part of the head (see "3.2 Removal/Installation of Head Front Part" [ ➙ 19]).
► Dismantle the star (see"3.17 Replacing the Star" [ ➙ 52]).
► Loosen the four M5x16 hexagon socket-head screws (2).
► Lift the star drive off the front part of the head.
Installation
► Place the star motor onto the front part of the head, so that the star drive connection cable points to
the position marked (A).
► Fix the star drive in place with the four M5x16 hexagon socket-head screws (2).
► Fit and adjust the star (see zero point correction).
► If you are unable to adjust the zero point correction correctly, loosen the four star motor screws and
rotate the star motor in the required direction, within the tightening tolerance.
► Fit the front part of the head.
► Further installation is performed by following the above instructions in the reverse order.
1. Star drive, digital (DLM3, DLM4)
2. Hexagon socket-head screws M5x16 (4x)
3. Head front part
(A) Connecting cable for the star drive
A
1
3
2

Service Work
Replacing the RSF Digital Rotary Encoder (DP Axis) [00335990-xx] 3.17.3 Replacing the Silicone Hoses on the Star [00341183S01]
58 Service Manual SIPLACE Placement Heads DLM3/DLM4
3.19
3.19 Replacing the RSF Digital Rotary Encoder (DP Axis) [00335990-xx]
Replacing the RSF Digital Rotary Encoder (DP Axis)
[00335990-xx]
Parts, equipment and tools
▪ Digital rotary encoder C&P12/DLM[00335990-xx]
Overview
Preparation
► Remove the head from the machine. For details about removing and fitting the placement head, refer
to the service manual for your machine.
Removal
► Dismantle the front part of the head (see "3.2 Removal/Installation of Head Front Part" [ ➙ 19]).
► Remove the black blanking cap over the RSF board (4).
► Remove the plug connector (6) from the slot on the intermediate distributor.
► Loosen the two M2.5x4 hexagon socket-head screws (5) for fixing the RSF board.
► Dismantle the handle of the head.
► Loosen the two M2.5x8 hexagon socket-head screws (3) and remove the digital encoder.
1. Head front part
2. RSF digital rotary encoder 12/DLM3
3. Hexagon socket-head screws M2.5x8 (2x)
4. RSF board, type 950
5. Hexagon socket-head screws M2.5x4 (2x)
6. Plug connector in the slot on the intermediate distrib
-
utor
1
6
5
4
3
2