AVK3维修手册.pdf - 第107页
AVK3 维修手册 5.5 下定位装置 D77MCC-Y4-000-A0 5.5-4

AVK3
维修手册
5.5
下定位装置
D77MCC-Y4-000-A0
5.5-3
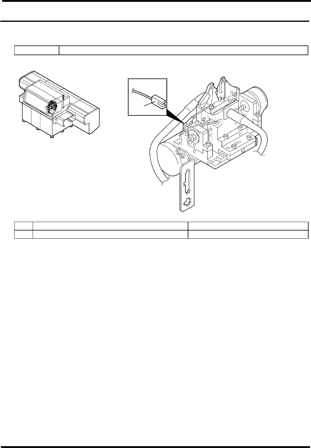
传感器位置关系示意图
Y
轴
(-)
电源断开
反向
反向
电源断开
X
轴
(+)
X
轴
(-)
Y
轴
(+)
电源断开
反向
反向
电源断开
328 0.1

AVK3
维修手册
5.5
下定位装置
D77MCC-Y4-000-A0
5.5-4

AVK3
维修手册
5.6
砧座装置
D77MCC-Y4-400-A0
5.6-1
5.6.
砧座装置
D77MCC-Y4-400-A0
5.6.1
上砧座
装置编号:
1087121000
编号
名称
型号
1.
WA
轴原点
P914SA1
1.