00197187-01_AI_LBO_SX12_ab_09-2011_FS02_de_en.pdf - 第50页
Fitting the Long Board Option Installing the Stopper 50 Long Board Option ► Dismant le the stop rails crossed out in the d iagram. ► Fit the lower sec tion of the st opper rail 599L to the left conv eyo r side for lane 1…

Fitting the Long Board Option
Installing the Guidance and Stop Rails
Long Board Option 49
3.3 Installing the Guidance and Stop Rails
Overview
Installation
► Switch off the machine and secure it to prevent unauthorized reactivation. Observe the instructions
in section "1.2 Preparatory Work..." [ ➙ 37].
1. Stop guide rail (right) 599 complete [03088196-xx]
(incl. 7 screws (5))
2. Guidance rail AB R [03088180-xx]
3. Guidance rail AB L [03088179-xx]
4. Stop guide rail (left) 599 complete [03088191-xx]
(incl. 7 screws (5))
5. Filister hex socket head screw (DIN-EN-ISO7380-
M3x6-12.9) [00200240-xx] for fitting the stop guide
rail (7x per stop guide rail, prefitted)
6. Socket head cap screw (ISO4762-M3x8-A2-70)
[03042542-xx] for fitting the guidance rail to the side
If the screws are missing, use those from the old
guidance rails.
CAUTION!
Make sure you only use the filister hex socket head screw
when fitting the stop guide rail to the guidance rails. Any
other screws could cause a head crash!
Conversion of stopper, stop and guidance rails (not to
scale)
The diagram shows replacement of the stopper and guid-
ance rails, as described below.
A = dual conveyor without LBO
B = dual conveyor with LBO
1. Conveyor lane 1 or single conveyor
2. Conveyor lane 2

Fitting the Long Board Option
Installing the Stopper
50 Long Board Option
► Dismantle the stop rails crossed out in the diagram.
► Fit the lower section of the stopper rail 599L to the left conveyor side for lane 1, using the socket
head cap screws [03042542-xx]. If these screws are missing, use the ones from the old guidance
rails.
► Fit the upper section to the lower section of the stopper rail 599L. Use the filister hex socket head
screws for this [00200240-xx].
► Repeat these steps for the following parts:
Guidance rail AB L [03088179-xx] (left conveyor side for lane 1)
Stopper rail 599R [03088196-xx] (right conveyor side for lane 1)
Guidance rail AB R [03088180-xx] (right conveyor side for lane 1)
► Repeat these steps for lane 2 of the dual conveyor.
3.4 Installing the Stopper
Overview
Stopper connections
1. Connection for "stopper down"
2. Connection for "stopper up"
Installation positions
1. Installation position for stopper
2. Installation position for valve unit
3. Connection cable for valve unit

Fitting the Long Board Option
Installing the Stopper
Long Board Option 51
Fitting the stopper
► Dismantle the cover sheet over the installation position on the sensor rail.
► Fit the individual parts of the stopper to the mounting bracket on the stopper rail, as shown in the
diagram above. Make sure that the sheet is positioned correctly [03084255-xx] (left or right).
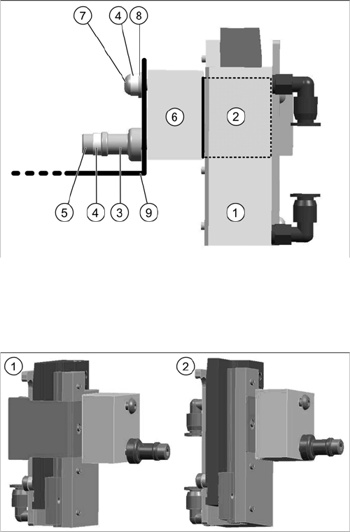
Fitting the complete stopper assembly (right shown here)
1. Stopper 25 SX pneumatic complete [03084034-xx]
2. Sheet [03084255-xx] ("right" position shown here)
3. Support socket [03085311-xx]
4. Distance washer M3/H=2 mm [03092259-xx]
5. ISO4762-M3x35-A2-70 socket head cap screw for fit-
ting the stopper [03043114-xx]
6. Spacer LBO [03091992-xx]
7. DIN-EN-ISO7380-M3x25-A2-70 - filister hex socket
head screw [03045198-xx]
8. DIN125-A3,2-140HV-A2 - washer 0.5 mm high
[00316904-xx]
9. Mounting bracket on the sensor rail
1. Stopper with sheet in "left" position for fitting onto the
right conveyor side
2. Stopper with sheet in "right" position for fitting to the
left conveyor side (DT "lane" 2)