CP743机械手册.pdf - 第165页
Downloaded at 2010/06/22 16:01 JST by 3MVH4663 DL#RmYmji4w 第 4 部 第 1 章 站的各部 Edition 2.1 4-1-3 CP-733E/743ME/743 E 机 械手册 1.1.2 前进端传感器的位置调整 1. 在凸轮角度为 200 度,传感器挡块为下降端时,确 认传感器是在 ON 的状态。 2. 将千分表放在驱动滚轮部,调整传感 器位置,使之从下降端开始上 升 0.…

Downloaded at 2010/06/22 16:01 JST by 3MVH4663 DL#RmYmji4w
第 1 章 站的各部 第 4 部
CP-733E/743ME/743E 机械手册 4-1-2 Edition 2.1
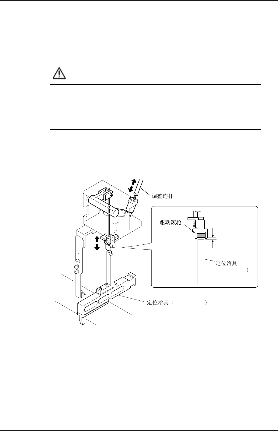
1.1.1 连杆的调整
1. 将定位治具(ADDDCPJ8020)安装在 No.1 料站。
2. 顺序按下:单动→D1D2-轴→1(输入)→OK→START, 将定位治具移动到 1st。
3. 按下[紧急停止]按钮,切断 200V 电源,使用 100V 电源。
警 告
作业前必须要切断 200V 电源。
凸轮轴在初始位置(0 度)以外的情况下,因为弹簧弹力的作用,会发生
回转。
在机器内部作业时,请充分注意安全。
4. 请边看凸轮刻度盘边旋转凸轮手柄,将凸轮角度调整到 0 度。
5. 将 1st 供料器送料的电磁阀(I/O)设置为 ON。
6. 转动调整连杆,将定位治具的上端和驱动滚轮之间的间隙调整为 0.5mm。
0.5 mm
(ADCPJ8020
ADCPJ8020
C73M4001S

Downloaded at 2010/06/22 16:01 JST by 3MVH4663 DL#RmYmji4w
第 4 部 第 1 章 站的各部
Edition 2.1 4-1-3 CP-733E/743ME/743E 机械手册
1.1.2 前进端传感器的位置调整
1. 在凸轮角度为 200 度,传感器挡块为下降端时,确认传感器是在 ON 的状态。
2. 将千分表放在驱动滚轮部,调整传感器位置,使之从下降端开始上升 0.5mm 时变为
OFF 状态。
C7SM4003S
0.5 mm
1.1.3 后退端传感器的位置调整
1. 在凸轮角度为 0,传感器挡块为上升端时,确认传感器是在 ON 的状态。
2. 将千分表放在驱动滚轮部,调整传感器位置,使之从上升端开始下降 0.5mm 时变为
OFF 状态。
0.5 mm
C7SM4004S

Downloaded at 2010/06/22 16:01 JST by 3MVH4663 DL#RmYmji4w
第 1 章 站的各部 第 4 部
CP-733E/743ME/743E 机械手册 4-1-4 Edition 2.1
1.2 料带终端检测 (第 1 站)
要 点
料带终端是通过反射型传感器来检测的。操作员以此来判断哪一个供料器正处于元件料带终
端前的状态。
1.2.1 传感器位置的调整
1. 将调整治具安装到 No.1 料站(Z9526ADCPJ8550)。
2. 顺序按下:单动 D1D2-轴→1(输入)→OK→START, 将调整治具移动到 1st。
3. 按下[紧急停止]按钮,切断 200V 电源,使用 100V。
警 告
作业前必须要切断 200V 电源。
凸轮轴在初始位置(0 度)以外的情况下,因为弹簧弹力的作用,会发
生回转。
在机器内部作业时,请充分注意安全。
4. 调整传感器的高度,使调整治具上面和传感器的距离为 11~12mm。
5. 调整传感器的位置,使光轴位于从调整治具的槽部后端开始向前 7mm 处 。
Z9526ADCPJ8550
11 12 mm
7 mm
C7SM4005S