FX-3RA-Rev05.pdf - 第50页
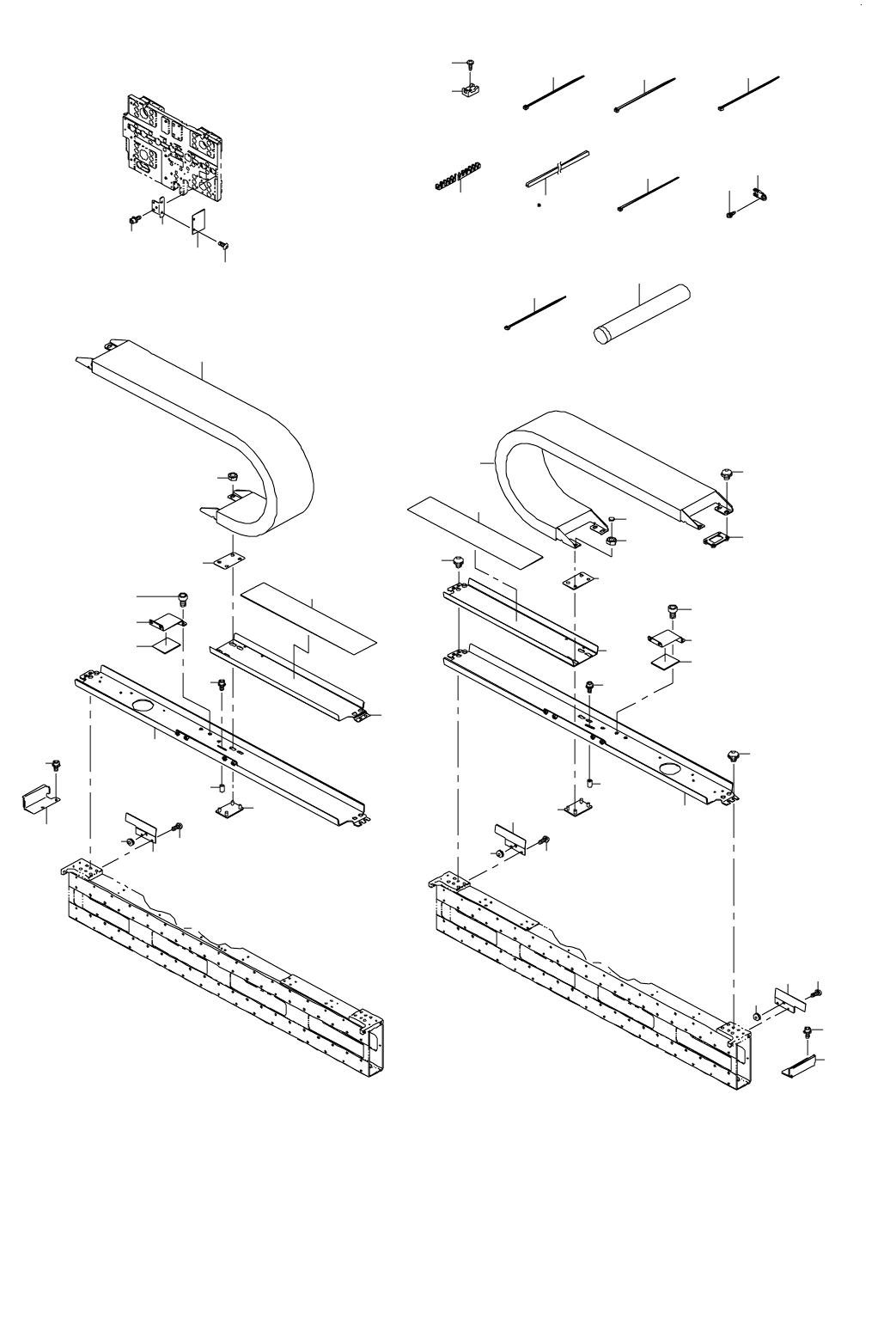
- 43 - 2 2. X- Y CO MP ON EN T S (7 ) X − Y 関係(7) 6 2 1 10 11 12 13 13 10 15 9 15 16 16 17 17 18 18 19 19 14 21 20 6 34 35 22 28 31 39 37 25 31 44 43 26 27 30 30 38 5 33 8 23 24 36 7 42 8 8 40 3 32 41 29 9 14 29 4

- 42 -
NOTE( 注記 ) #01....EXCEPT TYPE XL XL 仕様を除く
#02....TYPE XL XL 仕様
REF.NO NOTE PART NO D E S C R I P T I O N
品 名
Qty
1 401-22991 X_FRAME_S
X フレーム S
4
2 400-46750 LINEAR_GUIDE_X
リニアガイド X
8
3 400-89684 X_LM_PLATE_NUT_H1
X _ LM _プレート_ナット_ H 1
8
4 SM-6052002-TN BOLT
六角穴ボルト
34
5 SL-6053092-TN SCREW
座金付き六角穴ボルト
96
6 401-04698 X LINEAR MOTOR STATOR 480 X 軸 リニアモータ固定子480 4
7 401-04699 X LINEAR MOTOR STATOR 528
X 軸 リニアモータ固定子528
4
8 401-04627 X_MT_PLATE_NUT
X MT プレートナット
8
9 SM-6051202-TN SCREW M5X0.8 L=12
六角穴ボルト M 5 X 0.8 L =12
168
10 400-70188 CAUTION_LABEL_50
リニア注意ラベル50
4
11 400-58664 X_SUP_JOINT_FLU
X サポートジョイント FLU
2
12 SL-6063592-TN SCREW
座金付き六角穴ボルト M 6 L =35
4
13 SM-6062002-TN SCREW M6 L=20
六角穴ボルト M 6 L =20
20
14 400-46745 PLATE_NUT_S
プレートナット S
24
15 400-58665 X_SUP_JOINT_FLB
X サポートジョイント FLB
4
16 SL-6062592-TN SCREW
座金付き六角穴ボルト
8
17 SL-6061692-TN BOLT
座金付き六角穴ボルト
16
18
#01
400-58666 X_SUP_JOINT_FRU
X サポートジョイント FRU
2
19 SL-6063592-TN SCREW 座金付き六角穴ボルト M 6 L =35 4
20 SM-6062002-TN SCREW M6 L=20
六角穴ボルト M 6 L =20
20
21 EA-9500B02-00 CABLE BAND 150
結束バンド 150
24
22 400-58667 X_SUP_JOINT_FRB
X サポートジョイント FRB
4
23 SL-6062592-TN SCREW
座金付き六角穴ボルト
24
24 400-44531 MAGNETIC SCALE X SENSOR UNIT
マグネチックスケール X センサユニット
4
25 PH-0500122-C0 PIN
平行ピン
16
26 401-23684 X_FRAME_END
X フレームエンド
4
27 SL-6082592-TN BOLT
座金付き六角穴ボルト
16
28 400-48026 MAGNETIC SCALE X
マグネスケール X
4
29 400-46761 X_MSH_SPACER
XMSH スペーサ
4
30 401-23688 RUBBBER_FEET ゴム足 8
31 SM-4041401-SC SCREW M4X0.7 L=14
なべ小ねじ M 4 X 0.7 L =14
8
32 400-02229 X ORG RANGE SENSOR ASM
X 軸原点周囲センサ組
4
33 400-58668 CB_BLOCK_YSB
CB ブロック YSB
2
34 SM-6061202-TN BOLT
六角穴ボルト
4
35 SM-3061252-TN SCREW M6 L=12
丸ねじ M 6 L =12
4
36
#02
400-92172 X_LMT_BRACKET_L_XL
X リミットブラケット L _ XL
4
37
#02
PA-9000740-00 SHOCK ABSORBER
ショック アブソーバ
4
38 400-46759 X_LMT_BRACKET_L
XLMT ブラケット L
4
39 SL-6030892-TN SCREW
座金付き六角穴ボルト
8
40 400-46760 X_LMT_BRACKET_H
XLMT ブラケット H
4
41 SL-6030892-TN SCREW
座金付き六角穴ボルト
8
42 400-56581 X_SENSOR_DOG
X センサドグ
4
43 SM-3040652-TN SCREW M4 L=6 丸ねじ M 4 L =6 8
44
#02
401-23691 X_MSC_GUARD
X _ MSC ガード
4
45 SM-1030601-SC SCREW M3 L=6
皿小ねじ M 3 X 0.5 L =6
8
46 SL-6041092-TN SCREW
座金付き六角穴ボルト
8
47 400-69610 X_MSC_GUARD
X _ MSC ガード
4
48 SL-6030892-TN SCREW
座金付き六角穴ボルト
36
49 HX-0029400-00 FIXED BASE
固定ベース
60
50 SM-4040601-SC SCREW M4X0.7 L=6
なべ小ねじ M 4 X 0.7 L =6
64
51 400-02227 X PLUS LMT SENSOR ASM
X 軸プラスリミットセンサ組
8
52 401-05882 KEEP MAGNET AWAY LABEL
着磁禁止シール
8
53
#02
400-92170 X_SUP_JOINT_FLU_XL
X サポートジョイント FLU _ XL
4
54 400-89685 X_LM_PLATE_NUT_H2
X _ LM _プレート_ナット_ H 2
8
55
#02
400-92173 X_SUP_JOINT_FLB_XL
X サポートジョイント FLB _ XL
4
56 #02 400-92174 X_SUP_JOINT_FRB_XL X サポートジョイント FRB _ XL 4
57
#02
400-92171 X_LMT_BRACKET_H_XL
X リミットブラケット H _ XL
4
58 401-23070 X_SUP_JOINT_FLU_L
X サポートジョイント FLU L
2
59 401-23069 X_SUP_JOINT_FRU_L
X サポートジョイント FRU L
2
60 SL-6041092-TN SCREW
座金付き六角穴ボルト
16
61 SM-4040455-SN SCREW M4 L=4
なべ小ねじ M 4 L =4
16
62
#02
HX-0034400-00 HARNESS PARTS
束線パーツ
4
63
#02
SM-4040601-SC SCREW M4X0.7 L=6
なべ小ねじ M 4 X 0.7 L =6
4
64
#02
401-23072 X_SUP_JOINT_FLU_XL
X サポートジョイント FLU XL
2
65
#02
401-23071 X_SUP_JOINT_FRU_XL
X サポートジョイント FRU XL
2
66 SM-4860801-SC SCREW M2.6 L=8
なべ小ねじ M 2.6 L =8
8
67 SM-4860801-SC SCREW M2.6 L=8
なべ小ねじ M 2.6 L =8
4

- 43 -
22.X-Y COMPONENTS (7)
X − Y 関係(7)
6
2
1
10
11
12
13
13
10
15
9
15
16
16
17
17
18
18
19
19
14
21
20
6
34
35
22
28
31
39
37
25
31
44
43
26
27
30
30
38
5
33
8
23
24
36
7
42
8
8
40
3
32
41
29
9
14
29
4

- 44 -
REF.NO NOTE PART NO D E S C R I P T I O N
品 名
Qty
1 401-22978 CB_SUPPORT_B_S_B
CB サポート_ B _S_B
2
2 401-22977 CB_SUPPORT_B_S_A
CB サポート_ B _S_A
2
3 HX-0066900-0A GROMMET
グロメット
0.021
4 EA-9500B02-00 CABLE BAND 150
結束バンド 150
10
5 401-04594 LINEAR_SCRAPER_X_BRACKET
リニアスクレーパ X ブラケット
4
6 400-46786 CABLE_BEAR_X
ケーブルベア X
4
7 SM-3040652-TN SCREW M4 L=6
丸ねじ M 4 L =6
8
8 SL-3061232-TN SCREW
座金付き丸ねじ M 6 L =12
16
9 400-91934 CB_SUPPORT_SPACER_S1
CB サポートスペーサ S 1
4
10 SL-6042592-TN SCREW
座金付き六角穴ボルト
4
11 400-46797 CB_SUPPORT_SHEET_L_S
CB サポートシート L _ S
2
12 400-46798 CB_SUPPORT_SHEET_R_S
CB サポートシート R _ S
2
13 400-46794 RUBBER_SHEET
ラバーシート
4
14 400-46789 CB_SPACER
CB スペーサ
4
15 400-01674 PLASTIC RAIL BRACKET A
プラレールブラケット A
4
16 NM-6060001-SC NUT M6
六角ナット M 6 1種
16
17 401-22979 CABLE_CLAMP_X
ケーブルクランプ X
4
18 400-00748 CABLE CLAMP RUBBER X
ケーブルクランプゴム X
4
19 SM-6060802-TN BOLT
六角穴ボルト
16
20 HX-0029400-00 FIXED BASE
固定ベース
24
21 EA-9500B02-00 CABLE BAND 150
結束バンド 150
16
22 HX-0006500-0C CABLE BAND
束線バンド
8
23 400-47337 NUT_PLATE_T
ナットプレート T
4
24 SM-4040455-SN SCREW M4 L=4
なべ小ねじ M 4 L =4
24
25 EA-9002B11-00 BUSHING L
自在ブッシュ L
0.62
26 401-04657 YM_CABLE_GUIDE_LF
YM ケーブルガイド LF
2
27 SL-6041092-TN SCREW
座金付き六角穴ボルト
4
28 EA-9500B02-00 CABLE BAND 150
結束バンド 150
6
29 400-63711 YM_CABLE_GUIDE_LFR
YM ケーブルガイド LFR
2
30 SM-3040652-TN SCREW M4 L=6
丸ねじ M 4 L =6
4
31 HX-0005500-00 RUBBER BUSHING
ゴムブッシュ
2
32 HX-0067100-00 GROMMET
グロメット
0.88
33 SL-6041092-TN SCREW
座金付き六角穴ボルト
8
34 401-04658 YM_CABLE_GUIDE_RF
YM ケーブルガイド RF
2
35 SL-6041092-TN SCREW
座金付き六角穴ボルト
4
36 400-71695 LINEAR_SCRAPER_COVER_X
リニアスクレーパカバー X
4
37 400-63713 YM_CABLE_GUIDE_RFR
YM ケーブルガイド RFR
2
38 SM-3040652-TN SCREW M4 L=6
丸ねじ M 4 L =6
4
39 HX-0005500-00 RUBBER BUSHING
ゴムブッシュ
2
40 E3028-721-000 OIL GUARD
オイルガード
16
41 MGR-EAS380G0 GREASE 380G
グリース 380 G
1
42 SL-4030691-SC SCREW M3X6
なべ小ねじセムス M 3 X 0.5 L =6
24
43 EA-9500B01-00 CABLE BAND
束線バンド
20
44 HX-0034400-00 HARNESS PARTS
束線パーツ
44