XPF-L机械手册.pdf - 第171页
MEC-XPF-5.2S 8. 传感器位置 XPF 机械手册 159 8.5 BTU-A/BTU-A2 No. I/O 号码 电路图号码 画面记载 内容 1-1 X018 3 5LS-5R TrayPal eHeightChk1 料盘托架高度确认 1( 受 光 ) 1-2 35LS-5T 料盘托架高度确认 1( 照射光 ) 2-1 X019 3 5LS-6R TrayPal eHeightChk2 料盘托架高度确认 2( 受 光 ) 2…

8. 传感器位置 MEC-XPF-5.2S
158 XPF 机械手册
08MEC-0434
35LS-8
35LS-22R
35LS-24T
35LS-23T
35LS-23R
35LS-8
35LS-20R
35LS-13
35LS-1
34LS-1
35LS-7R
35LS-16
35LS-5T
35LS-24R
34LS-1
35LS-2
35LS-20T,21R,22T,23R
35LS-20R,21T,22R,23T
35LS-5T
35LS-16
35LS-21T
35LS-20T
35LS-21R 35LS-22T
35LS-10
35LS-2
35LS-12
35LS-7T 35LS-6R
35LS-7T 35LS-6R 35LS-11
35LS-15
35LS-4R
35LS-4T
35LS-5R
35LS-6T
35LS-11
35LS-15
35LS-10
35LS-12
35LS-14R
35LS-14T
VVjge7dV
VVjge7dV
Downloaded at 2011/05/26 09:05 JST by 3JUZ5089 DL#VVjge7dV

MEC-XPF-5.2S 8. 传感器位置
XPF 机械手册 159
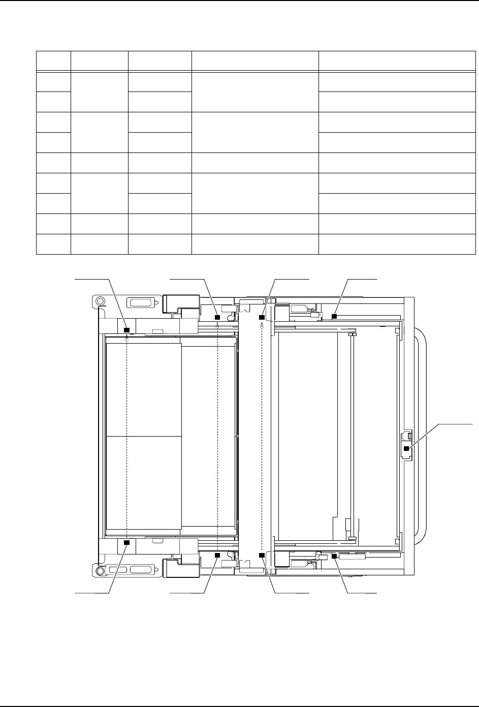
8.5 BTU-A/BTU-A2
No. I/O 号码 电路图号码 画面记载 内容
1-1 X018 35LS-5R TrayPaleHeightChk1 料盘托架高度确认 1( 受光 )
1-2 35LS-5T 料盘托架高度确认 1( 照射光 )
2-1 X019 35LS-6R TrayPaleHeightChk2 料盘托架高度确认 2( 受光 )
2-2 35LS-6T 料盘托架高度确认 2( 照射光 )
3 RX04A 35LS-11 MTU_BTU_SafetyDoorChk MTU/BTU 安全门关闭确认
4-1 RX04C 35LS-1R BTU_TrayRemoveChk BTU 空料盘排出确认 ( 受光 )
4-2 35LS-1T BTU 空料盘排出确认 ( 照射光 )
5 RX04D 35LS-2 BTU_DockingChk1 BTU 落座确认 1
6 RX04E 35LS-3 BTU_DockingChk2 BTU 落座确认 2
35LS-1T 35LS-5T 35LS-6T 35LS-2
35LS-335LS-1R 35LS-5R35LS-5R 35LS-6R
35LS-11
08MEC-0435
VVjge7dV
VVjge7dV
Downloaded at 2011/05/26 09:05 JST by 3JUZ5089 DL#VVjge7dV

8. 传感器位置 MEC-XPF-5.2S
160 XPF 机械手册
MEMO:
VVjge7dV
VVjge7dV
Downloaded at 2011/05/26 09:05 JST by 3JUZ5089 DL#VVjge7dV