SI-F209_Manual(J)JPG_rev1.pdf - 第245页
DW7 基板 周辺回路図 CDF-20727-01 DW7 基板 周辺回路図 SHEET 1/1 J1 1 J9 J10 Solenoid valve assembly Solenoid valve assembly Solenoid valve assembly Solenoid valve assembly Solenoid valve assembly Solenoid valve assembly Solenoid valve …

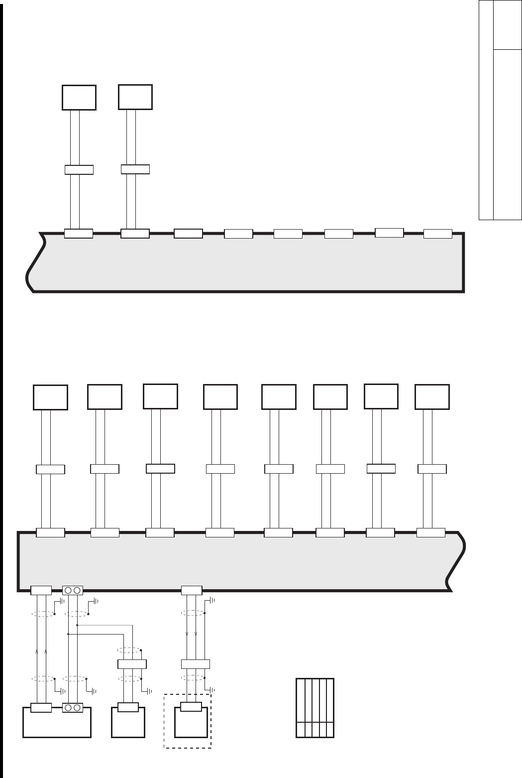
DW6 基板 周辺回路図
CDF-20726-01
DW6 基板 周辺回路図
SHEET
1/1
1
2
3
1
2
3
DR7
(Refer:CDF-20707)
CN2
TB1
1
2
1
2
E
EE
E
A
E
E
E
E
E
E
E
E
E
E
E
E
E
E
E
E
B
C
D
DR5
(Refer:CDF-20705)
TB1
CN1
1
2
1
2
E
EE
SD-PW7
SD-OP7
DW6
SDIOC-OUT16-CHAT
DW6-C1 CN1
1
2
1
2
TB1
+24V
GND
DW6-C2 CN2
1
2
1
2
3
J1
DW6-1
19
1
2
3
J2
DW6-2
20
1
2
3
J3
DW6-3
21
1
2
3
J4
DW6-4
22
FCIF1
1
2
3
J8
DW6-8
26
1
2
3
J7
DW6-7
25
1
2
3
J6
DW6-6
24
1
2
3
J5
DW6-5
23
TO
FRONT CASSETTE I/F
(Refer:CDF-21002)
1
2
3
J12
DW6-12
30
1
2
3
J11
DW6-11
29
1
2
3
J10
DW6-10
28
1
2
3
J9
DW6-9
27
1
2
3
J13
DW6-13
31
1
2
3
J14
DW6-14
32
1
2
3
J15
DW6-15
33
1
2
3
J16
DW6-16
34
TO
FRONT CASSETTE I/F
(Refer:CDF-21002)
A
B
C
D
E
1-791-882
1-791-787
1-792-127
1-791-881
1-791-883
REF
CABLE PARTS NO.

DW7 基板 周辺回路図
CDF-20727-01
DW7 基板 周辺回路図
SHEET
1/1
J11
J9
J10
Solenoid valve
assembly
Solenoid valve
assembly
Solenoid valve
assembly
Solenoid valve
assembly
Solenoid valve
assembly
Solenoid valve
assembly
Solenoid valve
assembly
Solenoid valve
assembly
Solenoid valve
assembly
Solenoid valve
assembly
DR8
(Refer:CDF-20708)
CN2
1
2
TB1
1
2
E
EE
A
B
C
D
E
E
DW7
SDIOC-OUT16-CHAT
CN1
1
2
1
2
TB1
+24V
GND
CN2
DW7-C1
DW7-C2
1
2
1
2
3
1
2
3
1
2
3
1
2
3
J1
J4
J3
J2
+24
DW7-1
1
2
3
1
2
3
1
2
3
1
2
3
J8
J7
J6
J5
1150
1
2
1
2
3
J12
1
2
3
J13
1
2
3
1
2
3
1
2
3
1
2
3
SD-PW10
J13
1
2
3
J15
1
2
3
J14
1
2
3
J16
1
2
3
+24
DW7-2
1151
1
2
+24
DW7-3
1152
1
2
+24
DW7-4
1153
1
2
+24
DW7-5
1154
1
2
+24
DW7-6
1155
1
2
+24
DW7-7
1156
1
2
+24
DW7-8
1157
1
2
DRIVER UNIT
(Refer:CDF-20204)
1
2
DV-8
SDIOM-ISA BOARD
1
2
RX
PC UNIT
E
E
1
2
3
SD-OP10
SV1152
CARTRIDGE CHANGER1
CHUCK CLOSE
SV1150
CARTRIDGE CHANGER1
CARTRIDGE
FORWARD-END
SV1151
CARTRIDGE CHANGER1
CARTRIDGE
BACKWARD-END
SV1155
CARTRIDGE CHANGER2
CHUCK CLOSE
SV1153
CARTRIDGE CHANGER2
CARTRIDGE
FORWARD-END
SC1154
CARTRIDGE CHANGER2
CARTRIDGE
BACKWARD-END
SV1156
CARTRIDGE CHANGER3
CARTRIDGE
FORWARD-END
SV1157
CARTRIDGE CHANGER3
CARTRIDGE
BACKWARD-END
+24
DW7-9
1158
1
2
+24
DW7-10
1159
1
2
SV1158
CARTRIDGE CHANGER3
CHUCK CLOSE
SV1159
CARTRIDGE CHANGER1
COVER LOCK
RED
BLK
RED
BLK
RED
BLK
RED
BLK
RED
BLK
RED
BLK
RED
BLK
RED
BLK
RED
BLK
RED
BLK
RED
BLK
RED
BLK
A
B
C
D
1-823-381
1-791-787
1-823-386
1-823-382
REF
CABLE PARTS NO.

プリンタ周辺回路図
CDF-20801-01
プリンタ周辺回路図
SHEET
1/1
PRN SERIALPC-PRN
CD
PRINTER
1
2
3
4
5
6
3
2
8
4
5
6
FG
1
7
9
POWER UNIT
(Refer:CDF-20301)
PW-5
AB
1
2
3
TB2
L206
L306
E
PRN-AC
1
2
3
1
2
3
AC ADAPTER-PRINTER
ADAPTER assembly ADAPTER assembly
(9.3V)
(GND)
PC UNIT
4CH SIO BOARD
CN1 PC-4CH
24
5
4
21
3
22
FG
2
23
20
A
B
C
D
1-829-441
1-791-235
1-829-535-11
1-791-394
REF CABLE PARTS NO.