TCM-X110_X210_X300(D) 2_Operation(Supervisor).pdf - 第100页
( 2 - 2 ) 将 [ O P E R A T I O N ] 开 关切换 到 “ S E T U P ” 侧 。 搬 运 线 路 板 到 X Y 工 作 台 上 。 搬 运 线 路 板 时 , 搬 运 线 路 板 时 , 搬 运 线 路 板 时 , 搬 运 线 路 板 时 , 搬 运 线 路 板 时 , 请 留 意 线 路 板 不 要 碰 到 定 位 针 请 留 意 线 路 板 不 要 碰 到 定 位 针 请 留 意 线 路 板 …

( 2 )( 2 )
( 2 )( 2 )
( 2 )
孔 基 准孔 基 准
孔 基 准孔 基 准
孔 基 准
如下设置定位针( 基准侧) 、定位针( 反基准侧) 和定位杆,就完
成了孔基准。
使用超过 5 1 0 m m 的线路板时,请卸下定位针和定位杆。
F i g . 2 C 2 1 F i g . 2 C 2 1
F i g . 2 C 2 1 F i g . 2 C 2 1
F i g . 2 C 2 1
线路板定位线路板定位
线路板定位线路板定位
线路板定位
((
((
(
装置表面装置表面
装置表面装置表面
装置表面
))
))
)
孔 基 准 的 设 定 顺 序孔 基 准 的 设 定 顺 序
孔 基 准 的 设 定 顺 序孔 基 准 的 设 定 顺 序
孔 基 准 的 设 定 顺 序
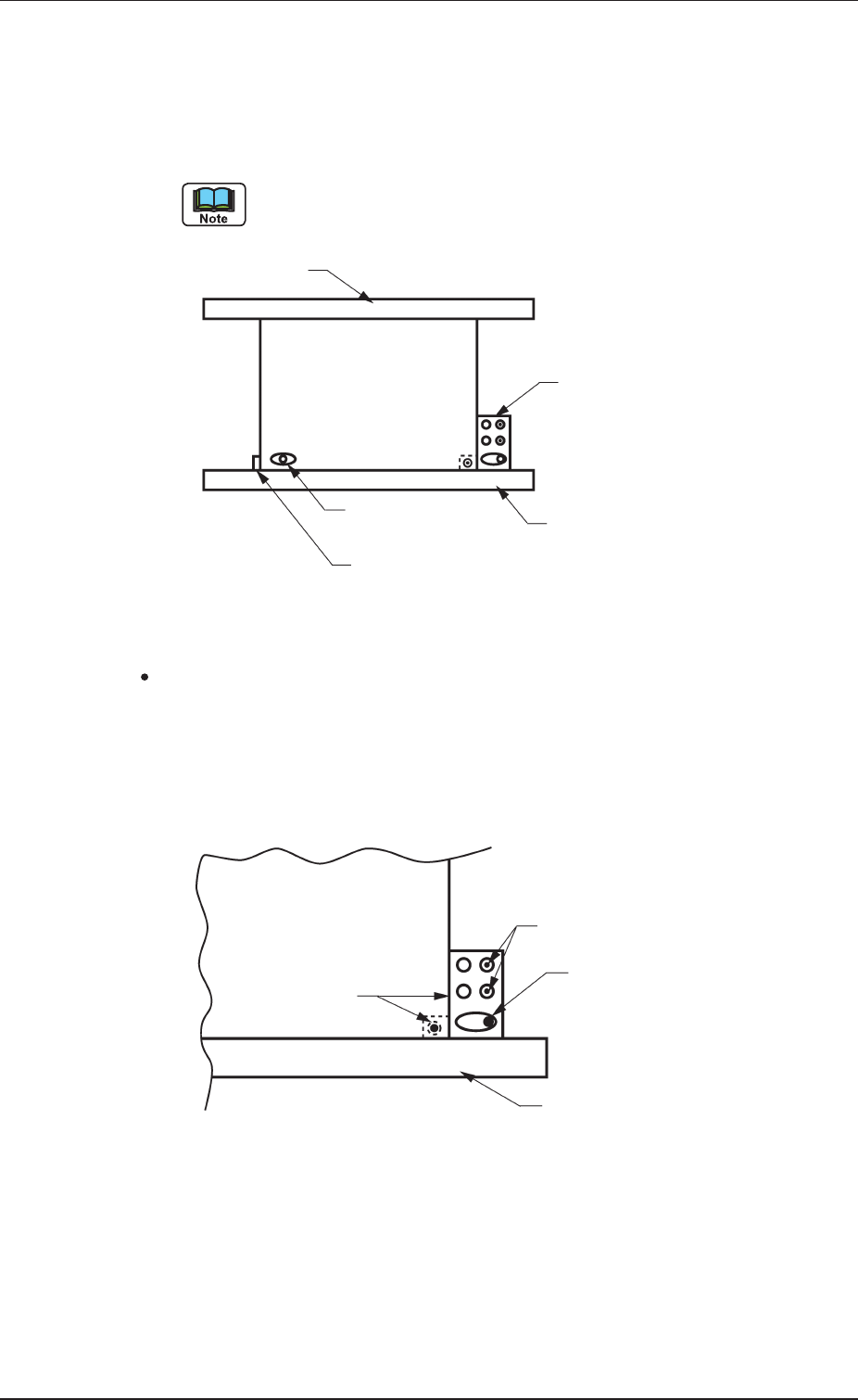
(2-1) 设置定位针( 基准侧) 。
如下图,将定位针插入到 X Y 工作台上的定位栓( 右侧) 后,用
螺钉固定。
F i g . 2 C 2 2 F i g . 2 C 2 2
F i g . 2 C 2 2 F i g . 2 C 2 2
F i g . 2 C 2 2
定位针设置定位针设置
定位针设置定位针设置
定位针设置
0308-001 3-18
3 . 3 3 . 3
3 . 3 3 . 3
3 . 3
线路板 的定位线路板 的定位
线路板 的定位线路板 的定位
线路板 的定位
移动滑道移动滑道
移动滑道移动滑道
移动滑道
定 位 针定 位 针
定 位 针定 位 针
定 位 针
((
((
(
基准侧基准侧
基准侧基准侧
基准侧
))
))
)
固 定 滑 道固 定 滑 道
固 定 滑 道固 定 滑 道
固 定 滑 道
定 位 杆定 位 杆
定 位 杆定 位 杆
定 位 杆
定 位 针定 位 针
定 位 针定 位 针
定 位 针
((
((
(
反基准侧反基准侧
反基准侧反基准侧
反基准侧
))
))
)
固 定 滑 道固 定 滑 道
固 定 滑 道固 定 滑 道
固 定 滑 道
线路板线路板
线路板线路板
线路板
线 路 板线 路 板
线 路 板线 路 板
线 路 板
定位针定位针
定位针定位针
定位针
定 位 栓定 位 栓
定 位 栓定 位 栓
定 位 栓
螺 钉螺 钉
螺 钉螺 钉
螺 钉

(2-2) 将[OPERATION]开关切换到 “SETUP” 侧。
搬运线路板到 X Y 工作台上。
搬 运 线 路 板 时 ,搬 运 线 路 板 时 ,
搬 运 线 路 板 时 ,搬 运 线 路 板 时 ,
搬 运 线 路 板 时 ,
请 留 意 线 路 板 不 要 碰 到 定 位 针请 留 意 线 路 板 不 要 碰 到 定 位 针
请 留 意 线 路 板 不 要 碰 到 定 位 针请 留 意 线 路 板 不 要 碰 到 定 位 针
请 留 意 线 路 板 不 要 碰 到 定 位 针
((
((
(
反基准 侧反基准侧
反基准 侧反基准侧
反基准侧
))
))
)
、、
、、
、
线路板定 位杆等 。线路 板定 位杆等 。
线路板定 位杆等 。线路 板定 位杆等 。
线路 板定 位杆等。
X YX Y
X YX Y
X Y
工作台 部的 调整结 束后,工作台 部的 调 整结 束 后,
工作台 部的 调整结 束后,工作台 部的 调 整结 束 后,
工 作台 部的 调 整结 束 后,
请务必 将请务必 将
请务必 将请务必 将
请 务必 将
[ O P E R A T I O N ][ O P E R A T I O N ]
[ O P E R A T I O N ][ O P E R A T I O N ]
[ O P E R A T I O N ]
开关切换到开关切换到
开关切换到开关切换到
开关切换到 “
R U NR U N
R U NR U N
R U N ”
侧。侧。
侧。侧。
侧。
(2-3) 如下图固定螺钉 1 ,使定位针( 反基准侧) 位于线路板的长孔
中心位置。
然后,将 定位 杆抵到线路 板的尾端,在垂 直的位 置固定螺
钉 2 。
F i g . 2 C 2 3 F i g . 2 C 2 3
F i g . 2 C 2 3 F i g . 2 C 2 3
F i g . 2 C 2 3
定位杆和定位针定位杆和定位针
定位杆和定位针定位杆和定位针
定位杆和定位针
((
((
(
反基准侧反基准侧
反基准侧反基准侧
反基准侧
))
))
)
的设置的设置
的设置的设置
的设置
0308-001 3-19
3 . 3 3 . 3
3 . 3 3 . 3
3 . 3
线路板 的定位线路板 的定位
线路板 的定位线路板 的定位
线路板 的定位
线 路 板线 路 板
线 路 板线 路 板
线 路 板
线 路 板 孔线 路 板 孔
线 路 板 孔线 路 板 孔
线 路 板 孔
定 位 杆定 位 杆
定 位 杆定 位 杆
定 位 杆
定 位定 位
定 位定 位
定 位
针针
针针
针
((
((
(
反基准侧反基准侧
反基准侧反基准侧
反基准侧
))
))
)
固 定 滑 道固 定 滑 道
固 定 滑 道固 定 滑 道
固 定 滑 道
螺 钉螺 钉
螺 钉螺 钉
螺 钉
22
22
2
螺 钉螺 钉
螺 钉螺 钉
螺 钉
11
11
1
拲堄
注意注意
注意注意
注意

3 . 3 . 2 . 43 . 3 . 2 . 4
3 . 3 . 2 . 43 . 3 . 2 . 4
3 . 3 . 2 . 4
线路板检测传感 器位置的 设定线路板检测传 感器位置的设定
线路板检测传感 器位置的 设定线路板检测传 感器位置的设定
线路板检测 传感器位置的设定
对应线路板尺寸,设定线路板检测传感器的位置。
F i g . 2 C 2 4 F i g . 2 C 2 4
F i g . 2 C 2 4 F i g . 2 C 2 4
F i g . 2 C 2 4
线路板检测传感器的配置线路板检测传感器的配置
线路板检测传感器的配置线路板检测传感器的配置
线路板检测传感器的配置
设 定 顺 序设 定 顺 序
设 定 顺 序设 定 顺 序
设 定 顺 序
(1) 拧松 L 传送带侧线路板检测传感器的螺丝钉。
F i g . 2 C 2 5 F i g . 2 C 2 5
F i g . 2 C 2 5 F i g . 2 C 2 5
F i g . 2 C 2 5
线路板检测传感器线路板检测传感器
线路板检测传感器线路板检测传感器
线路板检测传感器
((
((
(
俯视图俯视图
俯视图俯视图
俯视图
))
))
)
(2) 对应线路板尺寸,移动线路板检测传感器至 A 、B 或 C 位置。
Tabl e 2C5Table 2C5
Tabl e 2C5Table 2C5
Table 2C5
线 路 板 尺 寸线 路 板 尺 寸
线 路 板 尺 寸线 路 板 尺 寸
线 路 板 尺 寸
50 50
50 50
50
~~
~~
~
460460
460460
460
超过超过
超过超过
超过
4 6 04 6 0
4 6 04 6 0
4 6 0
~~
~~
~
5 6 05 6 0
5 6 05 6 0
5 6 0
超过超过
超过超过
超过
560560
560560
560
~~
~~
~
610610
610610
610
L 传送带侧线路板检测传感器 A 位置 B 位置 C 位置
单位: mm
F i g. 2 C 2 6F ig . 2 C 2 6
F i g. 2 C 2 6F ig . 2 C 2 6
F ig . 2 C 2 6
(3) 拧紧 线路板检 测传感 器的螺丝 钉。
0308-001 3-20
3 . 3 3 . 3
3 . 3 3 . 3
3 . 3
线路板 的定位线路板 的定位
线路板 的定位线路板 的定位
线路板 的定位
LL
LL
L
传送 带 侧线 路板检 测 传感 器传 送 带 侧线路 板 检 测传 感 器
传送 带 侧线 路板检 测 传感 器传 送 带 侧线路 板 检 测传 感 器
传送带 侧线 路 板检 测 传感 器
RR
RR
R
传送带 侧线 路 板检 测传感 器传 送 带 侧线路 板 检 测传感 器
传送带 侧线 路 板检 测传感 器传 送 带 侧线路 板 检 测传感 器
传送带 侧线 路 板检 测传 感器
LL
LL
L
传送带传送带
传送带传送带
传送带
RR
RR
R
传送带传送带
传送带传送带
传送带
X Y X Y
X Y X Y
XY
工作台工作台
工作台工作台
工作台
螺 丝 钉螺 丝 钉
螺 丝 钉螺 丝 钉
螺 丝 钉
传 感 器 安 装 板传 感 器 安 装 板
传 感 器 安 装 板传 感 器 安 装 板
传 感 器 安 装 板
线 路 板 检测 传 感 器线 路 板 检 测 传 感 器
线 路 板 检测 传 感 器线 路 板 检 测 传 感 器
线 路 板 检 测 传 感 器
AA
AA
A
位置位置
位置位置
位置
BB
BB
B
位置位置
位置位置
位置
CC
CC
C
位置位置
位置位置
位置
((
((
(
装置前侧装置前侧
装置前侧装置前侧
装置前侧
))
))
)