TCM-X110_X210_X300(D) 2_Operation(Supervisor).pdf - 第66页
( a ) 因 线 路 板 的 外 形 尺 寸 偏 差 , 向 X Y 工 作 台 上 机 械 的 定 位 精 密 度 产 生 偏 差 时 , 线 路 板 识 别 机 能 将 被 启 动 。 ( b ) 线 路 板 认 识 记 号 是 为 了 判 断 贴 装 线 路 板 位 置 而 生 成 的 记 号 。 因 此 , 认 识 记 号 和 贴 装 线 路 板 间 的 位 置 关 系 要 适 当 。 否 则 不 能 提 高 贴 装 精 密 …

2 . 4 2. 4
2 . 4 2. 4
2 . 4
线路板认识机能线路板认识机能
线路板认识机能线路板认识机能
线路板认识机能
通常在线路板上设定 2 处线路板认识记号,用线路板认识照相机检
测出与认识记号坐标数据的位置偏离量,并自动补正元件贴装位置
的机能。
有补正线路板整体的 “ 全体认识 ” 和补正每个重复线路板的 “ 分块认
识 ”。
分块认识中也有叫 “U n 全体 ” 的认识方法。
详细内容,请参照 “ 第三篇: 数据 第二节 2.3 操作数据
( A 0 2 ) 线路板认识数据 ” 章节。
F i g. 2 B 2 1F ig . 2 B 2 1
F i g. 2 B 2 1F ig . 2 B 2 1
F ig . 2 B 2 1
线 路 板 认 识 机 能 的 使 用 方 法线 路 板 认 识 机 能 的 使 用 方 法
线 路 板 认 识 机 能 的 使 用 方 法线 路 板 认 识 机 能 的 使 用 方 法
线 路 板 认 识 机 能 的 使 用 方 法
Tabl e 2B4Table 2B4
Tabl e 2B4Table 2B4
Table 2B4
步骤步骤
步骤步骤
步骤
可参考部分可参考部分
可参考部分可参考部分
可参考部分
1.规格调查 第一节 2 .装置规格
( 1) 第三篇: 数据 第二节 2.1 线路板的种类和基本数据
( 2) 第三篇: 数据 第二节 2.3 操作数据
A 0 2 线路板认识数据
A 0 3 线路板认识记号数据
2 . 线路板程序的编写 ( 3) 第三篇: 数据 第二节 2.5 贴装数据
C0 2 _0 2 分割线路板识别
( 4) 第三篇: 数据 第二节 3. 线路板程序编写例
3. 2 单个线路板( 有全体认识)
3. 4 重复线路板( 有分块认识)
2 . 4 2 . 4
2 . 4 2 . 4
2 . 4
线路板认识 机能线路板认识机能
线路板认识 机能线路板认识机能
线路板认识 机能
0308-001 2-14
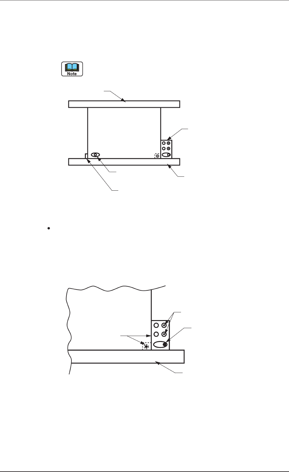
线 路 板 认 识 照 相 机线 路 板 认 识 照 相 机
线 路 板 认 识 照 相 机线 路 板 认 识 照 相 机
线 路 板 认识 照 相 机
线 路 板线 路 板
线 路 板线 路 板
线 路 板
线 路 板 认 识 记 号线 路 板 认 识 记 号
线 路 板 认 识 记 号线 路 板 认 识 记 号
线 路 板 认 识 记 号
全 体 认 识全 体 认 识
全 体 认 识全 体 认 识
全 体 认 识
分块认识分块认识
分块认识分块认识
分块认识
((
((
(
重复线路 板重 复线 路 板
重复线路 板重 复线 路 板
重复线路 板
))
))
)
线 路 板 认 识 记 号线 路 板 认 识 记 号
线 路 板 认 识 记 号线 路 板 认 识 记 号
线 路 板 认 识 记 号
线 路 板 认 识 记 号线 路 板 认 识 记 号
线 路 板 认 识 记 号线 路 板 认 识 记 号
线 路 板 认 识 记 号

(a) 因线路板的外形尺寸偏差,向 X Y 工作台上机械的定位
精密度产生偏差时,线路板识别机能将被启动。
(b) 线路板认识记号是为了判断贴装线路板位置而生成的
记号。
因此,认识记号和贴装线 路板间的位置关 系要适当。
否则不能 提高贴装精密度 。
2 . 4 2 . 4
2 . 4 2 . 4
2 . 4
线路板认识 机能线路板认识机能
线路板认识 机能线路板认识机能
线路板认识 机能
0308-001 2-15

( 2 )( 2 )
( 2 )( 2 )
( 2 )
孔 基 准孔 基 准
孔 基 准孔 基 准
孔 基 准
如下设置定位针( 基准侧) 、定位针( 反基准侧) 和定位杆,就完
成了孔基准。
使用超过 5 1 0 m m 的线路板时,请卸下定位针和定位杆。
F i g . 2 C 2 1 F i g . 2 C 2 1
F i g . 2 C 2 1 F i g . 2 C 2 1
F i g . 2 C 2 1
线路板定位线路板定位
线路板定位线路板定位
线路板定位
((
((
(
装置表面装置表面
装置表面装置表面
装置表面
))
))
)
孔 基 准 的 设 定 顺 序孔 基 准 的 设 定 顺 序
孔 基 准 的 设 定 顺 序孔 基 准 的 设 定 顺 序
孔 基 准 的 设 定 顺 序
(2-1) 设置定位针( 基准侧) 。
如下图,将定位针插入到 X Y 工作台上的定位栓( 右侧) 后,用
螺钉固定。
F i g . 2 C 2 2 F i g . 2 C 2 2
F i g . 2 C 2 2 F i g . 2 C 2 2
F i g . 2 C 2 2
定位针设置定位针设置
定位针设置定位针设置
定位针设置
0308-001 3-18
3 . 3 3 . 3
3 . 3 3 . 3
3 . 3
线路板 的定位线路板 的定位
线路板 的定位线路板 的定位
线路板 的定位
移动滑道移动滑道
移动滑道移动滑道
移动滑道
定 位 针定 位 针
定 位 针定 位 针
定 位 针
((
((
(
基准侧基准侧
基准侧基准侧
基准侧
))
))
)
固 定 滑 道固 定 滑 道
固 定 滑 道固 定 滑 道
固 定 滑 道
定 位 杆定 位 杆
定 位 杆定 位 杆
定 位 杆
定 位 针定 位 针
定 位 针定 位 针
定 位 针
((
((
(
反基准侧反基准侧
反基准侧反基准侧
反基准侧
))
))
)
固 定 滑 道固 定 滑 道
固 定 滑 道固 定 滑 道
固 定 滑 道
线路板线路板
线路板线路板
线路板
线 路 板线 路 板
线 路 板线 路 板
线 路 板
定位针定位针
定位针定位针
定位针
定 位 栓定 位 栓
定 位 栓定 位 栓
定 位 栓
螺 钉螺 钉
螺 钉螺 钉
螺 钉