NB168-配件手册.pdf - 第101页
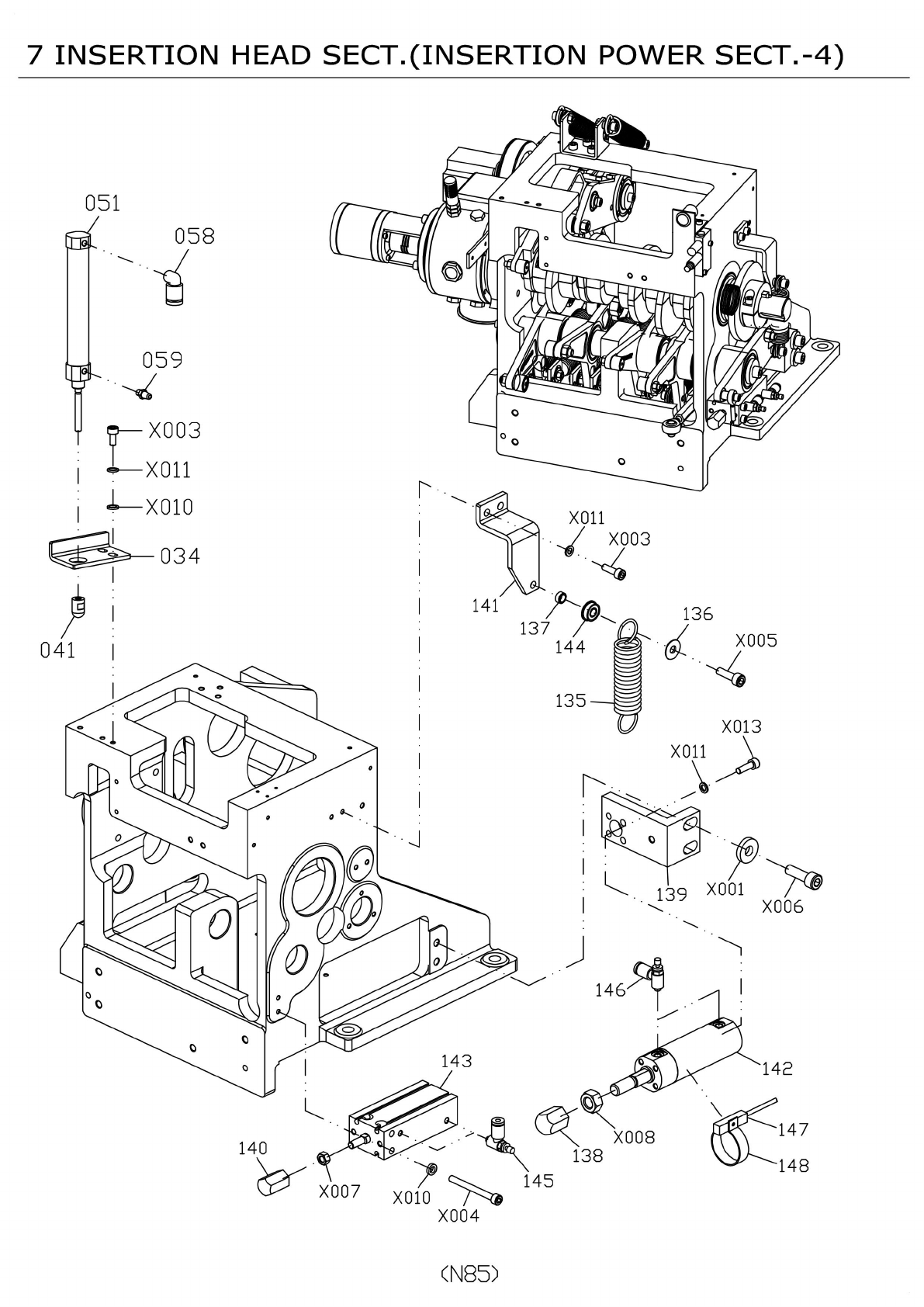
7 INSERTION HEAD SECT.(INSERTION POWER SECT.-4) 058 059 X003 r T X011 A 034 141 136 X005 041 135 0 X006 0 0 146 143 142 147 140 148 145 051 同 」 X010 1 QQ X001 137 144 X011 X003 X008 138 X0°7 X010 X004 X013 X011 (N85)

序号 料号 部品名称 数量 规格 备注
113 NB16842PJAAA MOTOR 1 MSMF042L1U2M
114 NB16807085AA SPRING 1
115 NB16807086AA PLATE 1
116 NB16807087AA BRACKET(SENSOR) 1
117 NB16807088AA PULLEY(TIMING) 1
118 NB16807089AA LEVER 1
119 NB168D0429AA WASHER 1
120 NB16807090AA SPRING 2
121 NB168D1517AA WASHER 4
122 NB16807091AA BRACKET 1
123 NB168D0409AA COLLAR 3
124 NB16807092AA COLLAR 1
125 NB16807093AA COLLAR 1
126 NB16807094AA PIN 1
127 NB16807124AA WASHER 1
136 NB16808077AA WASHER 1
128 NB168SX672AAA SENSOR 1 EE-SX672A
129 NB1686905ZZAA BEARING 2 6905ZZ
130 NB168CFN8RAA CAM FOLLOWER 1 CFN8R-A
131 NB168POS8LAA ROD END 1 P0S8L
132 NB168POS8AA ROD END 1 P0S8
133 NB168F696ZZAA BEARING 4 F696ZZIMC3PS2S
7 INSERTION HEAD SECT.(INSERTION POWER SECT.-3)
133 NB168F696ZZAA BEARING 4 F696ZZIMC3PS2S
134 NB16807096AA ROD 1
135 NB168624VZZAA BEARING 1 624VZZ
X001 NB168SH0310 SOKET HEAD CAP SCREW 2 M3-L10
X002 NB168SH0410 SOKET HEAD CAP SCREW 4 M4-L10
X003 NB168SW05 SPRING WASHER 1 5-8-H1.3
X004 NB168SH0416 SOKET HEAD CAP SCREW 1 M4-L16
X005 NB168SH0516 SOKET HEAD CAP SCREW 3 M5-L16
X006 NB168SH0616 SOKET HEAD CAP SCREW 4 M6-L16
X007 NB168SH0620 SOKET HEAD CAP SCREW 3 M6-L20
X008 NB168SH0645 SOKET HEAD CAP SCREW 1 M6-L45
X009 NB168SH0820 SOKET HEAD CAP SCREW 4 M8-L20
X011 NB168HEX06 HEXAGON NUT 2 M6
X012 NB168HEX08 HEXAGON NUT 2 M8
X013 NB168FG0821 FLAT WASHER 3 8-21-H3
X014 NB168HEX08L HEXAGON NUT 1 M8
X015 NB168FG0612 FLAT WASHER 3 6-12-H1.5
X016 NB168SH0306 SOKET HEAD CAP SCREW 2 M3-L6
X017 NB168FG0307 FLAT WASHER 4 3-7-H0.5
X018 NB168FG0409 FLAT WASHER 2 4-9-H1.0
X019 NB168SW04 SPRING WASHER 2 4-7-H1.0
N84

7
INSERTION
HEAD
SECT.(INSERTION
POWER
SECT.-4)
058
059
X003
r
T
X011
A
034
141
136
X005
041
135
0
X006
0
0
146
143
142
147
140
148
145
051
同
」
X010
1
QQ
X001
137
144
X011
X003
X008
138
X0°7
X010
X004
X013
X011
(N85)

序号 料号 部品名称 数量 规格 备注
135 NB16807097AA SPRING 1
136 NB168D1517AA WASHER 1
137 NB168D0409AA COLLAR 1
138 NB16807098AA BRACKET 1
139 NB16807099AA BRACKET(CYLINDER) 1
140 NB16807100AA BRACKET 1
141 NB16807101AA BRACKET 1
142 NB168C2525ZAA CYLINDER 1 CDG1BN25-25Z
143 NB168C2040DAA CYLINDER 1 CDU20-40D
144 NB168F696ZZAA BEARING 1 F696ZZIMC3PS2S
145 NB168ASM506AA SPEED CONTROLLER 2 AS1201F M5-06
146 NB168AS0106SAA SPEED CONTROLLER 2 AS2201F-01-06S
147 NB168DC73AA SWITCH 1 D-C73
148 NB168BMA2025AA FIXED BELT 1 BMA2-025
034 NB16807032AA CYLINDER BRACKET 1
041 NB168SR516AA BRACKET 1
051 NB168CDJ16AA CYLINDER 1 CDJ2B16-75Z-B
058 NB168KJL06M5AA SPEED CONTROLLER 1 KJL 06-M5
059 NB16807156AA AIR PURIFIER 1 M5
X001 NB168FG0821 FLAT WASHER 2 8-21-H3
X003 NB168SH0516 SOKET HEAD CAP SCREW 4 M5-L16
X004 NB168SH0550 SOKET HEAD CAP SCREW 2 M5-L50
7 INSERTION HEAD SECT.(INSERTION POWER SECT.-4)
X004 NB168SH0550 SOKET HEAD CAP SCREW 2 M5-L50
X005 NB168SH0620 SOKET HEAD CAP SCREW 1 M6-L20
X006 NB168SH0830 SOKET HEAD CAP SCREW 2 M8-L30
X007 NB168HEX06 HEXAGON NUT 1 M6
X008 NB168HEX08 HEXAGON NUT 1 M8
X010 NB168FG0510 FLAT WASHER 4 5-10-H2
X011 NB168SW05 SPRING WASHER 4 5-8-H1.3
X013 NB168SH0518 SOKET HEAD CAP SCREW 4 M5-L18
N86