NB168-配件手册.pdf - 第208页
序号 料号 部品名称 数量 规格 备注 001 NB16817001AA FRAME 1 002 NB16817002AA PLATE 1 003 NB16817003AA PLATE 1 005 NB16817021AA BRACKET 2 007 NB168P0615AA PIN 4 008 NB168EGH15AA LINEAR WAY 2 SSR15XV2SS+200LY 009 NB168PT410AA SENSOR 6 NB…

17 FEEDER CARRIAGE SECT.(TAPE FEEDER DRIVING SECT.-1)
005
016
014
A
、・.f
X002
X002
B
003
001
X002
xooy
008
002
i
—
X004
013
X002
003
008
A
007d
;
Oil
012
016
005
X004
X007
xooa/jl、
X007
Z
X004
X004
—
事
!
X003T
j
>
012
/
010
009
015
Oil
012
/
<<
X004
X007
015
009
X006
X006
X007
X004
(N191)

序号 料号 部品名称 数量 规格 备注
001 NB16817001AA FRAME 1
002 NB16817002AA PLATE 1
003 NB16817003AA PLATE 1
005 NB16817021AA BRACKET 2
007 NB168P0615AA PIN 4
008 NB168EGH15AA LINEAR WAY 2
SSR15XV2SS+200LY
009 NB168PT410AA SENSOR 6 NB100
010 NB16817013AA PLATE 2
011 NB16817015AA PLATE 2
012 NB16817018AA GASKET SEAL 4
013 NB16817019AA SILENCER 1 U-1/4-B L65
014 NB168CKT10AA FITTING 1 KQ2L 10-02S
015 NB168E39F1AA LENS UNIT 2 E39-F1
016 NB16817022AA COLLAR 4
X001 NB168SH0408 SOKET HEAD CAP SCREW 8 M4-L8
X002 NB168SH0412 SOKET HEAD CAP SCREW 28 M4-L12
X003 NB168SH0620 SOKET HEAD CAP SCREW 4 M6-L20
X004 NB168FG0412 FLAT WASHER 20 4-12-H1.5
X005 NB168FG0617 FLAT WASHER 4 6-17-H3
X006 NB168SH0412 SOKET HEAD CAP SCREW 4 M4-L25
X007 NB168SW04 SPRING WASHER 20 4-7-H1.0
17 FEEDER CARRIAGE SECT.(TAPA FEEDER DRIVING SECT.-1)
N192

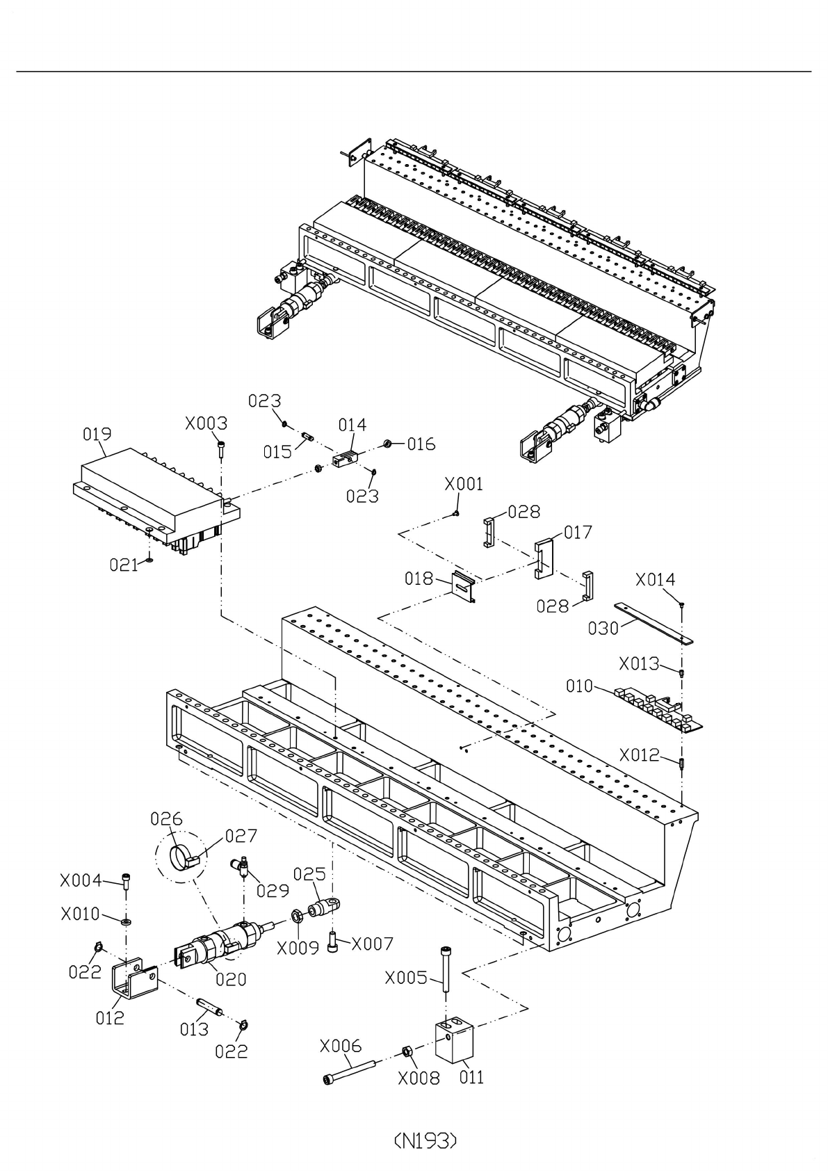
17 FEEDER CARRIAGE SECT.(TAPE FEEDER DRIVING SECT.-2)
019
015
/017
021
0185
X014
X012
026
027
X004
X010
022
X005
020
012
2
X009
卜
X007
014
.
+
016
013
7
022
028
尸
030
023
X003
\
X0137
010
X006
代
X008
011
X001
J
/028
、
*、•、
用
025
:
029
(N193)