NB168-配件手册.pdf - 第130页
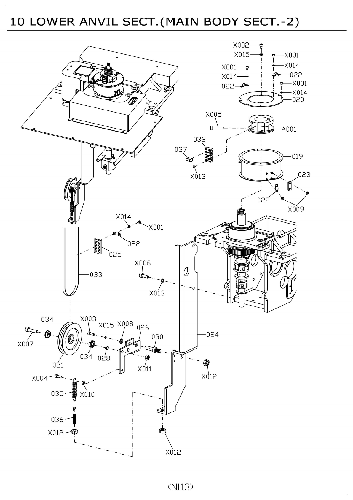
序号 料号 部品名称 数量 规格 备注 A001 NB16810058AA BLOCK 1 019 NB16810017AB COVER 1 020 NB16810018AA PLATE 1 021 NB16810019AA PULLEY 1 022 NB16810020AA BRACKET 8 023 NB16810021AA RETAINER 2 024 NB16810022AA BRACKET 1 025 NB16810023AA…

10
LOWER
ANVIL
SECT.
(MAIN
BODY
SECT.
-2)
X005
A001
032
037
019
023
X013
X009
X014
X001
022
025
X006
2
033
X016
034
024
X007
034
028
X011
X012
035
X010
L
1
036
—
X012^®
X012
I
X003
X015
X002
X015
J
y
—
X001
—
X014
补
一
022
j
X001
工
*
—
X014
020
X001
―
ft
X014
_
*
022^*
J
022
021
X004T^・“
X
00
8
coo
Ut_o
030
(NU3〉

序号 料号 部品名称 数量 规格 备注
A001 NB16810058AA BLOCK 1
019 NB16810017AB COVER 1
020 NB16810018AA PLATE 1
021 NB16810019AA PULLEY 1
022 NB16810020AA BRACKET 8
023 NB16810021AA RETAINER 2
024 NB16810022AA BRACKET 1
025 NB16810023AA PLATE(JOINT) 1
026 NB16810024AA LEVER 1
028 NB168D0409AA WASHER 1
030 NB16810027AA PIN 1
032 NB16810028AA HOLDER(TUBE) 1 TM-08
033 NB168X1545AA BELT(FLAT) 1 F-08WX1545
034 NB168F696ZZAA BEARING 2 F696ZZ
035 NB16810029AA SPRING 1
036 NB16810030AA POST 1
037 NB16810060AA JOINT 4
X001 NB168SH0305 SOKET HEAD CAP SCREW 16 M3-L5
X002 NB168SH0405 SOKET HEAD CAP SCREW 2 M4-L5
X003 NB168SH0410 SOKET HEAD CAP SCREW 1 M4-L10
X004 NB168SH0412 SOKET HEAD CAP SCREW 1 M4-L12
X005 NB168SH0525 SOKET HEAD CAP SCREW 2 M5-L25
10 LOWER ANVIL SECT.(MAIN BODY SECT.-2)
X005 NB168SH0525 SOKET HEAD CAP SCREW 2 M5-L25
X006 NB168SH0616 SOKET HEAD CAP SCREW 2 M6-L16
X007 NB168SH0625 SOKET HEAD CAP SCREW 1 M6-L25
X008 NB168FG0412 FLAT WASHER 1 4-12-H1.5
X009 NB168HEX03 HEXAGON NUT 8 M3
X010 NB168HEX04 HEXAGON NUT 1 M4
X011 NB168HEX06 HEXAGON NUT 1 M6
X012 NB168HEX08 HEXAGON NUT 3 M8
X013 NB168GS0305 FLAT SCREW 2 M3-L5
X014 NB168SW03 SPRING WASHER 16 3-4-H1.0
X015 NB168SW04 SPRING WASHER 3 4-7-H1.0
X016 NB168SW06 SPRING WASHER 2 6-9.5-H1.6
N114

10
LOWER
ANVIL
SECT.(MAIN
BODY
SECT.-3)
(N115)