NB168-配件手册.pdf - 第22页
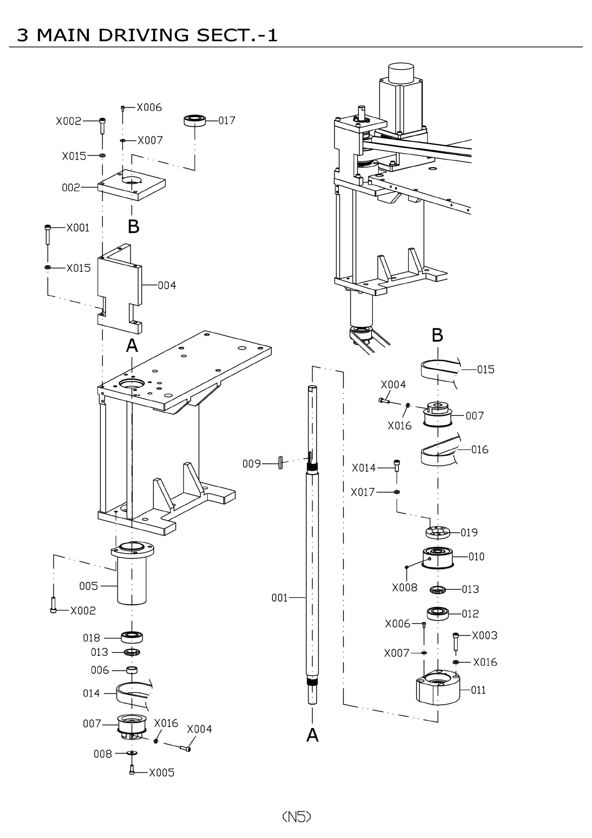
序号 料号 部品名称 数量 规格 备注 001 NB16803001AC SHAFT 1 002 NB16803002AA PLATE 1 004 NB16803004AA BRACKET 1 005 NB16803007AA FLANGE 1 006 NB16803008AA SPACER 1 007 NB16803003AA PULLEY 2 008 NB16803013AA WASHER 1 009 NB16803012AA KE…

3
MAIN
DRIVING
SECT.-l
009
—
卜
001
—
(N5)

序号 料号 部品名称 数量 规格 备注
001 NB16803001AC SHAFT 1
002 NB16803002AA PLATE 1
004 NB16803004AA BRACKET 1
005 NB16803007AA FLANGE 1
006 NB16803008AA SPACER 1
007 NB16803003AA PULLEY 2
008 NB16803013AA WASHER 1
009 NB16803012AA KEY 1
010 NB16803005AB PULLEY 1
011 NB16803006AA FLANGE 1
012 NB1686305ZZAA BEARING 1 6305ZZ
013 NB168FU05SCAA NUT 2 FU05SC(M25X1.5)
014 NB1685GT1875AA BELT 1 1875-5GT-25
015 NB1685GT1960AA BELT 1 1960-5GT-25
016 NB1685GT530AA BELT 1 530-5GT-40
017 NB1686304ZZAA BEARING 1 6304ZZ
018 NB1686205ZZAA BEARING 1 6205ZZ
019 NB16803036AA COLLAR 1
X001 NB168SH0840 SOKET HEAD CAP SCREW 3 M8-L40
X002 NB168SH0830 SOKET HEAD CAP SCREW 7 M8-L30
X003 NB168SH0835 SOKET HEAD CAP SCREW 4 M8-L35
X004 NB168SH0625 SOKET HEAD CAP SCREW 4 M6-L25
3 MAIN DRIVING SECT.-1
X004 NB168SH0625 SOKET HEAD CAP SCREW 4 M6-L25
X005 NB168SH0616 SOKET HEAD CAP SCREW 1 M6-L16
X006 NB168SH0408 SOKET HEAD CAP SCREW 5 M4-L08
X007 NB168FG0412 FLAT WASHER 5 4-12-H1.5
X008 NB168SS0606 SUNK SCREW 2 M6-L6
X014 NB168SH0522 SOKET HEAD CAP SCREW 4 M5-L22
X015 NB168SW08 SPRING WASHER 6 8-12.5-H2
X016 NB168SW06 SPRING WASHER 6 6-9.5-H1.6
X017 NB168SW05 SPRING WASHER 4 5-8-H1.3
N6

3
MAIN
DRIVING
SECT.-2
(N7)