npm-gpl.pdf - 第43页
NPM-GP/L 202 2.0 928 - 37 - ・ 由于从网板下面进行网板识别,识别标记需要在下面设置或者是在导通孔作成。 ・ 网板下面没有识别标记时,以开口部为基准进行位置调整。 ・ 对应最小基板尺寸,任何网板尺寸都是 50 × 50 mm 。 ・ NPM-GP/L 只有前侧基准。请注意没有后侧基准规格。 ・ 使用上述表格以外的网板、制版基准时,请与本公司联络。 ・ 请注意模板尺寸。如果在 Y 方向基板尺寸 + 单侧 75 m…

NPM-GP/L 2022.0928
- 36 -
7.
网板、印刷基板设计基准
7.1 网板规格
■
网板规格一览
※
1
如使用
29
英寸框以外的尺寸时,请选择「通用网板支架
(
选购件
)
」。
种
类
网板尺寸
制版基准
最大基板尺寸
X
方向
Y
方向
标准网板支架
29
英寸框
736 × 736 mm
中心
中心
510 × 510mm
前侧
510 × 460mm
29
英寸框
DEK
尺寸基准
(Max. 508 mm × 508 mm)
中心
510 × 510mm
前侧
510 × 508mm
通用网板支架
(
选购件
)
XL
尺寸框
※
1
750 × 750 mm
中心
中心
510 × 510mm
前侧
510 × 460mm
M
尺寸框
※
1
650 × 550 mm
横长
中心
350 × 300 mm
前侧
350 × 250mm
550 × 650 mm
纵长
中心
350 × 300 mm
前侧
350 × 250mm
600 × 550 mm
横长
中心
350 × 300 mm
前侧
350 × 250mm
29 × 23
英寸框
※
1
736 × 584 mm
横长
中心
510 × 300mm
前侧
584 × 736 mm
纵长
中心
350 × 510mm
前侧
350 × 460mm
23
英寸框
※
1
584 × 584 mm
中心
350 × 300mm
前侧

NPM-GP/L 2022.0928
- 37 -
・
由于从网板下面进行网板识别,识别标记需要在下面设置或者是在导通孔作成。
・
网板下面没有识别标记时,以开口部为基准进行位置调整。
・
对应最小基板尺寸,任何网板尺寸都是
50 × 50 mm
。
・
NPM-GP/L
只有前侧基准。请注意没有后侧基准规格。
・
使用上述表格以外的网板、制版基准时,请与本公司联络。
・
请注意模板尺寸。如果在
Y
方向基板尺寸+单侧
75 mm
以内范围有粘贴部分的的话,会导致基板和网板粘着不良,
影响印刷品质。
・
使用锡膏转载单元时,请注意模板尺寸。
Y
方向基板尺寸+单侧
75 mm
以内范围有粘贴部分的话,
锡膏转载单元会和网板之间会粘着不良,影响锡膏转载动作后网板上的锡膏余量。
※ 如使用
29
英寸框以外的尺寸时,请选择「通用网板支架
(
选购件
)
」。
推荐材料
・模版
:
硬度
: HV400
以上
材质
: SUS304
或者
SUS301
・网面
:
网孔尺寸
:
#
180
丝径
: 55 μm
材质
:
聚酯纤维
・铝框
:
厚度
: 3 mm
以上
※使用无纸化清理单元时的限制事项
请使用厚度超过
50μm
的网板。
使用网板厚度
50μm
以下、基板面半边缘网板、网板材质使用不锈钢以外的网板,
其中的任一情况请另行联系我们。(和通常的不锈钢网板的耐久性有所不同)
无粘贴部位
推荐范围
粘贴部位
75 mm
75 mm
基板尺寸

NPM-GP/L 2022.0928
- 38 -
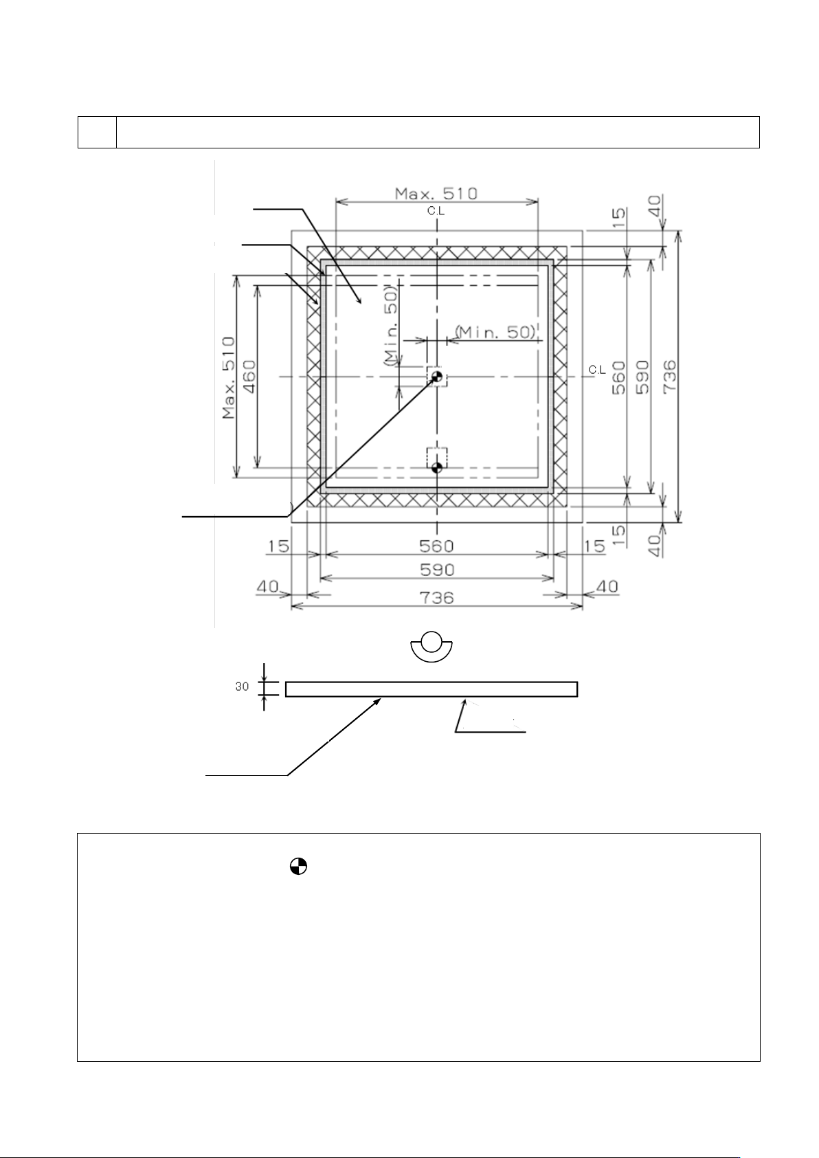
■
网板推荐尺寸
1
29
英寸框:
736 × 736 mm (
标准
)
(
单位
: mm)
Remarks
•
二点虚线显示基板的轮廓。
•
请将基板的中心或边缘位于符号
处进行制版。
网眼、金属组件都在相同位置。
•
网眼规格,整个面都为网眼。
•
请注意模板尺寸。
如果在
Y
方向基板尺寸+单侧
75 mm
以内范围有粘贴部分的话,
会导致基板和网板基板粘着不良,影响印刷品质。
•
网板框使用(
736 mm×736 mm
)。
•
使用比
80 µm
薄的网板时,请与本公司联络。
•
网板框外形公差为
: ±1.0 mm.
•
推荐导管厚度
: t=3.0 mm
•
使用上图以外基准的网板时,请与本公司联络。
作业人员侧
识别标记
在导通孔或者下面设置标记
(
必须在基板区域内
)
名
称
①メッシュ
(
コンビネーション部
)
②接着代
(
幅
: 15 mm)
③ステンシル、メッシュ
④基板外形
⑤製版基準
⑥スクリーン面
※
マスク枠材質
:
アルミパイプ
※
推奨パイプ肉厚
: t=3.0 mm
(
基板エリア内にあること
)
能够安装厚度 25 ~ 40
基准:中心(标准)
基准
金属
张力膜·网眼
网板面
粘着部分
铝铸物或者铝管制